Revolver head S15 (booster compatible)_20211119_035843.pdf - 第12页
Revolver head S15 (booster compatible) Page 12 / 20 19.11.2021

Revolver head S15 (booster compatible)
Page 11 / 20 19.11.2021

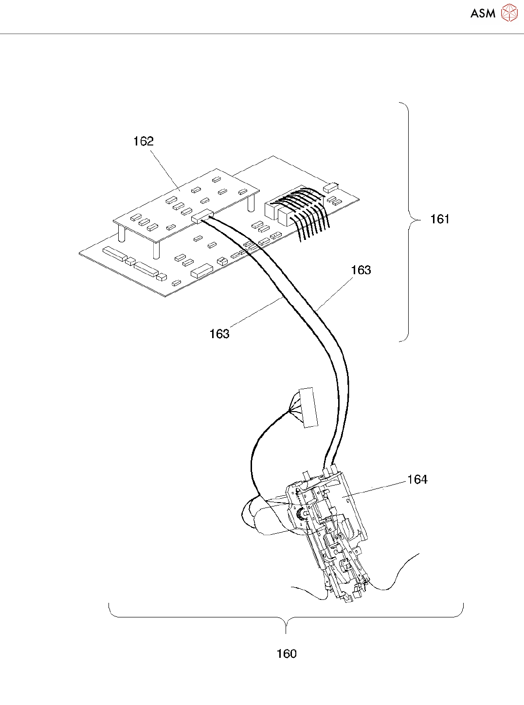
Revolver head S15 (booster compatible)
Page 12 / 20 19.11.2021

Revolver head S15 (booster compatible)
Page 13 / 20 19.11.2021
Pos. Item no. Description Part marking
00320833S01 COLLECT (&) PLACE HEAD S15
(BOOSTER COMP)OMP)
00316290-02 TRANSMITTER HOUSING SIPLACE
1 00201436-01 HOUSING
2 00201455S01 SCANNING UNIT DP-AXCES
AMPLFIER
3 00201438-01 RECEIVER STAR AXLE - AMPLIFIER
(PCB)
4 00303328-01 CABLE: AMPLIFIER BOARD -
CONV.BOARD HEAD
5 00303925-04 ROTATION DRIVE
6 00300126-04 HOUSING FOR ROTARY DRIVE
7 00300127-04 TOOTHED LEVER
8 00315945-01 BERO LOCKING WASHER
10 00300128-03 TOOTHED WHEEL FOR TURN UNIT
11 00300129S02 BELT WHEEL
12 00300131-01 AXCES FOR TURN UNIT
15 00327165S01 O-RING 19*1,5 E70 B243E
16 00327482S01 DC MOTOR WITH TACHO AND BELT
DI SC COMPLETE
17 00303945S01 PROXIMITY SWITCH INDUCTIVE
18 00300099-01 CABLE CONVERSION
BOARD/PIPETTE I ROTATE
19 00323190S01 MOTOR DC-COMPLETE
20 00201376-02 STAR
21 00201377-03 REVOLVING HEAD HOUSING
22 00303948-02 GUIDE SHAFT FOR STAR
23 00305664-01 WASHER
24 00303949-03 GUIDE SHAFT FOR STAR
25 00201389S02 BALL CAGE
26 00317525-01 GUIDE F.SLEEVE SUPPORT
27 00317527-01 GUIDE FOR STAR REVOLVING HEAD
28 00201458-01 RUBBER BUFFER
29 00201459-04 ADJUSTING PLATE
30 00327787S01 DC-MOTOR-TACHO-UNIT WITH DISK
31 00304708-03 TOOTHED LOCK WASHER Z=112
FOR STAR