KE-3020_KE-3020R-Rev07PDFA.pdf - 第125页
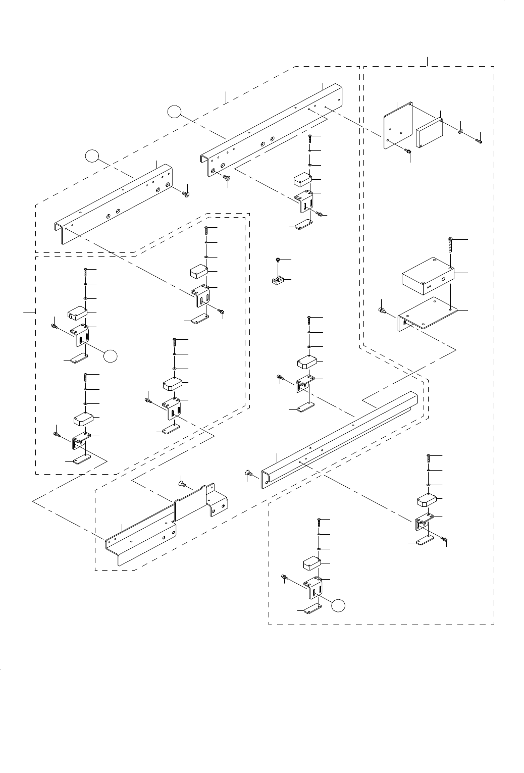
- 118 - REF.NO NOTE PART NO D E S C R I P T I O N 品 名 Qty 1 400-93605 SENSOR BR ASM センサブラケット組 1 2 400-93986 S_BR_FR センサブラケットFR (1) 3 400-93987 S_BR_FL センサブラケットFL (1) 4 400-93988 S_BR_RR センサブラケットRR (1) 5 400-93989 S_BR_RL…

- 117 -
59.FEEDER BANK COMPONENTS(3)
フィーダバンク関係(3)
4
3
5
6
6
6
7
8
10
11
12
12
13
15
14
14
15
13
11
16
16
2
27
6
9
1
19
24
26
25
20
24
26
25
22
21
24
26
25
22
22
22
18
23
23
23
23
24
26
25
A
A
29
33
35
34
31
32
B
30
33
35
34
31
32
36
B
36
17
37
38
39
40
41
42
43
44
45
28
27
27
27

- 118 -
REF.NO NOTE PART NO D E S C R I P T I O N
品 名
Qty
1 400-93605 SENSOR BR ASM
センサブラケット組
1
2 400-93986 S_BR_FR
センサブラケットFR
(1)
3 400-93987 S_BR_FL
センサブラケットFL
(1)
4 400-93988 S_BR_RR
センサブラケットRR
(1)
5 400-93989 S_BR_RL
センサブラケットRL
(1)
6 SM-1051052-TN PLATE SCREW M5 L=10
皿ねじ M5 L=10
(16)
7 HX-0029400-00 FIXED BASE
固定ベース
(6)
8 SL-4030691-SC SCREW M3 L=6
座金付きなべ小ねじ M3 L=6
(6)
9 400-92523 FEEDER DETECT SENSOR(EMISSION) ASM
フィーダ検出センサ投光組
(1)
10 400-92524 FEEDER DETECT SENSOR(RECEIVING) ASM
フィーダ検出センサ受光組
(1)
11 400-93991 S_BR_B
センサ_ブラケット_B
(2)
12 400-93993 NUT_PLATE
ナット_プレート
(2)
13 SM-6851602-TN BOLT
六角穴ボルト M2.5 L=16
(4)
14 WP-0280501-SC WASHER M2.6
平座金みがき丸 M2.6
(4)
15 WS-0270002-KN SPRING WASHER M2.6
ばね座金 M2.6
(4)
16 SL-6031092-TN SCREW
座金付き六角穴ボルト
(4)
17 400-93607 E BANK F SENSOR ASM
電動バンクフロントセンサ組
1
18 400-92525 E-FD-FLOAT(F)EMISSIN SENS ASM
電動フィーダ浮きセンサ(F)投光組
(1)
19 400-92526 E-FD-FLOAT(F)RECEIVE SENS ASM
電動フィーダ浮きセンサ(F)受光組
(1)
20 400-92529 E-FD-DETECT(F)EMISSIN SENS ASM
電動フィーダ検知センサ(F)投光組
(1)
21 400-92530 E-FD-DETECT(F)RECEIVE SENS ASM
電動フィーダ検知センサ(F)受光組
(1)
22 400-93991 S_BR_B
センサ_ブラケット_B
(4)
23 400-93993 NUT_PLATE
ナット_プレート
(4)
24 SM-6851602-TN BOLT
六角穴ボルト M2.5 L=16
(8)
25 WP-0280501-SC WASHER M2.6
平座金みがき丸 M2.6
(8)
26 WS-0270002-KN SPRING WASHER M2.6
ばね座金 M2.6
(8)
27 SL-6031092-TN SCREW
座金付き六角穴ボルト
(8)
28 400-93609 E BANK R SENSOR ASM
電動バンクリアセンサ組
1
29 400-92527 E-FD-FLOAT(R)EMISSIN SENS ASM
電動フィーダウキセンサ(R)投光組
(1)
30 400-92528 E-FD-FLOAT(R)RECEIVE SENS ASM
電動フィーダウキセンサ(R)受光組
(1)
31 400-93991 S_BR_B
センサ_ブラケット_B
(2)
32 400-93993 NUT_PLATE
ナット_プレート
(2)
33 SM-6851602-TN BOLT
六角穴ボルト M2.5 L=16
(4)
34 WP-0280501-SC WASHER M2.6
平座金みがき丸 M2.6
(4)
35 WS-0270002-KN SPRING WASHER M2.6
ばね座金 M2.6
(4)
36 SL-6031092-TN SCREW
座金付き六角穴ボルト
(4)
37 400-93990 S_BR_A
センサ_ブラケット_A
(1)
38 SL-6041092-TN SCREW
座金付き六角穴ボルト
(2)
39 SM-4043001-SF SCREW M4X30
なべねじ M4X0.7 L=30
(2)
40 400-93992 S_BR_C
センサ_ブラケット_C
(1)
41 SL-6031092-TN SCREW
座金付き六角穴ボルト
(2)
42 400-97588 REFLEX ARRAY SENSOR ASM
反射型アレイセンサ組
(1)
43 400-93804 REFLEKTOR
リフレクタ
(1)
44 SM-6031002-TN SCREW M3 L=10
六角穴ボルト M3 L=10
(2)
45 WP-0320501-SC WASHER M3
平座金 3.2X7X0.5
(2)

- 119 -
60.ACCESSORIES PART COMPONENTS
梱包添付品関係
26
22
23
9
29
13
12
17
16
18
15
14
19
24
25
27
11
30
32
34
28
1
10
20
33
21
31
5
4
2
3
36
7
7
35
8
37
39
6
40
38
43
42
41