P-0217-001.pdf - 第75页
0301-002 73 Key No . P AR T No. P AR T NAME Q’ty REMARKS NOTE P-5 40 1 630 1 10 8575 ASSY ,LEVER 1 755P--010-401 40 1 630 1 1 1 6433 ASSY ,LEVER 1 755K--010-401 40 2 630 101 4906 PIN,LOCA TE 1 1 755P--010-402 40 3 630 10…

0301-002
72
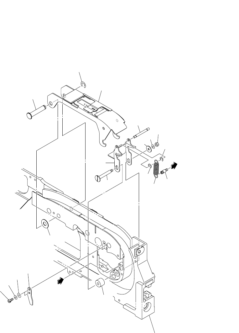
テープフィーダ TAPE FEEDER
PF-2410, 2411 PF-2410, 2411
Fig. P-5 サプレッサ部 Suppressor Section
402
407
405
425
406
426
427
427
411
See Fig.P-1
Key No.1
408
A
401
404
403
410
A
415
Fig.P-5
421
424
423
422

0301-002
73
Key No. PART No. PART NAME Q’ty REMARKS
NOTE
P-5
401 630 110 8575 ASSY,LEVER 1 755P--010-401
401 630 111 6433 ASSY,LEVER 1 755K--010-401
402 630 101 4906 PIN,LOCATE 1 1 755P--010-402
403 630 105 8450 COLLAR 1 1 755P--010-403
404 630 101 4913 PIN,LOCATE 1 1 755P--010-404
405 630 101 2506 COLLAR 1 1 755P--010-405
406 630 101 4920 LEVER 1 1 755P--010-406
407 630 101 4944 HOOK 1 1 755P--010-407
408 630 102 7517 PIN,LOCATE 1 1 755P--010-408
410 630 101 4951 COLLAR 1 1 755P--010-410
411 630 002 8720 SPRING,TENSION 1 1 755P--010-411
415 411 001 0003 RING E 4 1 1 755P--010-415
421 630 110 6007 PLATE 1 1 755P--010-421
422 630 012 3791 BOLT,HEX-SCT 2 2 755P--010-422
423 411 141 6606 WASHER SPR 2.5 2 2 755P--010-423
424 411 141 5708 WASHER F 2.5X5X0.5 2 2 755P--010-424
425 411 141 2806 WASHER SPR 3 1 1 755P--010-114
426 411 140 9905 NUT HEX 3 1 1 755P--010-116
427 411 000 9304 RING E 2 2 2 755P--010-119
PF-2410
PF-2411

0301-002
74
テープフィーダ TAPE FEEDER
PF-2410, 2411 PF-2410, 2411
Fig. P-6 カバーテープ巻取り部 Cover Tape Winding Section
501
See Fig.P-1
Key No.1
502
516
517
528
508
509
505
507
515
Fig.P-6