P-0201-001.pdf - 第21页

0209-003 1-4 ㇱຠ⇟ภ ㇱ ຠ ฬ ஻ ⠨ PART No . PART NAME REMARKS CT-0890L,TL CT-0891L,TL CT-0892L,TL CT-0893L,TL CT-0895L,TL CT-0896L,TL CT-0897L,TL CT-0898L,TL 1 630 060 1794 FRAM E( RL-0861L SUB ASSY ) 2 630 044 8313 PIN,GU I D…

100%1 / 90
0108-002
8mm ᏷࠹࡯ࡊࡈࠖ࡯࠳ 8mm TAPE FEEDER
Fig. 1-4 ᄢ࡝࡯࡞ࡎ࡞࠳ Large Reel Holder
RL-0861L RL-0861L
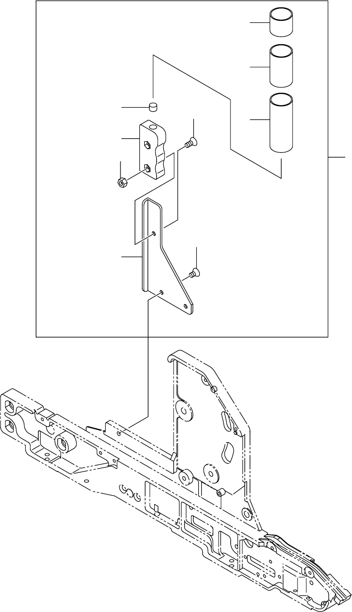
0209-003
1-4
ㇱຠ⇟ภ
PART No. PART NAME REMARKS
CT-0890L,TL
CT-0891L,TL
CT-0892L,TL
CT-0893L,TL
CT-0895L,TL
CT-0896L,TL
CT-0897L,TL
CT-0898L,TL
1 630 060 1794 FRAME(RL-0861L SUB ASSY)
2 630 044 8313 PIN,GUIDE(REEL BINDER) 671BL-01B-008
9 630 040 2124 BOLT,HEX-SCT(REEL HOLDER) 671BL-01B-009
10 411 004 6903 NUT HEX 6 M6-3 F
11 630 040 4647 PIN,GUIDE 671BL-01B-016
12 630 040 4630 HOOK 671BL-01B-015
13 630 040 4623 PIN,LOCATE 671BL-01B-013
14 411 002 2600 SCR FLT 3X6 M3X6 FLT
15 630 040 2551 LEVER 671BL-01B-011
16 630 050 6242 LEVER(ASSY BRAKE)
17 411 152 8101 SCR TRS 3X6 671BL-01H-004
17 -1 411 141 2806 WASHER SPR 3 SW3
18 411 001 0201 RING E 5 671BL-01H-003
19 630 045 5861 SPRING,TENSION 671BL-01B-014
2
2
1
1
1
1
1
1
1
1
1
3
ᵈᗧ
NOTE
1
1
⷗಴⇟
Key No.
ᢙ㊂
Q'ty
0209-003
8mm ᏷࠹࡯ࡊࡈࠖ࡯࠳ 8mm TAPE FEEDER
Fig. 1-6 TAG Assy TAG Assy
TG-0860, 0861, 0862 TG-0860, 0861, 0862
TG-0853, 0885, 0887 TG-0853, 0885, 0887
12-1
12
13
14
11
17
10
16
16-1
16-2