P-0201-001.pdf - 第39页

0108-002 2-6 ㇱຠ⇟ภ ㇱ ຠ ฬ ஻ ⠨ PART No . P ART NAME REMARKS CT-1290TS,TL CT-1291TS,TL CT-1292TS,TL 10 630 071 0601 ASSY,BRA CKET (TG-1260) 1 10 630 071 0618 ASSY,BRA CKET (TG-1261) 1 10 630 071 0632 ASSY,BRA CKET (TG-1252) …

100%1 / 90
0108-002
12mm ᏷࠹࡯ࡊࡈࠖ࡯࠳ 12mm TAPE FEEDER
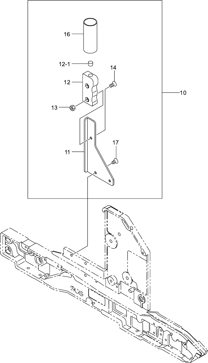
Fig. 2-6 TAG Assy TAG Assy
TG-1260, 1261, 1252 TG-1260, 1261, 1252
0108-002
2-6
ㇱຠ⇟ภ
PART No. PART NAME REMARKS
CT-1290TS,TL
CT-1291TS,TL
CT-1292TS,TL
10 630 071 0601 ASSY,BRACKET(TG-1260) 1
10 630 071 0618 ASSY,BRACKET(TG-1261) 1
10 630 071 0632 ASSY,BRACKET(TG-1252) 1
11 630 054 4800 BRACKET 1 1 1 671TG-01B-001
12 630 070 7601 BRACKET(GRIP) 1 1 1 671TG-01B-002
12 -1 630 085 1526 UNIT,I/O 1 1 1 671TG-01H-001
13 411 054 8506 NUT HEX 4 1 1 1 M4 F
14 411 113 4708 SCR FLT 4X10 1 1 1 M4X10 FLT
16 630 041 6206 TUBE,WIRING 1 671TG-01H-002
16 630 041 6237 TUBE,WIRING 1 671TH-01H-002
16 630 041 6213 TUBE,WIRING 1 582TJ-01H-002
17 411 140 7208 SCR FLT 4X6 2 2 2 M4X6 FLT
ᢙ㊂
Q'ty
ᵈᗧ
NOTE
⷗಴⇟
Key No.
(GRAY)
(ORANGE)
(GREEN)
GRAY
ORANGE
GREEN
0003-001
16mm ᏷࠹࡯ࡊࡈࠖ࡯࠳ 16mm TAPE FEEDER
Fig. 3-1 ࠞ࠮࠶࠻ࡏ࠺ࠖㇱ Cassette Body Section