00190867-01.pdf - 第9页
Nachrüst anleitung Waffl epack- W echsler W PW 3 (Mitnehmer) Ausgabe/Edition 08/96 Retrofitt ing Instructions for the Waffl epack Changer W PC 3 (Driver) S eite/Page 9 von/of 20 Abbildung 3: Vordere Plexiglasabdec kung

Nachrüstanleitung Wafflepack-Wechsler WPW 3 (Mitnehmer)
Ausgabe/Edition 08/96
Retrofitting Instructions for the Wafflepack Changer WPC 3 (Driver)
Seite/Page 8 von/of 20
Abbildung 2: Zuführachse, Murtfeldleiste

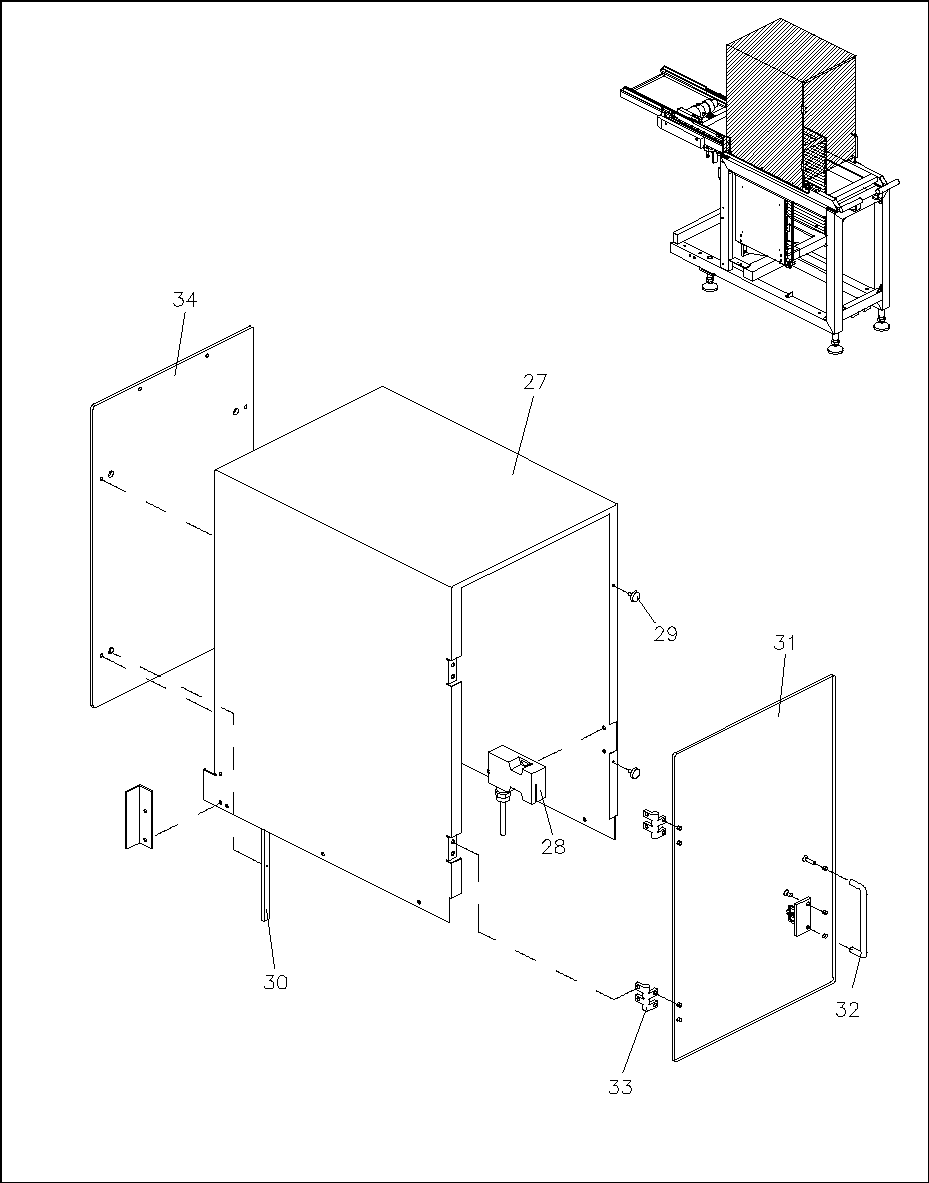
Nachrüstanleitung Wafflepack-Wechsler WPW 3 (Mitnehmer)
Ausgabe/Edition 08/96
Retrofitting Instructions for the Wafflepack Changer WPC 3 (Driver)
Seite/Page 9 von/of 20
Abbildung 3: Vordere Plexiglasabdeckung

Nachrüstanleitung Wafflepack-Wechsler WPW 3 (Mitnehmer)
Ausgabe/Edition 08/96
Retrofitting Instructions for the Wafflepack Changer WPC 3 (Driver)
Seite/Page 10 von/of 20
Abbildung 4: Zuführachse mit Synchronscheiben und Mitnehmer