P-252-004e.pdf - 第29页
27 MODEL FP-G300 R 1012-004 Key No. P AR T No. P AR T NAME Q’ty REMARKS New Code NOTE 1 6301469683 BASE 1 806FD-1 10-001 210A2586 2 6301469256 GUIDE 1 806FD-1 10-002 212A2357 3 6301469263 GUIDE 1 806FD-1 10-003 212A2358 …

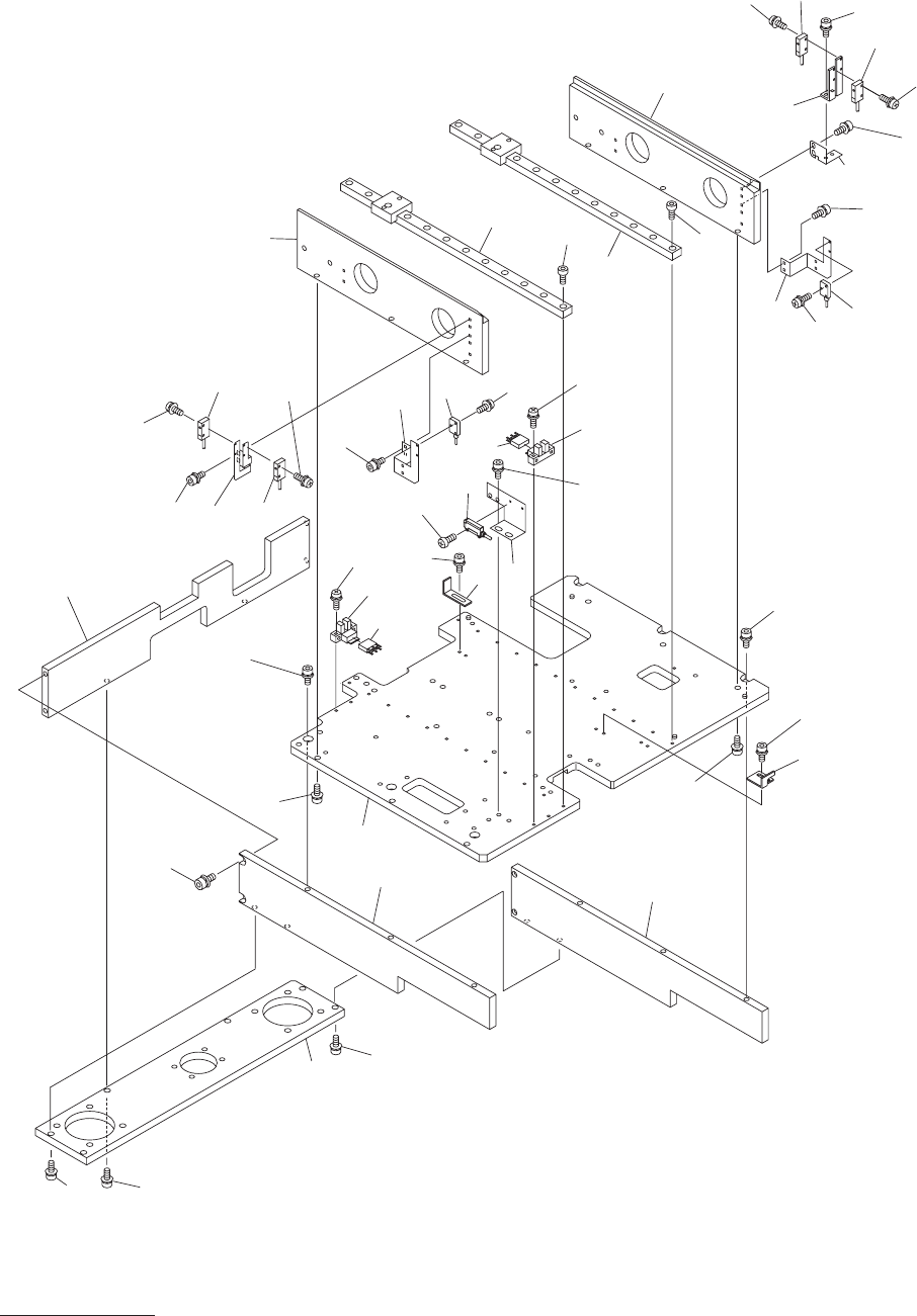
26
MODEL FP-G300R
0702-002
トラバース部
TRAVERSE SECTION
Fig. FD-1
トラバースベース
Traverse Base
13
3
28
44
29
37
2
28
34
36
29
19
20
40
27
11
19
20
1
10
28
55
.
61
.
66
51
.
63
.
68
55
.
61
.
66
57
.
62
.
67
51
.
63
.
68
54
.
61
.
66
13
57
.
62
.
67
52
.
64
.
69
56
51
.
63
.
68
54
.
61
.
66
51
.
63
.
68
51
.
63
.
68
51
.
63
.
68
55
.
61
.
66
51
51
53
.
65
.
70
28
53
.
65
.
70
51
.
63
.
68
33
55
.
61
.
66
5
6
7
4
58
.
65
.
70
58
.
65
.
70
58
.
65
.
70
58
.
65
.
70
58
.
65
.
70
58
.
65
.
70

27
MODEL FP-G300R
1012-004
Key No. PART No. PART NAME Q’ty REMARKS New Code
NOTE
1 6301469683 BASE 1 806FD-110-001 210A2586
2 6301469256 GUIDE 1 806FD-110-002 212A2357
3 6301469263 GUIDE 1 806FD-110-003 212A2358
4 6301448633 BASE 1 806FD-110-004 210A2536
5 6301448640 PLATE 1 806FD-110-005 21
1DB514
6 6301385853 PLATE 1 806FD-110-006 21
1DA756
7 6301448657 PLATE 1 806FD-110-007 21
1DB515
10 6301398754 PLATE 1 806FD-110-010 21
1DA956
11 6301442891 PLATE 1 806FD-110-011
211DB466
13 6301395364 GUIDE,LINEAR 2 806FD-110-103 222L0755
19 6300000252 SENSOR,PHOTO 2 B0101,B0102
806FD-110-109 23G10002
20 6300000269 SENSOR,PHOTO(CONNECTOR) 2 806FD-110-110 23G10003
27 6301395418 SENSOR,PELEC 1 B0621 806FD-110-127
23G00272
28 6301395425 SENSOR,PELEC 2 B0627,B628 806FD-110-128
23G00273
29 6301395432 SENSOR,PELEC 1 B0815 806FD-110-129
23G00274
33 6301407999 BRACKET 1 806FD-110-033 21
1FA214
34 6301452692 BRACKET 1 806FD-110-034 21
1FA759
36 6301444239 BRACKET 1 806FD-110-036 21
1FA642
37 6301444246 BRACKET 1 806FD-110-037 21
1FA643
40 6301452708 BRACKET 1 806FD-110-040 21
1FA760
44 6301452715 BRACKET 1 806FD-110-044 21
1FA761
51 6300007510 BOLT,HEX-SCT 38 M3X8 221A0006
52
6300007619 BOLT,HEX-SCT 2 M4X8 221A0016
53
6300007763 BOLT,HEX-SCT 6 M5X16 221A0031
54
4110392604 SCR PAN 2X6 4 M2X6 PAN 221E0483
55 4111406300 SCR PAN 2X8 8 M2X8 PAN 221E0484
56 4111129001 SCR PAN 2X10 2 M2X10 PAN 221E0479
57 4110407803 SCR PAN 3X12 4 M3X12 PAN 221E0489
58 6300007749 BOLT,HEX-SCT 16 M5X10 221A0029
61
4111412509 WASHER SPR 2 12 SW2 F 221H0276
62
4110864408 WASHER SPR 3 4 SW3 F 221H0280
63
4111412806 WASHER SPR 3 14 SW3 221H0281
64
4111412905 WASHER SPR 4 2 SW4 221H0284
65
4111416705 WASHER SPR 5 22 SW5 221H0287
66
4111413605 WASHER V 2X5X0.3 12 FW2 F 221H0307
67
4111191909 WASHER V 3X7X0.5 4 FW3 F 221H0311
68 4111413902 WASHER V 3X7X0.5 14 FW3 221H0312
69
4111414008 WASHER V 4X9X0.8 2 FW4 221H0315
70
4111414107 WASHER V 5X10X1 22 FW5 221H0318
FD-1

28
MODEL FP-G300R
0702-002
トラバース部
TRAVERSE SECTION
Fig. FD-2
トラバース駆動部
Traverse Driving Section
133
136
147
143
140
144
141
139
144
107
142
106
141
143
122
102
121
119
118
118
119
119
106
118
108
132
137
114
115
119
117
116
149
See Fig.FD-1
Key No.1
118
See Fig.FD-3
Key No.208
157
.
163
.
169
159
.
164
.
170
156
.
162
.
168
157
154
.
162
.
168
155
.
162
.
168
120
166
152
.
161
.
166
157
.
163
.
169
160
151
.
161
.
167
134
158
.
163
.
169