Parts List (Mechanical Parts).pdf - 第218页
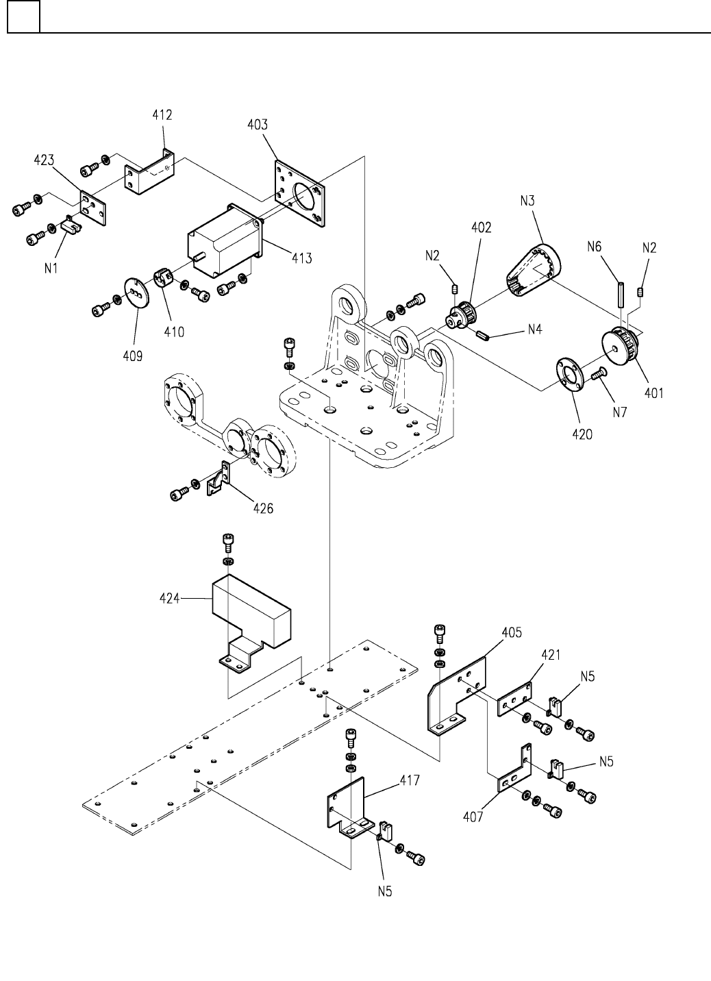
PART NAME REMARKS Q'TY 23 ローダ・アンローダ 部(自動 幅寄せ部 1) LOADER & UN LOADER SECT.(AUTO WIDTH CONTROL SEC T.-1) イラスト No. REF No. PART No. 部 品 品 番 個数 備 考 R 1 R 2 1 1083505400 AUTO WIDTH C ONTROL UNIT ジドウハバヨセユニット 1 40…

ローダ・アンローダ部(自動幅寄せ部1)
LOADER & UNLOADER SECT.(AUTO WIDTH CONTROL SECT.-1)
23
F10835-05-400-1
M199

PART NAME
REMARKS
Q'TY
23
ローダ・アンローダ部(自動幅寄せ部1)
LOADER & UNLOADER SECT.(AUTO WIDTH CONTROL SECT.-1)
イラスト
No.
REF
No.
PART No.
部 品 品 番 個数 備 考
R
1
R
2
1 1083505400
AUTO WIDTH CONTROL UNIT ジドウハバヨセユニット
1
401 101135550801
PULLEY(TIMING) プーリー(タイミング)
1
402 1017377102
PULLEY(TIMING) プーリー(タイミング)
1403 1017377103
PLATE プレート
1405 1099705405
BRACKET ブラケット
1
407 1017377107
BRACKET ブラケット
1
409 101737710902
PLATE プレート
1410 101737421301
GUIDE ガイド
1412 101737711201
BRACKET ブラケット
1
413 1083505413
MOTOR モータ
1417 1099705417
BRACKET ブラケット
1420 1017377120
PLATE プレート
1
421 1017377121
PLATE プレート
1
423 1017377123
PLATE プレート
1424 1099705424
COVER カバー
1426 1099705426
PLATE プレート
P914SA1
1
N 1 N310P914SA1
SENSOR センサ
M4X5,STEEL,P.C
2
N 2 XXE4C5FP
HEX. SOCKET SET SCREW ロッカクアナツキトメネジ
T5-10-50
1N 3 N641T51050
BELT(TIMING) ベルト(タイミング)
2X16,STEEL
1N 4 XPL2A16WFW
SPRING PIN スプリングピン
P914S1
3
N 5 N310P914S1
SENSOR センサ
2X35,STEEL
1
N 6 XPL2A35WFW
SPRING PIN スプリングピン
M4X8,+,STEEL,Z.C.T
4N 7 XSS4+8FY
FLUSH HEAD SCREW サラコネジ
M200
F10835-05-400-1

ローダ・アンローダ部(自動幅寄せ部2)
LOADER & UNLOADER SECT.(AUTO WIDTH CONTROL SECT.-2)
23
F10835-05-400-2
M201