NPM-TT_Parts list ( mechanical ).pdf - 第301页
Ref No. Remark s R 1 Q'ty 40 ノズルチェンジャー(3ノズルヘッド):NPM-W Nozzle Changer(3 Noz zle H ead):NPM -W イラスト No. Part No. 品 名 品番 数量 R 2 パーツリスト Kit N o . キット品 番 Kit Name キット名称 N610119861AA Part Nam e 備 考 セクションNo. PARTS LIST Sec…

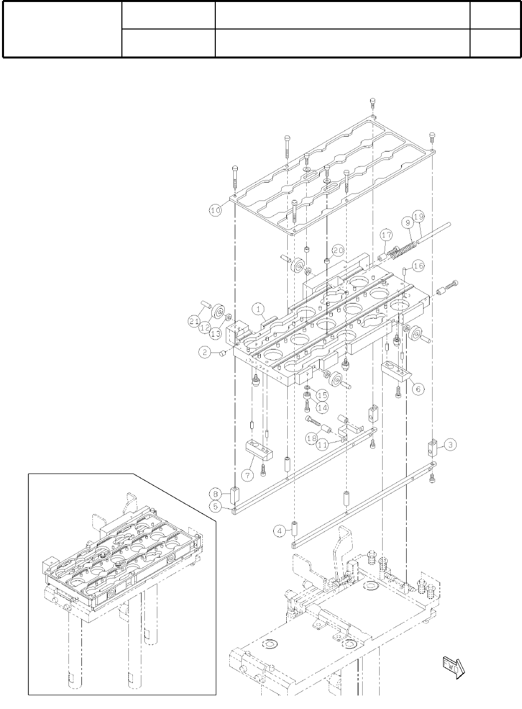
40
ノズルチェンジャー(3ノズルヘッド):NPM-W
Nozzle Changer(3 Nozzle Head):NPM-W
パーツレイアウト
Ki
t
N
o
.
キット
品番
Kit Name
キット名称
N610119861AA
セクションNo.
PARTS LAYOUT
Section No.
--
O137
( KN610119861AA-03 )

Ref
No.
Remarks
R
1
Q'ty
40
ノズルチェンジャー(3ノズルヘッド):NPM-W
Nozzle Changer(3 Nozzle Head):NPM-W
イラスト
No.
Part No.
品 名品番 数量
R
2
パーツリスト
Kit N
o
.
キット品
番
Kit Name
キット名称
N610119861AA
Part Name
備 考
セクションNo.
PARTS LIST
Section No.
R
3
BASE
1
1 N210142859AB
STOPPER
1
2 N210106832AB
BLOCK
2
3 N210142860AA
COLLAR
3
4 N210092629AA
GUIDE
2
5 N210142861AA
BLOCK
1
6 N210092268AD
BLOCK
1
7 N210092269AC
BLOCK
1
8 N210103604AB
SPRING
1
9 N210143616AA
SHUTTER
1
10 N210142862AD
GUIDE
1
11 N210100268AA
BEARING
4
12 KXF0AB1AA00 634ZZ1MC3
SPACER
4
13 N510030561AA CB-402E
BEARING
4
14 N510039650AA 693T12AZZMC3
SPACER
4
15 N510030918AA CB-301E
PIN
34
16 N510020589AA MMS3-8
SPACER
2
17 N510019914AA CB-308E
SPACER
2
18 N510020196AA CB-310E
PIN
1
19 N510020605AA MMS4-50
WASHER
2
20 N510056884AA 87FWSSB-D5.5-V3.5-T3.5
PIN
4
21 XPJ4A12FR Parallel pin 4X12 m6A Steel Quenched
O138
--
( KN610119861AA-03 )

41-A
ラインカメラユニット:NPM
Line Camera Unit:NPM
パーツレイアウト
Ki
t
N
o
.
キット
品番
Kit Name
キット名称
N610067528AC
セクションNo.
PARTS LAYOUT
Section No.
--
O139
( KN610067528AC-09-1 )