KE-3010A_KE-3010AC_KE-3020VA_KE-3020VRA-Rev09.pdf - 第133页
- 126 - NOTE( 注記 ) #01....FOR 3010 ACL 3010 ACL 用 REF.NO NOTE PART NO D E S C R I P T I O N 品 名 Qty 1 E2501-729-AA0-D FEEDER BANK AS M. フィーダバンク組 1 2 E2501-729-0B0 FEEDER BANK (30) COMPL. フイ−ダバンク結合 (1) 3 E2502-729-000 PLA…

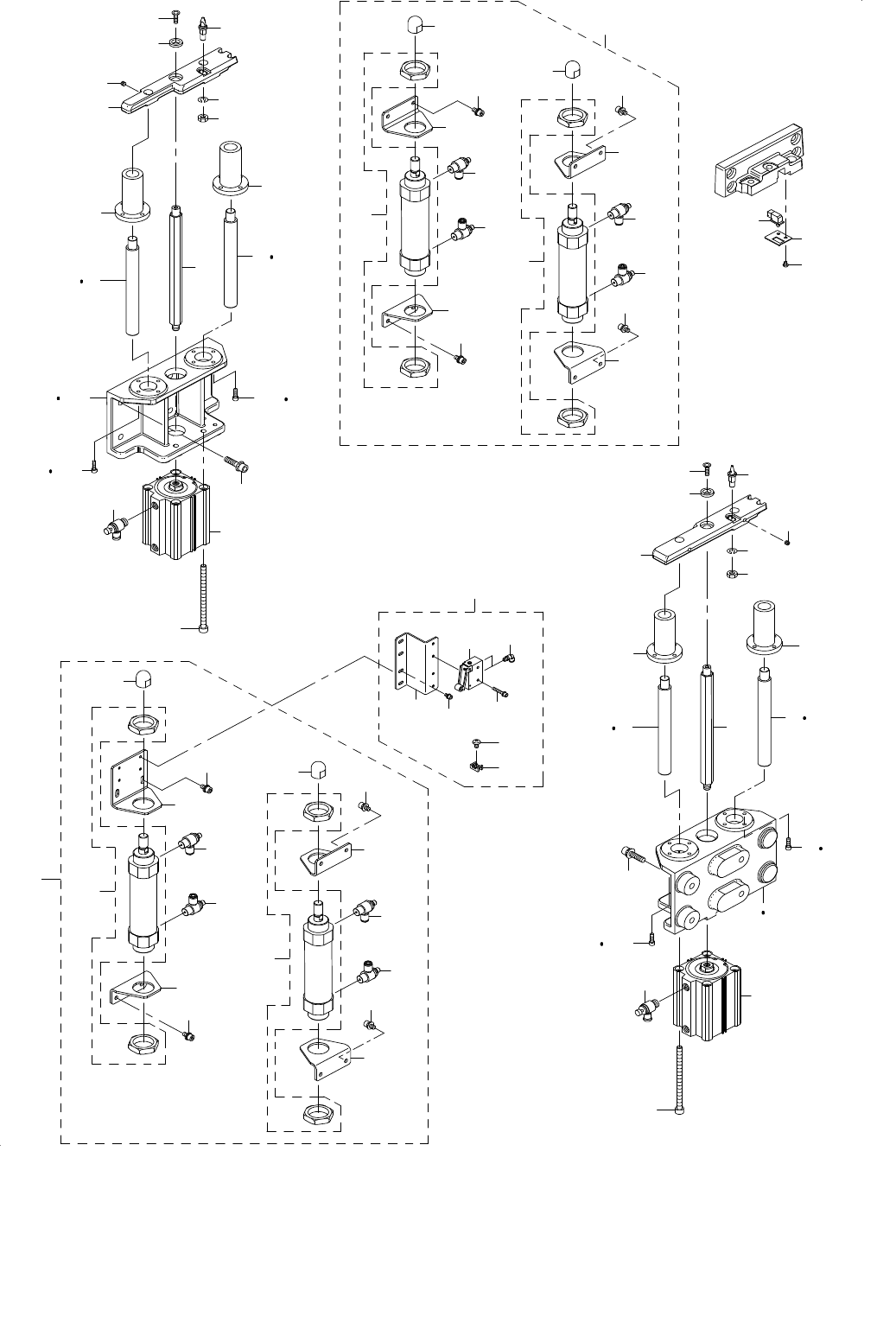
- 125 -
63.M FIXED BANK UNIT COMPONENTS
メカ固定バンクユニット関係
38
42
39
41
35
35
40
43
38
41
36
37
34
43
36
37
34
33
55
56
58
57
46
51
54
53
52
45
51
50
50
49
47
48
24
19
15
6
5
3
22
16
16
21
8
7
9
31
29
23
2
31
30
23
11
18
17
1
A
11
10
26
27
25
26
27
25
14
13
20
12
4
22
16
16
7
21
9
8
35
42
40
39
35
59 70
44 73
64 71
60
59
44
65
66
68
64 71
67
69
28 72
32
74
63 66
62
61
32
60
28
67

- 126 -
NOTE( 注記 ) #01....FOR 3010ACL 3010 ACL 用
REF.NO NOTE PART NO D E S C R I P T I O N
品 名
Qty
1 E2501-729-AA0-D FEEDER BANK ASM.
フィーダバンク組
1
2 E2501-729-0B0 FEEDER BANK (30) COMPL.
フイ−ダバンク結合
(1)
3 E2502-729-000 PLATE STAND L
プレートスタンドL
(1)
4 E2503-729-000 PLATE STAND R
プレートスタンドR
(1)
5 E2515-729-000 FIXING PLATE (30)
フィクシングプレート
(1)
6 E2516-729-000 NUMBER PLATE
ナンバプレート
(1)
7 E2505-729-0A0 MARK ASM.
マーク組
(2)
8 E2601-725-000 MARK
マーク
(1)
9 E2505-729-000 MARK BASE
マークベース
(1)
10 E2504-729-000-A LOCK SHAFT (30)
ロックシャフト
(1)
11 E2513-729-000-A FIXING PLATE B (30)
フィクシングプレートB
(4)
12 E2608-721-000 PLATE SUPPORT
プレートサポート
(4)
13 E2609-721-000 BANK LOCATE PIN A
バンクロケートピンA
(1)
14 E2610-721-000 BANK LOCATE PIN B
バンクロケートピンB
(1)
15 400-98252 POSITION LABEL
ポジションラベル
(1)
16 SM-8041402-TP SCREW M4X0.7 L=14
止めねじ M4X0.7 L=14
(4)
17 SM-6040802-TN SCREW M4X0.7 L=8
六角穴ボルト M4X0.7 L=8
(17)
18 SL-6031292-TN SCREW M3 L=12
座金付き六角穴ボルト M3 L=12
(12)
19 SL-6041292-TN SCREW M4 L=12
座金付き六角穴ボルト M4 L=12
(5)
20 SL-6041692-TN SCREW M4 L=16
座金付き六角穴ボルト M4 L=16
(8)
21 SL-6041292-TN SCREW M4 L=12
座金付き六角穴ボルト M4 L=12
(4)
22 SL-6052092-TN SCREW M5 L=20
座金付き六角穴ボルト M5 L=20
(4)
23 SM-4040655-SN SCREW M4X0.7 L=6
なべ小ねじ M4 L=6
(8)
24 SM-6030552-KS SCREW
平ねじ M3 L=5
(5)
25 NM-6080003-SC NUT M8X1.25 TYPE3
六角ナット M8X1.25 3種
(2)
26 WP-0841601-SC WASHER M8
平座金みがき丸 M8
(2)
27 WS-0820002-KN SPRING WASHER M8
ばね座金 M8
(2)
28 401-47428 HOD_COVER
HODカバー
2
29 SM-6062002-TN SCREW M6 L=20
六角穴ボルト M6 L=20
2
30 WS-0610002-KN SPRING WASHER M6
ばね座金 M6
2
31 NM-6060003-SC NUT M6
六角ナット M6
2
32 SL-4030691-SC SCREW M3 L=6
座金付きなべ小ねじ M3 L=6
4
33 401-47411 BANK_SUPPORT_UNIT
バンクサポート組
1
34 401-09098 BANK SUP A
バンクサポートA
(2)
35 SL-6104042-TN SCREW M10 L=40
座金付き六角穴ボルト M10 L=40
(16)
36 SL-6104042-TN SCREW M10 L=40
座金付き六角穴ボルト M10 L=40
(8)
37 WP-1052001-SC WASHER 10
平座金みがき丸 M10
(8)
38 401-47412 BANK_SUP_B_L_ASM
バンクサポートB_L組
(2)
39 401-47413 BANK_SUP_B_L
バンクサポートB_L
(1)
40 E2623-721-000 BANK LOCATE BUSH B
バンクロケートブッシュB
(1)
41 401-47415 BANK_SUP_B_R_ASM
バンクサポートB_R組
(2)
42 401-47416 BANK_SUP_B_R
バンクサポートB_R
(1)
43 E2623-721-000 BANK LOCATE BUSH B
バンクロケートブッシュB
(1)
44 401-47198 M_CONNECTOR_PLATE_R
MコネクタプレートR
2
45 400-93831 DRIVE CYLINDER UNIT
ドライブシリンダユニット
1
46 SM-4861001-SC SCREW M2.6 L=10
なべ小ねじ M2.6 L=10
(4)
47 400-00575 DRIVE CYLINDER L
ドライブシリンダL
(1)
48 400-00576 DRIVE CYLINDER R
ドライブシリンダR
(1)
49 400-93843 DRIVER_SUPPORT
ドライバサポート
(1)
50 SL-6052092-TN SCREW M5 L=20
座金付き六角穴ボルト M5 L=20
(6)
51 SL-6051292-TN SCREW M5 L=12
座金付き六角穴ボルト M5 L=12
(2)
52 400-23687 DRIVE CYLINDER CABLE
ドライブシリンダーケーブル
(2)
53 PV-1303050-00 3-PORT SOLENOID VALVE
3ポート電磁弁
(80)
54 400-23687 DRIVE CYLINDER CABLE
ドライブシリンダーケーブル
(4)
55 E2634-721-0A0 DRIVER BRACKET SUPPORT A ASM.
ドライバブラケットサポ−トA組
2
56 E2634-721-000 DRIVER BRACKET SUPPORT A
ドライバブラケットサポートA
(2)
57 SL-6052092-TN SCREW M5 L=20
座金付き六角穴ボルト M5 L=20
(4)
58 SL-6053592-TN SCREW M5 L=35
座金付き六角穴ボルト M5 L=35
(4)
59 SL-4030691-SC SCREW M3 L=6
座金付きなべ小ねじ M3 L=6
4
60 400-93799 HOLE PLUGS HP18
ホールプラグ HP18
2
61 E2904-700-000 SOCKET
ソケット
1
62 PJ-3010651-06 FEMALE UNION
メスユニオン
1
63
#01
401-60009 CONNECTOR_COVER_ME
コネクタカバーME
1
64 400-93799 HOLE PLUGS HP18
ホールプラグ HP18
2
65 E2904-700-000 SOCKET
ソケット
1
66 401-60009 CONNECTOR_COVER_ME
コネクタカバーME
2
67 400-81751 B_COVER_SCREW
Bカバースクリュウ
8
68 PJ-3010651-06 KNIFE UNION
メスユニオン
1
69
#01
400-81751 B_COVER_SCREW
Bカバースクリュウ
4
70
#01
SL-4030891-SC SCREW M3 L=8
座金付きなべ小ねじ M3 L=8
2
71
#01
400-93799 HOLE_PLUGS_HP18
ホールプラグ HP18
2
72
#01
401-47428 HOD_COVER
HODカバー
1
73
#01
401-47198 M_CONNECTOR_PLATE_R
MコネクタプレートR
1
74
#01
SL-4030691-SC SCREW M3 L=6
座金付きなべ小ねじ M3 L=6
2

- 127 -
64.BANK LIFTER UNIT COMPONENTS
バンクリフタユニット関係
5
5
12
9
28
43
20
19
42
8
23
8
23
41
41
21
21
22
23
22
23
33
32
31
6
7
6
7
6
7
6
7
17
18
16
15
14
13
30
29
11
10
4
24
25
27
3
40
35
36
36
37
37
38
39
39
1 2
26
38
37
37
36
36
35
39
39
50
50
45
46
46
47
47
49
44
50
50
49
47
48
46
46
45
51
52
53
54
55
56
57
58
34