Mechanical Parts List.pdf - 第166页
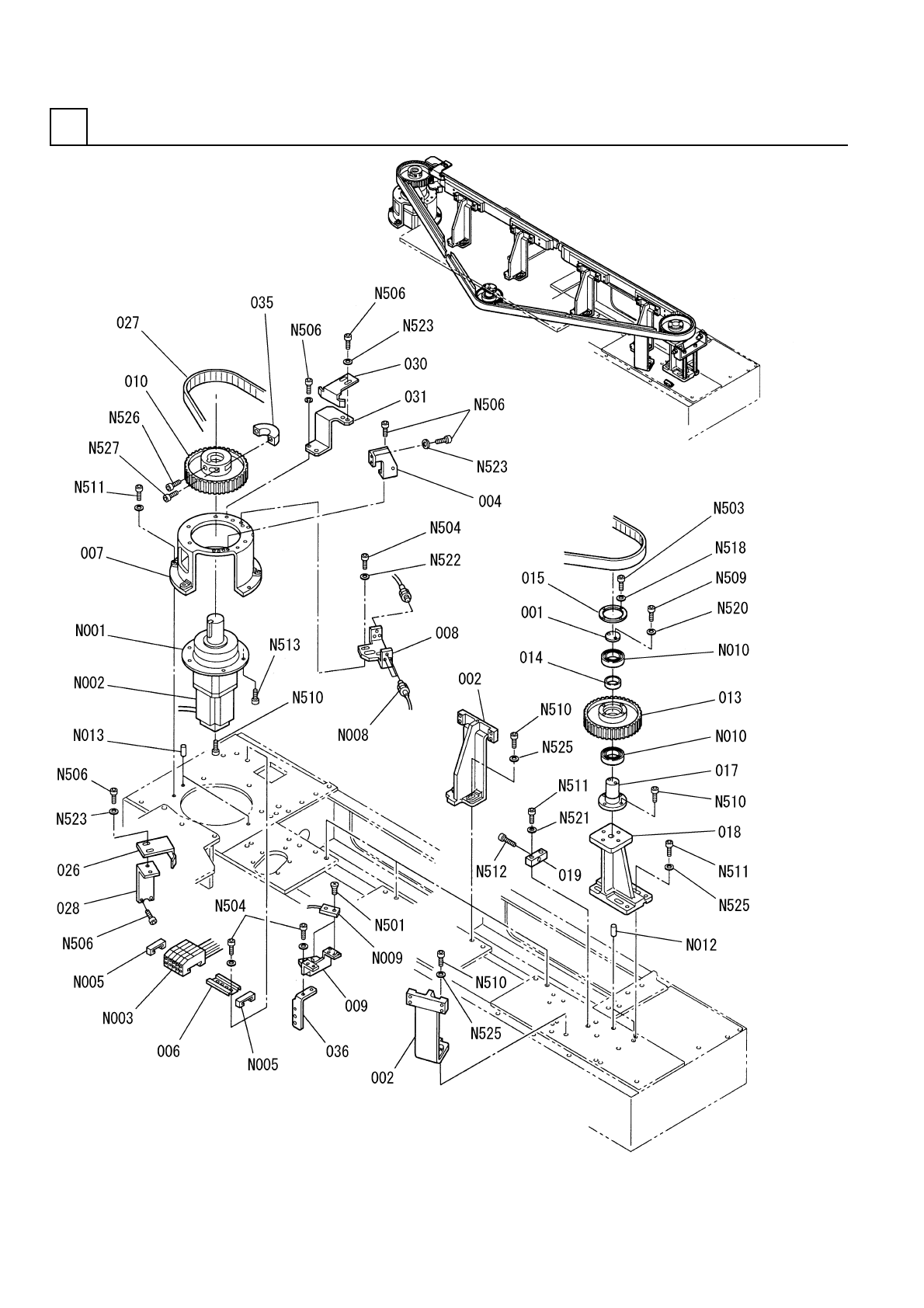
部品搬送部( 1) PARTS TRANSFER SECT.(1 ) 19 FN610074162AA_02-1 M149

PART No.
イラスト
No.
REF
No.
PART NAME
REMARKS
Q'TY
18
部品ボックス部(ガイド部)
PARTS BOX SECT.(GUIDE SECT.)
部 品 名 品 番 個数 備 考
R
1
R
2
1 N610085105AA
PARTS BOX UNIT ブヒンボックスユニット
3
001 N210103935AA
GUIDE ガイド
1
002 N210103936AA
GUIDE ガイド
M5X12-10.9 A2J (Trival
8
N501
N510017390AA
HEX. SOCKET HEAD CAP BOLT ロッカクアナツキボルト
M5
6
N502
N510020100AA
WASHER ザガネ
5 10H A2J (Trivalent)
2
N503
N510018499AA
ROUND PLAIN WASHER ミガキマルヒラザガネ
M148
FN610085105AA_00

部品搬送部(1)
PARTS TRANSFER SECT.(1)
19
FN610074162AA_02-1
M149

PART No.
イラスト
No.
REF
No.
PART NAME
REMARKS
Q'TY
19
部品搬送部(1)
PARTS TRANSFER SECT.(1)
部 品 名 品 番 個数 備 考
R
1
R
2
1 N610074162AA
PARTS TRANSFER UNIT ブヒンハンソウユニット
1
001 X02G35101
COLLAR カラー
5
002 N210088843AC
BRACKET(GUIDE) ブラケット(ガイド)
1004 N210088836AD
BRACKET ブラケット
1006 X02G35111
RAIL レール
1
007 N210096423AD
BRACKET(MOTOR) ブラケット(モータ)
1
008 N210097489AA
BRACKET(SENSOR) ブラケット(センサ)
1009 N210090100AA
BRACKET(SENSOR) ブラケット(センサ)
1010 X02P26005
PULLEY(TIMING) プーリー(タイミング)
1
013 X01A35005
PULLEY(TIMING) プーリー(タイミング)
1014 X01A35006
COLLAR カラー
1015 X01A35008
COLLAR カラー
1
017 X01A35012A
SHAFT シャフト
1
018 N210088854AA
BRACKET(TENSION) ブラケット(テンション)
1019 X01A3501601
BLOCK ブロック
1026 N210088848AA
GUIDE ガイド
1
027 N210088858AA
BELT ベルト
1
028 N210088845AB
BRACKET(GUIDE) ブラケット(ガイド)
1030 N210099191AA
GUIDE ガイド
1031 N210099192AA
BRACKET(GUIDE) ブラケット(ガイド)
1
035 X02P26006
NUT ナット
1
036 N210107432AA
BRACKET ブラケット
ANFJS-L30-SV-9
1
N001
N510040173AA
GEAR HEAD ギヤーヘッド
MDMA202P1C S
1
N002
MDMA202P1C
MOTOR モータ
E3X-NA11
4
N003
N310E3XNA11
AMPLIFIER アンプ
PFP-M
2
N005
N322PFPM
PLATE プレート
E32-TC200
3
N008
N310E32TC200
SENSOR センサ
E32-T16P S
1
N009
N310E32T16P
SENSOR センサ
6008ZZ
2
N010
XLC6008ZZ
BALL BEARING ボールベアリング
12X20,m6A,STEEL
2
N012
XPK12A20FW
PARALLEL PIN ヘイコウピン
6X20,m6A,STEEL
6
N013
XPJ6A20FW
PARALLEL PIN ヘイコウピン
M3X8-4.8 A2J (Trivalen
4
N501
N510018161AA
FLUSH HEAD SCREW サラコネジ
M4X10-10.9 A2J (Trival
4
N503
N510017344AA
HEX. SOCKET HEAD CAP BOLT ロッカクアナツキボルト
M4X12-10.9 A2J (Trival
6
N504
N510017346AA
HEX. SOCKET HEAD CAP BOLT ロッカクアナツキボルト
M5X12-10.9 A2J (Trival
10
N506
N510017390AA
HEX. SOCKET HEAD CAP BOLT ロッカクアナツキボルト
M6X16-10.9 A2J (Trival
2
N509
N510017433AA
HEX. SOCKET HEAD CAP BOLT ロッカクアナツキボルト
M8X25-10.9 A2S (Trival
18
N510
N510017474AA
HEX. SOCKET HEAD CAP BOLT ロッカクアナツキボルト
M8X30-10.9 A2J (Trival
11
N511
N510017475AA
HEX. SOCKET HEAD CAP BOLT ロッカクアナツキボルト
M8X60-10.9 A2J (Trival
1
N512
N510017486AA
HEX. SOCKET HEAD CAP BOLT ロッカクアナツキボルト
M12X30-10.9 A2J (Triva
4
N513
N510017189AA
HEX. SOCKET HEAD CAP BOLT ロッカクアナツキボルト
4 10H A2J (Trivalent)
4
N518
N510018497AA
ROUND PLAIN WASHER ミガキマルヒラザガネ
6 10H A2J (Trivalent)
2
N520
N510018501AA
ROUND PLAIN WASHER ミガキマルヒラザガネ
8 10H A2J (Trivalent)
2
N521
N510018503AA
ROUND PLAIN WASHER ミガキマルヒラザガネ
Thich washer for M4
2
N522
N510020099AA
WASHER ザガネ
Thich washer for M5
8
N523
N510020100AA
WASHER ザガネ
Thick washer for M8
14
N525
N510020102AA
WASHER ザガネ
M6X12-45H A2J (Trivale
1
N526
N510018449AA
HEX. SOCKET SET SCREW ロッカクアナツキトメネジ
M8X40-10.9 A2J (Trival
2
N527
N510017478AA
HEX. SOCKET HEAD CAP BOLT ロッカクアナツキボルト
M150
FN610074162AA_02-1