JX-350-Rev04.pdf - 第76页

- 71 - 36. HMS COMPONENTS HMS 関係 4 1 2 3

100%1 / 112
- 70 -
REF.NO NOTE PART NO D E S C R I P T I O N
品 名
Qty
1 401-47460 FPI_F_ASM
FPIフロント組
1
2 401-14948 FPI F SUB ASM
FPIフロントサブ組
(1)
3 401-10740 FPI BR B
FPIブラケットB
(1)
4 401-10741 FPI COVER B
FPIカバーB
(1)
5 SM-6030402-TN SCREW M3X4
六角穴付きボルト M3X4
(9)
6 WP-0320501-SC WASHER M3
平座金 M3
(4)
7 E6025-729-0A0 FPI COVER U20 ASM
FPIカバーU20組
(1)
8 E6025-729-000 FPI COVER U20
FPIカバーU20
(1)
9 E6028-729-000 FPI PLATE U20
FPIプレート20
(1)
10 SM-6030402-TN SCREW M3X4
六角穴付きボルト M3X4
(2)
11 400-94870 HARNESS CLAMP A
ハーネスクランプA
(2)
12 SM-6030402-TN SCREW M3X4
六角穴付きボルト M3X4
(2)
13 WP-0320501-SC WASHER M3
平座金 M3
(2)
14 E8626-729-0A0 FPI LED BOARD ASM.
FPI LED基板組
(4)
15 SM-5030801-SC SCREW M3X0.5 L=8
バインド小ねじ M3X0.5 L=8
(8)
16 E2143-715-000 TIMER SPACER A
タイマスペーサA
(8)
17 E4901-760-000 POLY SLIDER THRUST WASHER
ポリスライダスラストワッシャ
(8)
18 E6033-729-000 FPI INSULATION SHEET
FPI絶縁シート
(0.2)
19 401-47456 FPI_BR_F
FPIブラケットF
(2)
20 SL-6051292-TN SCREW M5 L=12
座金付き六角穴ボルト M5 L=12
(4)
21 SL-6061292-TN SCREW M6 L=12
座金付き六角穴ボルト M6 L=12
(2)
22 401-14947 FPI_R_ASM
FPIリア組
1
23 401-14949 FPI_R_SUB_ASM
FPIリアサブ組
(1)
24 401-10740 FPI BR B
FPIブラケットB
(1)
25 401-10741 FPI COVER B
FPIカバーB
(1)
26 SM-6030402-TN SCREW M3X4
六角穴付きボルト M3X4
(9)
27 WP-0320501-SC WASHER M3
平座金 M3
(4)
28 E6025-729-0A0 FPI COVER U20 ASM
FPIカバーU20組
(1)
29 E6025-729-000 FPI COVER U20
FPIカバーU20
(1)
30 E6028-729-000 FPI PLATE U20
FPIプレート20
(1)
31 SM-6030402-TN SCREW M3X4
六角穴付きボルト M3X4
(2)
32 400-94870 HARNESS CLAMP A
ハーネスクランプA
(2)
33 SM-6030402-TN SCREW M3X4
六角穴付きボルト M3X4
(2)
34 WP-0320501-SC WASHER M3
平座金 M3
(2)
35 E8626-729-0A0 FPI LED BOARD ASM.
FPI LED基板組
(4)
36 SM-5030801-SC SCREW M3X0.5 L=8
バインド小ねじ M3X0.5 L=8
(8)
37 E2143-715-000 TIMER SPACER A
タイマスペーサA
(8)
38 E4901-760-000 POLY SLIDER THRUST WASHER
ポリスライダスラストワッシャ
(8)
39 E6033-729-000 FPI INSULATION SHEET
FPI絶縁シート
(0.2)
40 401-10739 FPI_BR_R
FPIブラケット_R
(2)
41 SL-6051292-TN SCREW M5 L=12
座金付き六角穴ボルト M5 L=12
(4)
42 SL-6061292-TN SCREW M6 L=12
座金付き六角穴ボルト M6 L=12
(2)
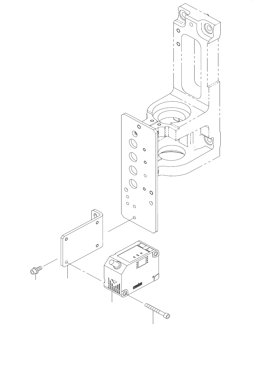
- 71 -
36. HMS COMPONENTS
HMS 関係
4
1
2
3
- 72 -
REF.NO NOTE PART NO D E S C R I P T I O N
品 名
Qty
1 SM-6032502-TN SCREW M3 L=25
六角穴ボルト M3 L=25
2
2 401-61645 HMS_BR_B
HMS_ブラケット_B
1
3 401-46354 HMS CABLE ASM
HMSケーブル組
1
4 SL-6030892-TN SCREW M3 L=8
座金付き六角穴ボルト M3 L=8
2