JX-350-Rev04.pdf - 第80页
- 75 - 38. NOZZLE ASSEMBLY & SU PPORT PIN COMPONENTS ノズルアッセンブリ・サポートピ ン関係 3 46 5 12 789 10

- 74 -
REF.NO NOTE PART NO D E S C R I P T I O N
品 名
Qty
1 400-45984 SOT CHECK BASE
SOTチェックベース
1
2 401-61642 SOT_CHECK_BASE_SPACER
SOT_検査台_ベース_スペーサ
1
3 SM-1031001-SC SCREW M3X0.5 L=10
皿小ねじ M3X0.5 L=10
2
4 PJ-3010405-05 HALF UNION
ハーフユニオン
1
5 401-47666 SOT_VALVE_20VA_ASM
SOTバルブ20VA組
1
6 PV-1305410-00 3-PORT SOLENOID VALVE
3ポート電磁切替弁
(1)
7 PX-0505010-00 SILENCER
消音器
(1)
8 PJ-3010405-05 HALF UNION
ハーフユニオン
(1)
9 PJ-3040605-02 ELBOW UNION 6XM5
エルボ ユニオン 6XM5
(1)
10 SM-6031202-TN SCREW M3X12
六角穴ボルト M3X12
(2)
11 401-46942 CAL_VALVE_BRKT
CALバルブブラケット
(1)
12 PF-0100030-A0 AIR SUCTION FILTER
エア サクション フィルタ
(4)
13 SM-1030601-SC SCREW M3X6
皿ねじ M3X6
(2)
14 BT-0400251-EA URETHANE TUBE BLUE 4X2.5
ポリウレタン チューブ 青 4X2.5
(0.08)
15 SL-6030892-TN SCREW M3 L=8
座金付き六角穴ボルト M3 L=8
2
16 PJ-3080600-03 UNION Y
ユニオンワイ
1
17 BT-0600400-EC URETHANE TUBE BLUE 6X4
ポリウレタン チューブ 青 6X4
0.15
18 BT-0400251-EA URETHANE TUBE BLUE 4X2.5
ポリウレタン チューブ 青 4X2.5
0.25
19 400-44524 PORTABLE DVD-ROM CD-R/RW DRIVE
ポータブルDVD−ROM CD−R/RWドライブ
1
20 400-52558 USB MEMORY
USBメモリ
1
21 400-71517 OPTION HOLDER ASSY
オプションホルダ組
1
22 400-93827 OPTION_HOLDER
オプションホルダ
(1)
23 SL-4040891-SC SCREW M4X8
座金付きなべ小ねじ M4 L=8
(2)

- 75 -
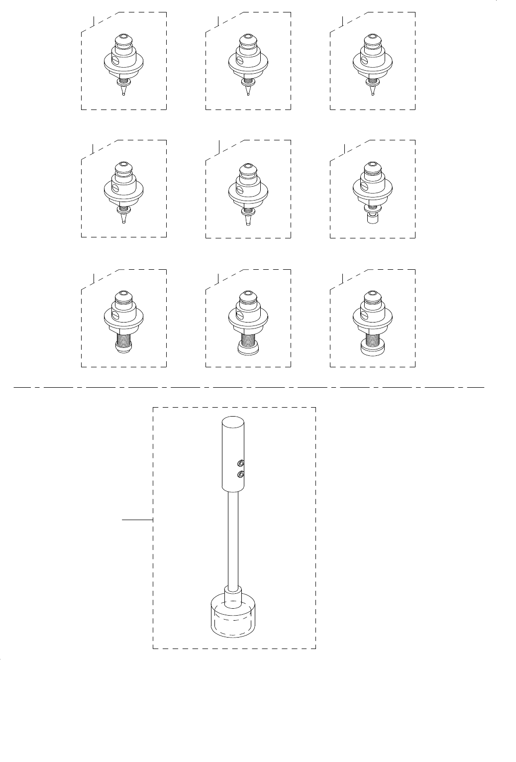
38. NOZZLE ASSEMBLY & SUPPORT PIN COMPONENTS
ノズルアッセンブリ・サポートピン関係
3
46
5
12
789
10

- 76 -
NOTE( 注記 ) *NOZZLE ASM. ONLY CAN BE SOLD TO GUARANTEE ACCURACY.
ノズルは、精度保証のため、組部品のみ販売。
REF.NO NOTE PART NO D E S C R I P T I O N
品 名
Qty
1 400-11046 NOZZLE ASSEMBLY 500
ノズルアッセンブリ500
1
2 400-01339 NOZZLE ASSEMBLY 501
ノズルアッセンブリ501
1
3 400-01340 NOZZLE ASSEMBLY 502
ノズルアッセンブリ502
1
4 400-01341 NOZZLE ASSEMBLY 503
ノズルアッセンブリ503
1
5 400-01342 NOZZLE ASSEMBLY 504
ノズルアッセンブリ504
1
6 400-01343 NOZZLE ASSEMBLY 505
ノズルアッセンブリ505
1
7 400-01344 NOZZLE ASSEMBLY 506
ノズルアッセンブリ506
1
8 400-01345 NOZZLE ASSEMBLY 507
ノズルアッセンブリ507
1
9 400-44239 NOZZLE ASSEMBLY 508C
ノズルアッセンブリ508C
1
10 401-38011 BACK_UP_PIN_LED_ASM
バックアップピン_LED組
1