KE-3010A_KE-3010AC_KE-3020VA_KE-3020VRA-Rev08.pdf - 第106页
- 99 - 50. MINI PAT & SOT CHE CK TABLE COMPONENTS ミニパト・SOT 検査台関係 1 1 5 4 2 17 6 16 15 10 11 9 13 8 12 14 14 7 3

- 98 -
REF.NO NOTE PART NO D E S C R I P T I O N
品 名
Qty
1 400-47171 LCD BRACKET R
LCDブラケットR
1
2 SL-6041092-TN SCREW M4 L=10
座金付き六角穴ボルト M4 L=10
4
3 400-47170 LCD BRACKET F
LCDブラケットF
1
4 SL-6041092-TN SCREW M4 L=10
座金付き六角穴ボルト M4 L=10
4
5 SD-0640246-SP HINGE SCREW D=6.35 H=2.4
段ねじ D=6.35 H=2.4
2
6 161-87007 WING BOLT
蝶ボルト
1
7 WP-0641601-SC WASHER M6
平座金みがき丸 M6
1
8 WS-0610002-KN SPRING WASHER M6
ばね座金 M6
1
9 401-58158 15INCH LCD MONITOR
15インチ LCDモニタ
1
10 401-47627 ASM_KEYBOARD_UNIT
キーボードユニット_組
1
11 SL-4030691-SC SCREW M3 L=6
座金付きなべ小ねじ M3 L=6
(2)
12 401-23713 KB CLAMP
KBクランプ
(1)
13 401-36976 KB_BRACKET
キーボードブラケット
(1)
14 401-23194 USB KEY BOARD SP ASM
USBキーボードSP組
(1)
15 SL-6041092-TN SCREW M4 L=10
座金付き六角穴ボルト M4 L=10
2
16 401-41515 USB SELECT PCB ASM
USBセレクタ基板組
1
17 SL-4030691-SC SCREW M3 L=6
座金付きなべ小ねじ M3 L=6
4
18 401-47142 SWITCH_PANEL_USB_CONN_BR
スイッチパネルUSBコネクタブラケット
1
19 SL-4021091-SC SCREW M2 L=10
座金付きなべ小ねじ
2
20 401-48260 USB CABLE 3M
USBケーブル 3M
1
21 HA-0055300-10 LENS GREEN
レンズ 緑
2
22 HA-0055300-2A BEZEL
ベゼル
2
23 E5348-033-100 CABLE PROTECTOR 106MM
ブッシュ
0.16
24 401-47576 USB_SELECTOR_BR
USBセレクタブラケット
1

- 99 -
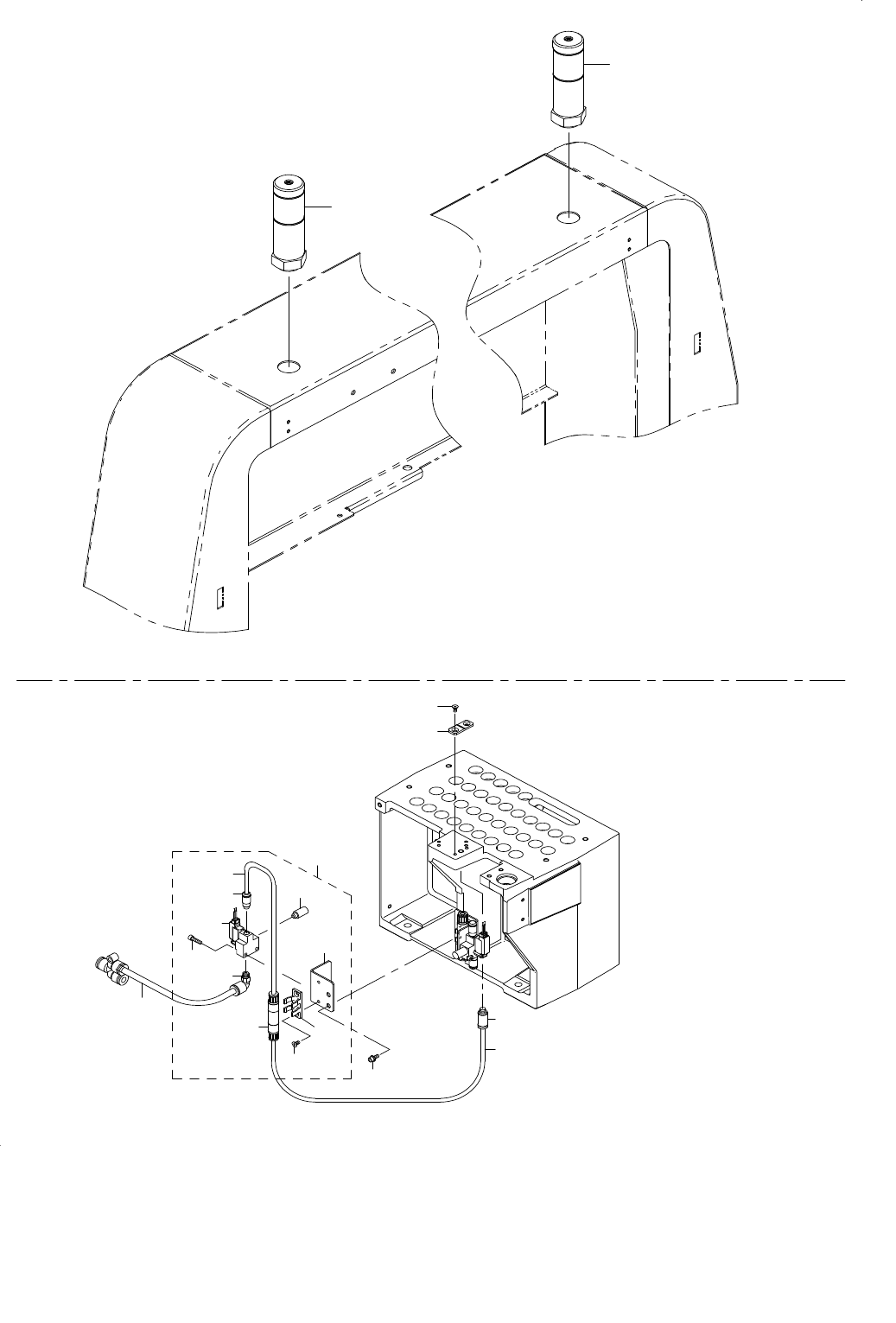
50.MINI PAT & SOT CHECK TABLE COMPONENTS
ミニパト・SOT 検査台関係
1
1
5
4
2
17
6
16
15
10
11
9
13
8
12
14
14
7
3

- 100 -
REF.NO NOTE PART NO D E S C R I P T I O N
品 名
Qty
1 400-48055 MINI PATLITE ASM
ミニパトライト組
2
2 BT-0600400-EC URETHANE TUBE BLUE 6X4
ポリウレタン チューブ 青 6X4
0.15
3 BT-0400251-EA URETHANE TUBE BLUE 4X2.5
ポリウレタン チューブ 青 4X2.5
0.25
4 400-45984 SOT CHECK BASE
SOTチェックベース
1
5 SM-1030601-SC SCREW M3 L=6
皿ねじ M3X0.5 L=6
2
6 PJ-3010405-05 HALF UNION
ハーフユニオン
1
7 401-47666 SOT_VALVE_20VA_ASM
SOTバルブ 20VA組
1
8 PV-1305410-00 3-PORT SOLENOID VALVE
3ポート電磁切替弁
(1)
9 PX-0505010-00 SILENCER
消音器
(1)
10 PJ-3010405-05 HALF UNION
ハ−フユニオン
(1)
11 PJ-3040605-02 ELBOW UNION 6XM5
エルボユニオン 6XM5
(1)
12 SM-6031202-TN SCREW M3X12
六角穴ボルト M3X12
(2)
13 401-46942 CAL_VALVE_BRKT
CALバルブブラケット
(1)
14 PF-0100030-A0 AIR SUCTION FILTER
エア サクション フィルタ
(1)
15 SM-1030601-SC SCREW M3 L=6
皿ねじ M3X0.5 L=6
(2)
16 BT-0400251-EA URETHANE TUBE BLUE 4X2.5
ポリウレタン チューブ 青 4X2.5
(0.08)
17 SL-6030892-TN SCREW M3 L=8
座金付き六角穴ボルト M3 L=8
2