KE-3010A_KE-3010AC_KE-3020VA_KE-3020VRA-Rev08.pdf - 第99页
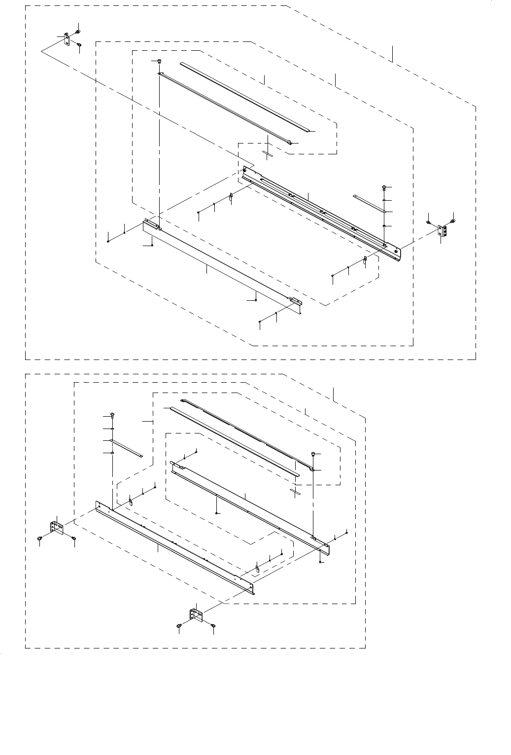
- 92 - REF.NO NOTE PART NO D E S C R I P T I O N 品 名 Qty 1 401-4746 0 FPI_F_ASM FPIフロント組 1 2 401-14948 FPI F SUB ASM FPIフロントサブ組 (1) 3 401-1074 0 FPI BR B FPIブラケットB (1) 4 401-1074 1 FPI COVER B FPIカバーB (1) 5 SM-603040 2-T…

- 91 -
46.FPI COMPONENTS(1)
FPI 関係(1)
22
41
40
40
42
42
41
23
28
38
35
37
36
32
33
34
32
33
34
31
29
30
39
26
27
26
26
26
27
25
24
1
7
3
20
19
21
11
13
12
12
13
11
18
2
8
9
10
6
5
5
5
6
5
4
17
16
15
14
19
21
20

- 92 -
REF.NO NOTE PART NO D E S C R I P T I O N
品 名
Qty
1 401-47460 FPI_F_ASM
FPIフロント組
1
2 401-14948 FPI F SUB ASM
FPIフロントサブ組
(1)
3 401-10740 FPI BR B
FPIブラケットB
(1)
4 401-10741 FPI COVER B
FPIカバーB
(1)
5 SM-6030402-TN SCREW M3X4
六角穴付きボルト M3X4
(9)
6 WP-0320501-SC WASHER M3
平座金 M3
(4)
7 E6025-729-0A0 FPI COVER U20 ASM
FPIカバーU20組
(1)
8 E6025-729-000 FPI COVER U20
FPIカバーU20
(1)
9 E6028-729-000 FPI PLATE U20
FPIプレート20
(1)
10 SM-6030402-TN SCREW M3X4
六角穴付きボルト M3X4
(2)
11 400-94870 HARNESS CLAMP A
ハーネスクランプA
(2)
12 SM-6030402-TN SCREW M3X4
六角穴付きボルト M3X4
(2)
13 WP-0320501-SC WASHER M3
平座金 M3
(2)
14 E8626-729-0A0 FPI LED BOARD ASM.
FPI LED基板組
(4)
15 SM-5030801-SC SCREW M3X0.5 L=8
バインド小ねじ M3X0.5 L=8
(8)
16 E2143-715-000 TIMER SPACER A
タイマスペーサA
(8)
17 E4901-760-000 POLY SLIDER THRUST WASHER
ポリスライダスラストワッシャ
(8)
18 E6033-729-000 FPI INSULATION SHEET
FPI絶縁シート
(0.2)
19 401-47456 FPI_BR_F
FPIブラケットF
(2)
20 SL-6051292-TN SCREW M5 L=12
座金付き六角穴ボルト M5 L=12
(4)
21 SL-6061292-TN SCREW M6 L=12
座金付き六角穴ボルト M6 L=12
(2)
22 401-14947 FPI_R_ASM
FPIリア組
1
23 401-14949 FPI_R_SUB_ASM
FPIリアサブ組
(1)
24 401-10740 FPI BR B
FPIブラケットB
(1)
25 401-10741 FPI COVER B
FPIカバーB
(1)
26 SM-6030402-TN SCREW M3X4
六角穴付きボルト M3X4
(9)
27 WP-0320501-SC WASHER M3
平座金 M3
(4)
28 E6025-729-0A0 FPI COVER U20 ASM
FPIカバーU20組
(1)
29 E6025-729-000 FPI COVER U20
FPIカバーU20
(1)
30 E6028-729-000 FPI PLATE U20
FPIプレート20
(1)
31 SM-6030402-TN SCREW M3X4
六角穴付きボルト M3X4
(2)
32 400-94870 HARNESS CLAMP A
ハーネスクランプA
(2)
33 SM-6030402-TN SCREW M3X4
六角穴付きボルト M3X4
(2)
34 WP-0320501-SC WASHER M3
平座金 M3
(2)
35 E8626-729-0A0 FPI LED BOARD ASM.
FPI LED基板組
(4)
36 SM-5030801-SC SCREW M3X0.5 L=8
バインド小ねじ M3X0.5 L=8
(8)
37 E2143-715-000 TIMER SPACER A
タイマスペーサA
(8)
38 E4901-760-000 POLY SLIDER THRUST WASHER
ポリスライダスラストワッシャ
(8)
39 E6033-729-000 FPI INSULATION SHEET
FPI絶縁シート
(0.2)
40 401-10739 FPI_BR_R
FPIブラケット_R
(2)
41 SL-6051292-TN SCREW M5 L=12
座金付き六角穴ボルト M5 L=12
(4)
42 SL-6061292-TN SCREW M6 L=12
座金付き六角穴ボルト M6 L=12
(2)

- 93 -
47.CVS COMPONENTS
CVS 関係
2
20
19
21
1
9
9
9
9
6
5
3
12
18
17
16
15
14
13
12
11
11
11
11
10
10
10
10
10
12
12
8
7
7
7
6
6
4
22