BulkFeeder_Instruction_Rev4.0_C.pdf - 第16页
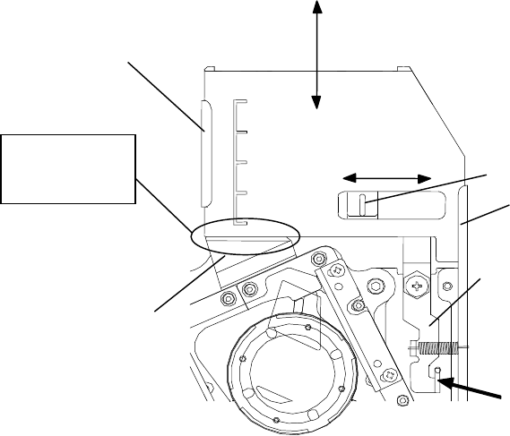
10 4-6 接头盒的安装 / 拆卸 (1)接头盒的安装方法 确认左右方向后,慢慢地沿着导轨,使开口与滚筒式卸料管密合。若接头盒与滚筒式卸料管的 接缝之间有间隙时,请再次向滚筒式卸料管方向稍稍用力按压接头盒。 (2)接头盒的拆卸方法 向左按接头盒定位块,使接头盒向上滑动拆卸下来。 图 4.14 接头盒的安装和拆卸 导轨 请确认接缝 已经密合。 滚筒式卸料管 拆卸 安装 关 开 接头盒遮挡器 导轨 接头盒定位块

9
4-5 零件的进给方法(使之成为可吸附状态)
步骤
(a)为了将零件传送到取出位置,使散装料供料器呈水平状态,操纵手动杆或顶出杆将零件运送
到取出位置。
(b)零件到达取出位置,并且紧紧聚拢在传送轨道上之后,将其设置在散装料供料器上。(安装
方法请参照 5 项。)
图 4.13 零件的传送
注意
请在贴片机还没有实施取出时,将零件传动到取出位置的操作。
俯视扩大图
(
从
A
处看
)
顶出杆
传送轨道
A
手动杆
请确认零件的最后
部分到达该部位的
附近位置。
取出位置

10
4-6 接头盒的安装/拆卸
(1)接头盒的安装方法
确认左右方向后,慢慢地沿着导轨,使开口与滚筒式卸料管密合。若接头盒与滚筒式卸料管的
接缝之间有间隙时,请再次向滚筒式卸料管方向稍稍用力按压接头盒。
(2)接头盒的拆卸方法
向左按接头盒定位块,使接头盒向上滑动拆卸下来。
图 4.14 接头盒的安装和拆卸
导轨
请确认接缝
已经密合。
滚筒式卸料管
拆卸
安装
关
开
接头盒遮挡器
导轨
接头盒定位块

11
5.安装到贴片机上
5-1 散装料供料器在贴片机上的安装及拆卸
步骤
(a)进行安装之前,为了避免取出位置的零件跳动,要将顶出杆支架抬高,并关闭 P.P 遮挡器。
(“防止零件飞出构造”:防止在贴片机上进行安装或拆卸以及搬动时零件飞出来)
(b)请确认散装料供料器的固定面、贴片机上的贮料器上面没有元件等异物。
(c)用手抓住把手,另一只手的大拇指勾住锁定杆,食指顶住支撑部位。
(d)将散装料供料器的固定面放在供料器贮料器上。
(e)按箭头方向拉动锁定杆。
(f)使散装料供料器向安装方向滑动,将贮料器的固定板的定位孔与装置定位销、固定板 B 的贮
料器 U 槽与固定销、锁定轴 V 槽与锁定支架一一对准,然后塞入,使装置前端表面接触到定
位板。
(g)手指放开锁定杆,固定装置。
请进行以下的确认,检查供料器是否已经确实固定在了贴片机上。
从 A 处看的图
ⅰ)确实已经固定好。 ⅱ)未固定好,请将供料器从贴片机上
拆下来重新安装。
(h)请操纵手动杆或顶出杆 2~3 次。(顶出杆下降,P.P 遮挡器打开。)
(i)安装完毕后,请放下把手。(参照 4-1)
(j)拆卸时先将把手打开,然后向箭头方向拉顶出杆,向拆卸方向拉动装置,从而拆下装置。
图 5.1 在贴片机上的安装及拆卸
锁定杆在确认用凹槽的范围内。
锁定杆不在确认用凹槽的范
围内。
锁定杆
用于确认锁定杆位置的凹槽
支撑部位
锁定杆
手动杆
把手
基准销
拆卸
安装
顶出杆
固定销
顶出杆支架
锁定杆
固定面