P240006.pdf - 第78页
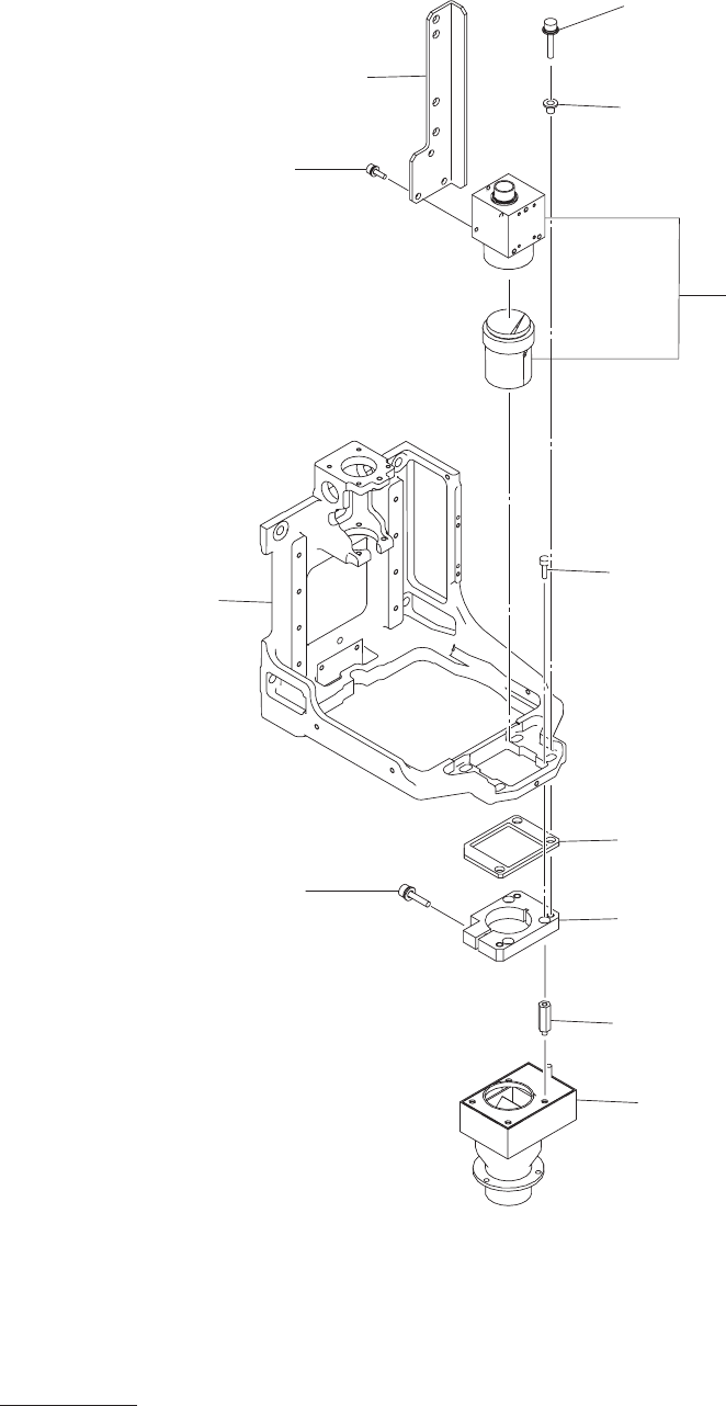
MODEL GXH-1 0409-002 76 ヘッド部 HEAD SECTION Fig. M-5 基板認識カメラ P .E.C. Camera 412 401 451 403 404 402 452 . 454 . 455 453 . 454 . 455 41 1 456 . 457 . 458 407 See Fig.M-1 Key No.20

MEMO

MODEL GXH-1
0409-002
76
ヘッド部
HEAD SECTION
Fig. M-5
基板認識カメラ
P.E.C. Camera
412
401
451
403
404
402
452
.
454
.
455
453
.
454
.
455
411
456
.
457
.
458
407
See Fig.M-1
Key No.20

MODEL GXH-1
1012-005
77
Key No. PART No. PART NAME Q’ty REMARKS New Code
NOTE
M-5
4Unit/1Machine
401 6301215549 BOLT 3 803M--210-301 221E0281
402 6300699340 ACCESSORY,P.C.B (BUSH) 3 803M--210-302 23L10044
403 6301215556 PLA
TE 1 803M--210-303 211D9046
404 6301358444
PLATE 1 803M--210-304 211DA501
407 6301297859
BRACKET 1 803M--210-147 211F8752
411
6301267050 ASSY,SCOPE UNIT 1 -B36 803M--210-401 0Z100022
412 6301267586
LIGHTING UNIT 1 -E39 803M--210-402 4Z110145
451
6300007527 BOLT,HEX-SCT 3 M3X10 221A0007
452 6300007657 BOL
T,HEX-SCT 1 M4X16 221A0020
453 6300007664 BOL
T,HEX-SCT 3 M4X20 221A0021
454 411
1412905 WASHER SPR 4 4 SW4 221H0284
455 411
1414008 WASHER V 4X9X0.8 4 FW4 221H0315
456 6300007510 BOL
T,HEX-SCT 3 M3X8 221A0006
457 411
1412806 WASHER SPR 3 3 SW3 221H0281
458 411
1413902 WASHER V 3X7X0.5 3 FW3 221H0312