FX-3-Rev12(k-).pdf - 第39页
- 34 - NOTE( 注記 ) #01....FOR XL XL 仕様 REF.NO NOTE PART NO D E S C R I P T I O N 品 名 Qty 1 #01 400-93052 LINEAR MOTOR STATOR リニアモータ固定子 4 2 #01 400-93163 Y LINEAR GUIDE XL Y リニアガイド XL 2 3 400-47984 Y LINEAR MOTOR AS M Y リニ…

- 33 -
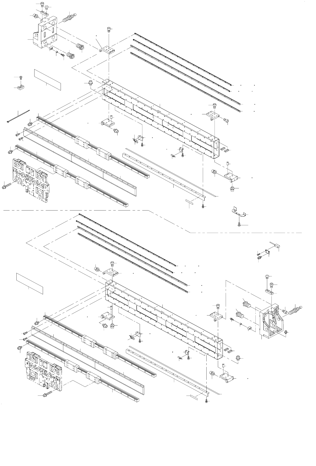
17.X-Y COMPONENTS (3)(RIGHT STATION)
X−Y関係(3)(右ステーション)
5
6
6
7
7
6
8
8
7
8
15
14
16
17
26
27
76
78
75
74
94
76
78
75
23
77
61
80
61
80
84
83
85
87
29
88
90
93
96
93
96
20
81
77
15
14
16
17
97
73
6
7
8
11
89
21
28
24
25
13
30
30
13
71
72
30
13
12
13
9
9
11
4
1
10
11
9
10
10
10
9
11
2
60
62
82
B
49
40
37
38
36
43
44
35
36
33
34
38
37
41
39
95
47
43
42
42
34
33
40
39
41
35
43
43
44
44
42
68
70
47
47
49
49
48
47
48
51
50
50
51
53
52
53
52
53
53
52
57
56
54
55
57
56
54
55
79
65
67
66
66
70
68
67
65
66
65
67
68
70
64
95
58
58
59
3
59
63
3
42
49
44
95
95
19
60
22
52
45
46
46
45
31
32
1
69
69
69
B
83
84
87
91
91
92
62
82
68
70
65
67
66
69
31
32
18
98
85
88
86

- 34 -
NOTE( 注記 ) #01....FOR XL XL 仕様
REF.NO NOTE PART NO D E S C R I P T I O N
品 名
Qty
1
#01
400-93052 LINEAR MOTOR STATOR
リニアモータ固定子
4
2
#01
400-93163 Y LINEAR GUIDE XL
Y リニアガイド XL
2
3 400-47984 Y LINEAR MOTOR ASM
Y リニアモータ組
2
4 400-48018 LINEAR MOTOR STATOR
リニアモータ固定子
1
5 SM-6051602-TN BOLT
六角穴ボルト
72
6 400-46713 Y STOPPER
Y ストッパ
4
7 SM-6126002-TN SCREW M12 L=60
六角穴ボルト M 12 L =60
4
8 PA-9000740-00 SHOCK ABSORBER
ショック アブソーバ
4
9 400-90280 RUBBBER FEET
ゴム足
4
10 E2779-721-000 STOPPER COLLAR
ストッパカラー
4
11 SM-4031201-SC SCREW M3 X 12
なべ小ねじ M 3 X 0.5 L =12
4
12 HX-0034400-00 HARNESS PARTS
束線パーツ
1
13 SL-4030691-SC SCREW M3X6
なべ小ねじセムス M 3 X 0.5 L =6
4
14 400-46720 FSD BRACKET
FSD ブラケット
2
15 SL-6051292-TN BOLT
座金付き六角穴ボルト
4
16 E2157-729-000 FSD SPACER
FSD スペーサ
2
17 SL-4031481-SC SCREW M3 X 14
なべ小ねじセムス M 3 X 0.5 L =14
8
18 400-82670 Y FRAME END FAN CABLE B ASM
Y フレームエンドファンケーブル B 組
1
19
#01
400-93163 Y LINEAR GUIDE XL
Y リニアガイド XL
2
20 400-47498 FD-FLOAT(FR)RECEIVE SENS ASM
フィーダ浮きセンサ(FR)受光組
1
21 HX-0034400-00 HARNESS PARTS
束線パーツ
1
22 400-82676 Y FRAME END FAN CABLE E ASM
Y フレームエンドファンケーブル E 組
1
23 400-47495 FD-FLOAT(FF)SENS ASM
フィーダ浮きセンサ(FF)投光組
1
24 SM-3040652-TN SCREW M4 L=6
丸ねじ M 4 L =6
1
25 WP-0450816-SC WASHER
平座金
1
26 400-47496 FD-FLOAT(FF)RECEIVE SENS ASM
フィーダ浮きセンサ(FF)受光組
1
27 400-47497 FD-FLOAT(FR)SENS ASM
フィーダ浮きセンサ(FR)投光組
1
28 NM-6040003-SC NUT M4
六角ナット M 4
1
29 400-81949 CABLE CLAMP YN
ケーブルクランプ YN
1
30 HX-0029400-00 FIXED BASE
固定ベース
3
31
#01
400-94162 Y LINEAR BASE S ASM XL
Y リニアベース S 組 XL
2
32 400-94103 Y LINEAR BASE S ASM
Y リニアベース S 組
2
33 SM-6051602-TN BOLT
六角穴ボルト
(16)
34 SL-6052592-TN BOLT
座金付き六角穴ボルト
(6)
35 SM-6051602-TN BOLT
六角穴ボルト
(12)
36 SL-6052592-TN BOLT
座金付き六角穴ボルト
(3)
37 HX-0029400-00 FIXED BASE
固定ベース
(7)
38 SM-4040601-SC SCREW M4X0.7 L=6
なべ小ねじ M 4 X 0.7 L =6
(7)
39 400-90280 RUBBBER FEET
ゴム足
(1)
40 400-47385 Y LINEAR BASE S
Y リニアベース S
(1)
41 SM-4031201-SC SCREW M3 X 12
なべ小ねじ M 3 X 0.5 L =12
(2)
42 400-98018 Y MSH BRACKET S
Y MSH ブラケット S
(1)
43 SL-6041292-TN SCREW
座金付き六角穴ボルト
(2)
44 SL-6030892-TN SCREW
座金付き六角穴ボルト
(2)
45 SM-4040601-SC SCREW M4X0.7 L=6
なべ小ねじ M 4 X 0.7 L =6
(2)
46 HX-0034400-00 HARNESS PARTS
束線パーツ
(2)
47 400-47390 MSU BRACKET
MSU ブラケット
(2)
48 SL-6040892-TN BOLT
座金付き六角穴ボルト
(2)
49 SL-6030692-TN BOLT
座金付き六角穴ボルト
(4)
50 400-47387 LINEAR SCRAPER BRACKET
リニアスクレイパブラケット
(1)
51 SL-6041292-TN SCREW
座金付き六角穴ボルト
(2)
52 400-47388 LINEAR SCRAPER
リニアスクレイパ
(2)
53
#01
SL-6030892-TN SCREW
座金付き六角穴ボルト
(4)
54 400-66149 Y FAN60 BRACKET S
Y ファン60ブラケット S
(1)
55 SL-6040892-TN BOLT
座金付き六角穴ボルト
(4)
56 400-66151 Y HEAT SINK S
Y ヒートシンク S
(1)
57 SL-6041092-TN SCREW
座金付き六角穴ボルト
(3)
58 400-93510 Y FAN GUARD C
ファンガード60
(4)
59 SL-4042591-SC SCREW M4 L=25
座金付きなべ小ねじ M 4 L =25
(6)
60 400-46708 LINEAR GUIDE Y
リニアガイド Y
4
61 400-47389 MSC GUARD S
MSC ガード S
2
62 400-46709 CABLE BEAR Y
ケーブルベア Y
2
63 400-48018 LINEAR MOTOR STATOR
リニアモータ固定子
1
64 SM-6051602-TN BOLT
六角穴ボルト
72
65 400-46713 Y STOPPER
Y ストッパ
4
66 SM-6126002-TN SCREW M12 L=60
六角穴ボルト M 12 L =60
4
67 PA-9000740-00 SHOCK ABSORBER
ショック アブソーバ
4
68 400-90280 RUBBBER FEET
ゴム足
4
69 E2779-721-000 STOPPER COLLAR
ストッパカラー
4
70 SM-4031201-SC SCREW M3 X 12
なべ小ねじ M 3 X 0.5 L =12
4
71 HX-0005600-0A SPACER B
スペ−サ− B
1
72 NM-6030001-SC NUT M3
六角ナット M 3 X 0.5 1種
1
73 400-70397 FD-FLOAT(RF)SENS ASM
フィーダ浮きセンサ(RF)投光組
1
74 400-70398 FD-FLOAT(RF)RECEIVE SENS ASM
フィーダ浮きセンサ(RF)受光組
1
75 400-46720 FSD BRACKET
FSD ブラケット
2
76 SL-6051292-TN BOLT
座金付き六角穴ボルト
4
77 E2157-729-000 FSD SPACER
FSD スペ−サ
2
78 SL-4031481-SC SCREW M3 X 14
なべ小ねじセムス M 3 X 0.5 L =14
8
79 400-82672 Y FRAME END FAN CABLE D ASM
Y フレームエンドファンケーブル D 組
1
80
#01
400-93159 MSC GUARD S XL
MSC ガード S XL
2
81 SL-6051092-TN BOLT
座金付き六角穴ボルト
6
82
#01
400-93370 CABLE BEAR Y XL
ケーブルベア Y XL
2
83 SL-6061292-TN SCREW
座金付き六角穴ボルト
8
84 400-46721 PLASTIC RAIL SUPPORT Y
プラスチックレールサポート Y
2
85 SM-3061252-TN SCREW M6 L=12
丸ねじ M 6 L =12
8
86 401-02721 CABLE_CLAMP_YF
ケーブルクランプ YF
1
87 400-47386 CABLE CLAMP RUBBER Y
ケーブルクランプラバー Y
2
88 SL-6061292-TN SCREW
座金付き六角穴ボルト
4
89 400-46722 CB BRACKET YC
CB ブラケット YC
1
90 SL-6062592-TN SCREW
座金付き六角穴ボルト
2
91 400-46727 CB BRACKET YSA
CB ブラケット YSA
2
92 SL-6061292-TN SCREW
座金付き六角穴ボルト
4
93 400-91396 MAGNETIC SCALE Y
マグネスケール Y
2
94 400-70399 FD-FLOAT(RR)SENS ASM
フィーダ浮きセンサ(RR)投光組
1
95 400-44532 MAGNETIC SCALE Y SENOR UNIT
マグネチックスケール Y センサユニット
4
96
#01
400-48080 MAGNETIC SCALE Y XL
マグネスケール Y XL
2
97 400-70400 FD-FLOAT(RR)RECEIVE SENS ASM
フィーダ浮きセンサ(RR)受光組
1
98 400-82671 Y FRAME END FAN CABLE C ASM
Y フレームエンドファンケーブル C 組
1

- 35 -
18.X-Y COMPONENTS (4)
X−Y関係(4)
54 58
54
58
2
4
4
2
8
54 58
8
54 58
9
10
8
54 58
8
54 58
54
58
54
58
4
2
14
15
55
15
55
14
22
56
22
56
13
13
13
23
16
16
17
19
20
11
53
10
27
29
29
30
30
31
31
34
34
33
26
35
12
35
36
36
20
37
37
40
57
40
57
41
51
41
17
3
38
39
51
32
32
39
3 38
16
23
42
43
44
45
24
46
47
47
48
48
50
49
21
28
28
18
53
36
1
1
2
25
25
25
25
4
9
9
9
52
26
20
18
53
51
525
5
6
7
7
6
7
7
36
11
53
51
23
33