JM-100-Rev00.pdf - 第57页
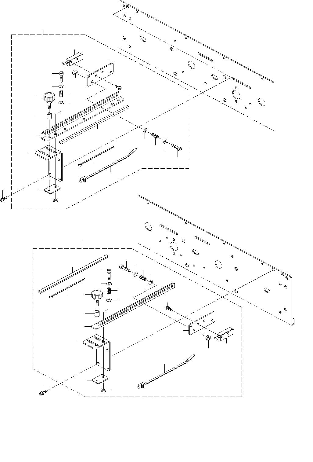
- 52 - NOTE( 注記 ) *INSTALLATION POSITION AND D IRECTION VARY IF THE PWB TRANSFER REFERENCE IS DIFFE RENT. 基板搬送基準が異なると取付位置、方向が変わります。 REF.NO NOTE PART NO D E S C R I P T I O N 品 名 Qty 1 402-06717 STOPPER_ASM ストッパ組 1 2 402-…

- 51 -
26.PWB CONVEYOR COMPONENTS (5)
基板搬送関係(5)
2
30
29
28
B
B
27
26
13
12
11
10
9
16
1
19
A
20
20
17
A
21
18
25
22
23
24
5
30
4
15
14
3
6
8
7

- 52 -
NOTE( 注記 ) *INSTALLATION POSITION AND DIRECTION VARY IF THE PWB TRANSFER
REFERENCE IS DIFFERENT.
基板搬送基準が異なると取付位置、方向が変わります。
REF.NO NOTE PART NO D E S C R I P T I O N
品 名
Qty
1 402-06717 STOPPER_ASM
ストッパ組
1
2 402-05760 WAIT_STOP_COUT_SENS_ASM
ウェイトストップCOUTセンサ組
(2)
3 401-36820 STOPPER_FRAME
ストッパーフレーム
(1)
4 402-05760 WAIT STOP COUT SENS ASM
ウェイトストップCOUTセンサ組
(1)
5 SL-6030842-TN SCREW M3 L=8
座金付き六角穴ボルト
(1)
6 400-00910 STOPPER PIN
ストッパピン
(1)
7 RE-0200000-K0 E-RING 2
E形止め輪 2
(1)
8 WP-0320501-SC WASHER M3
平座金 M3
(1)
9 400-00911 STOPER CONNECT
ストッパコネクト
(1)
10 PA-1002008-A0 AIR CYLINDER
エアシリンダ
(1)
11 SM-6031402-TN SCREW M3X0.5 L=14
六角穴ボルト M3X0.5 L=14
(2)
12 PC-0105080-00 SPEED CONTROLLER
スピードコントローラ
(1)
13 PJ-3040405-11 ELBOW UNION
エルボユニオン
(1)
14 SL-6041292-TN SCREW M4 L=12
座金付き六角穴ボルト M4 L=12
(2)
15 E2169-721-000 HOLD PLATE
ホールドプレート
(1)
16 400-00909 STOPER
ストッパ
(1)
17 E2233-725-000 STOPPER CHIP
ストッパチップ
(1)
18 SM-1030401-SE SCREW M3 L=4
皿ねじ M3X0.5 L=4
(1)
19 SM-1031201-SC SCREW M3X0.5 L=12
皿小ねじ M3X0.5 L=12
(1)
20 E2039-721-000 WASHER A
スラストワッシャA
(2)
21 E2038-721-000 STOPPER COLLAR
ストッパカラー
(1)
22 WP-0330516-SC WASHER 3.3X8X0.5
平座金 3.3X8X0.5
(1)
23 WS-0310002-KN SPRING WASHER M3
ばね座金 M3
(1)
24 NM-6030001-SC NUT M3X0.5 TYPE1
六角ナット M3X0.5 1種
(1)
25 400-23788 STOPER SPACER
ストッパスペーサ
(1)
26 PC-0124010-00 SPEED CONTROLLER
スピードコントローラ
(1)
27 BT-0400251-EA URETHANE TUBE BLUE 4X2.5
ポリウレタン チューブ 青 4X2.5
(0.5)
28 401-13940 CO SENSOR BR
COセンサBR
(1)
29 SL-6030692-TN SCREW M3 L=6
座金付き六角穴ボルト M3 L=6
(2)
30 SL-4031091-SC SCREW M3 L=10
座金付きなべ小ねじ M3 L=10
(4)

- 53 -
27.PWB CONVEYOR COMPONENTS (6)
基板搬送関係(6)
32
3
17
1
33
33
31
16
15
30
25
26
11
11
7
19
26
26
25
24
23
22
20
21
26
11
11
10
10
22
9
7
8
4
2
27
12
6
28
27
18
13
12
29
14
5