RS-1_RS-1-XL_RS-1R-Rev15.pdf - 第148页
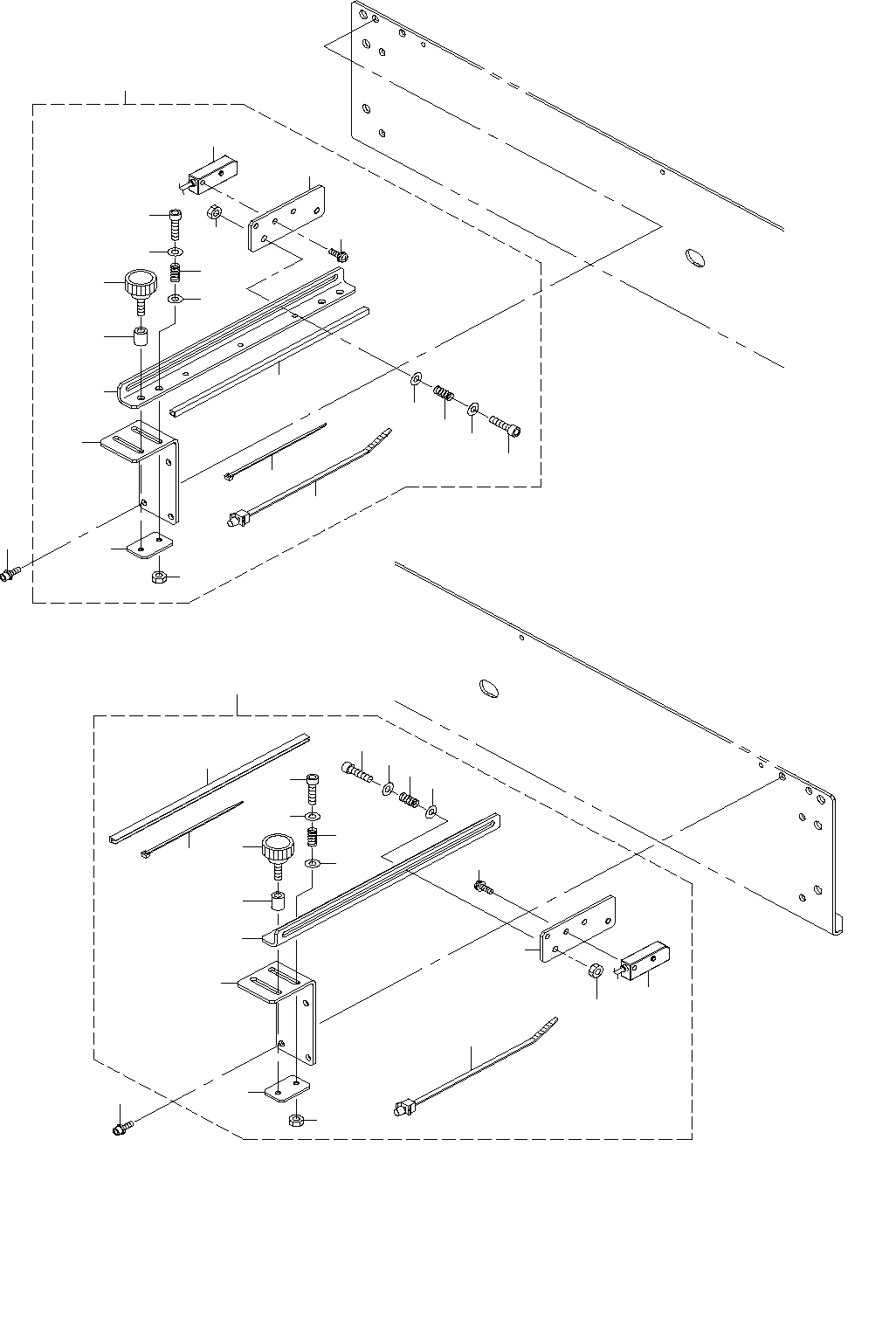
- 141 - 71. PWB CONVEYOR COMPON ENTS (15) (TYPE XL) 基板搬送関係(15) (XL 仕様) 32 3 17 1 33 33 31 16 15 30 25 26 11 11 7 19 26 26 25 24 23 22 20 21 26 11 11 10 10 22 9 7 8 4 2 27 12 6 28 27 18 13 12 29 14 5

- 140 -
NOTE( 注記 ) #01....USED AS STANDARD 標準にて使用
#02....USE WHEN ECD BELT IS SELECTED ECD 対策ベルト選択時に使用
REF.NO NOTE PART NO D E S C R I P T I O N
品 名
Qty
1
#01
400-73709 CONVEYOR_BELT_150
搬送ベルト150
4
2 402-01092 SENSOR_BR_AWC2
センサBR_AWC2
2
3 401-99998 STEPPING MOTOR
ステッピングモータ
1
4 401-99981 TIMING_BELT_AWC
タイミングベルトAWC
1
5 GAW-02121000 PULLEY
回転プーリ
1
6 SM-8050812-TP SCREW M5X8
止めねじ M5X0.8 L=8
2
7 401-52119 PULLEY (F) TIMING
タイミング プーリ(F)
1
8 SM-8030612-TP SET SCREW
止めねじ
2
9 401-61237 BU PIN RECEIVE SENS ASM
BUピン受光センサ組
1
10 401-61236 BU PIN EMISSION SENS ASM
BUピン投光センサ組
1
11 401-99980 AWC_MOTOR_BR
AWCモータブラケット
1
12 SL-6051492-TN SCREW M5 L=14
座金付き六角穴ボルト M5 L=14
2
13 SL-6041242-TN BOLT
座金付き六角穴ボルト
4
14 SL-4031291-SC SCREW M3X12
なべ小ねじセムス M3X0.5 L=
4
15 SL-6030892-TN SCREW M3 L=8
座金付き六角穴ボルト M3 L=8
4
16 E2046-725-000 PWB INNER
PWBインナ
6
17 401-83031 PWB_INNER_SL
PWBインナSL
1
18 401-83034 PWB_INNER_SR
PWBインナSR
1
19 SL-4031091-SC SCREW M3 L=10
座金付きなべ小ねじ M3 L=10
8
20 SL-6031092-TN SCREW
座金付き六角穴ボルト
8
21 401-99982 COLLAR_8_10
カラー8_10
1
22
#01
401-13952 CONVEYOR_BELT_C_M
搬送ベルトC_M
4
23
#02
402-15581 CONVEYOR_BELT_S_XL_ESD
搬送ベルトS_XL_ESD
4
24
#02
402-15582 CONVEYOR_BELT_C_XL_ESD
搬送ベルトC_XL_ESD
4

- 141 -
71.PWB CONVEYOR COMPONENTS (15) (TYPE XL)
基板搬送関係(15)(XL 仕様)
32
3
17
1
33
33
31
16
15
30
25
26
11
11
7
19
26
26
25
24
23
22
20
21
26
11
11
10
10
22
9
7
8
4
2
27
12
6
28
27
18
13
12
29
14
5

- 142 -
REF.NO NOTE PART NO D E S C R I P T I O N
品 名
Qty
1 401-88588 LEFT SENSOR UNIT_RS-1
レフトセンサユニット_RS−1
1
2 401-46990 SENSOR_BR_A
センサブラケット_A
(1)
3 HX-0044000-00 CABLE BAND
束線バンド
(1)
4 401-46991 SENSOR_BR_B
センサブラケット_B
(1)
5 400-01079 SENSOR BRAKET C
センサブラケット C
(1)
6 400-01076 SENSOR SLIDE PLATE
センサスライドプレート
(1)
7 400-00912 SENSOR ADJUST SPRING
センサアジャストスプリング
(3)
8 G6518-880-000 SET PICK-UP
セットつまみ
(1)
9 400-58815 SPACER
スペーサ
(1)
10 SM-6041602-TN SCREW M4X16
六角穴ボルト M4X16
(3)
11 WP-0430801-SC WASHER M4
平座金 M4
(6)
12 NM-6040002-SE NUT M4X0.7
六角ナット M4X0.7 2種
(3)
13 401-29046 SIDE SENSOR CABLE ASM
サイドセンサケーブル組
(1)
14 SL-4031091-SC SCREW M3 L=10
座金付きなべ小ねじ M3 L=10
(2)
15 HX-0036700-0A GROMMET
エッジングブッシュ
(0.16)
16 EA-9500B00-00 CABLE BAND
結束バンド 60
(5)
17 401-88589 RIGHT SENSOR UNIT_RS-1
ライトセンサユニット_RS−1
1
18 400-01079 SENSOR BRAKET C
センサブラケット C
(1)
19 401-46991 SENSOR_BR_B
センサブラケット_B
(1)
20 401-46990 SENSOR_BR_A
センサブラケット_A
(1)
21 400-01076 SENSOR SLIDE PLATE
センサスライドプレート
(1)
22 400-00912 SENSOR ADJUST SPRING
センサアジャストスプリング
(3)
23 G6518-880-000 SET PICK-UP
セットつまみ
(1)
24 400-58815 SPACER
スペーサ
(1)
25 SM-6041602-TN SCREW M4X16
六角穴ボルト M4X16
(3)
26 WP-0430801-SC WASHER M4
平座金 M4
(6)
27 NM-6040002-SE NUT M4X0.7
六角ナット M4X0.7 2種
(3)
28 401-29046 SIDE SENSOR CABLE ASM
サイドセンサケーブル組
(1)
29 SL-4031091-SC SCREW M3 L=10
座金付きなべ小ねじ M3 L=10
(1)
30 HX-0036700-0A GROMMET
エッジングブッシュ
(0.16)
31 EA-9500B00-00 CABLE BAND
結束バンド 60
(5)
32 HX-0044000-00 CABLE BAND
束線バンド
(1)
33 SL-6031092-TN SCREW M3 L=10
座金付き六角穴ボルト M3 L=10
4