XP243 Level1_V1.0.pdf - 第254页
6<6;36 ᴎ఼⫳ѻᑣ ;3((㋏㒳ݠ 乍Ⳃ䇈ᯢ 3DFNDJLQJ1 DPH ᣛᅮ 3DFNDJ LQJ1DPHDŽ᳔ Ўϡᕫ䍙䖛 Ͼᄫヺⱘᄫ ヺІDŽ ⊼ᛣ ᳝ᅮԡ⚍ৡϡ㛑Փ⫼ⱘᄫヺDŽ䆺㒚䇋খ㗗 Nj 䚼 ゴ ⽕ℶ䕧ܹᄫヺnj DŽ 3DFNDJLQJ7 \SH ऩߏ䖭Ͼᄫ↉ᰒ⼎ҹϟにষDŽ 䇋ऩߏ > ͩ @ǃҢϟᢝᓣ㦰ऩЁ䗝ᢽܗӊկᑨⱘՓ…

ᴎ఼⫳ѻᑣ 6<6;36
;3((㋏㒳ݠ
3DFNDJLQJ 㓪䕥
3DFNDJLQJ 㓪䕥ᰃ䆒ᅮկ఼᭭ǃ᭭Ⲭㄝܗӊկᑨၦԧⱘ㓪䕥఼DŽ
᪡䬂䇈ᯢ
乍ⳂẔᶹᰃ᧰㋶ᑊᰒ⼎ᣛᅮⱘ᭄ৡ⿄DŽ䗝ᢽ咥㡆ϟᢝ䬂ᰒ⼎ߚ㉏ⳂᔩˈгৃҹⳈҢ䬂Ⲭ
䕧᭄ܹৡ⿄ᴹ᧰㋶DŽ䗝ᢽ > ϟϔℹ᧰㋶ @ 䬂ҹҢϞ㟇ϟⱘᮍ䖯㸠᧰㋶DŽ
ᰒ⼎⫼㓪䕥఼ᠧᓔⱘ⫳ѻᑣЁՓ⫼ⱘܗӊⱘ 3DFNDJH ϔ㾜㸼DŽ
⹂䅸ֵᙃ⹂䅸ৢˈᇚ 3DFNDJH ֱᄬ䖯 /LEUDU\DŽ
䇏ֱܹᄬ /LEUDU\ Ёⱘ 3DFNDJHDŽ
⏙䰸䆒ᅮⱘ᭄DŽ
ᰒ⼎ߎᇚ 3DFNDJH ᭄ৃҹ⫼ Ͼ⬏䴶㓪䕥ⱘ㓪䕥⬏䴶DŽ
ᰒ⼎ߎᇚ 3DFNDJH ᭄ৃҹܼ䚼㓪䕥ⱘϔ㾜㸼ൟⱘ⬏䴶DŽ
ˋ

6<6;36 ᴎ఼⫳ѻᑣ
;3((㋏㒳ݠ
乍Ⳃ䇈ᯢ
3DFNDJLQJ1DPH
ᣛᅮ 3DFNDJLQJ1DPHDŽ᳔Ўϡᕫ䍙䖛 ϾᄫヺⱘᄫヺІDŽ
⊼ᛣ ᳝ᅮԡ⚍ৡϡ㛑Փ⫼ⱘᄫヺDŽ䆺㒚䇋খ㗗 Nj 䚼 ゴ ⽕ℶ䕧ܹᄫヺnjDŽ
3DFNDJLQJ7\SH
ऩߏ䖭Ͼᄫ↉ᰒ⼎ҹϟにষDŽ䇋ऩߏ > ͩ @ǃҢϟᢝᓣ㦰ऩЁ䗝ᢽܗӊկᑨⱘՓ⫼乍ⳂDŽ
3DFNDJLQJ7\SH Ў᭭Ⲭҹᯊ䇋ৠᯊᣛᅮ )HHG&RXQW 䗕᭄᭭ DŽ
7DSH:LGWK
᭭ᏺᆑᑺ PP ̚ PP
)HHG3LWFK
䆒ᅮ䕧䗕᭭ᏺⱘ䎱⾏DŽPP ̚ PP
7UD\7\SH
Ңҹϟ乍Ё䗝ᢽ㽕Փ⫼ⱘ᭭Ⲭⱘ㉏ൟDŽ
>@ǃ>@ ϡ㹿ℷᓣᬃᣕ ϡ㛑㓪䕥 DŽԚᰃˈ䆒ᅮЎ >@ǃ>@ ⱘ 3DFNDJLQJ 㹿䇏ܹᯊߚ߿
Ϣ ǃ 䖯㸠ⳌৠⱘࡼDŽ
7UD\/HQJWK
䇋䕧ܹᅝ㺙Փ⫼᭭ⲬᮍϞҢ 6LGH 㾚㾦㾖ᆳᯊⱘ ; ᮍⱘ䭓ᑺDŽPP ̚ PP
7UD\:LGWK
䇋䕧ܹᅝ㺙Փ⫼᭭ⲬᮍϞҢ 6LGH 㾚㾦㾖ᆳᯊⱘ < ᮍⱘ䭓ᑺDŽPP ̚ PP
7UD\7KLFNQHVV
䖯㸠᭭Ⲭ㞾ࡼᥦߎᯊ䇋䕧ܹ᭭Ⲭ८ᑺ PP ҹϞ DŽ
PP ̚ PP
0DWUL['XPS ぎⱘ⢊ᗕϟ䞡䞣ᇣѢ Jˈৃ⫼প఼পⱘ᭭ⲬDŽ᳝ܗӊপ䫭
䇃থ⫳ᯊˈЎ㸹ӊࡼৠϔপԡ㕂䞡পࡼDŽ䖯㸠ᅠᣛ
ᅮⱘ㸹ӊ᭄ձ✊ϡ㛑পᯊˈᴎ఼ذℶ䖤䕀DŽ
1R0DWUL[
'XPS
ぎⱘ⢊ᗕϟ䞡䞣ᇣѢ Jˈৃ⫼প఼পⱘ᭭ⲬDŽ᳝ܗӊপ䫭
䇃থ⫳ᯊˈЎ㸹ӊࡼৠϔপԡ㕂䞡পࡼDŽ䖯㸠ᅠᣛ
ᅮⱘ㸹ӊ᭄ձ✊ϡ㛑পᯊˈ⿏㟇ϟϔϾপԡ㕂㒻㓁পࡼ
DŽ
1R0DWUL[ ぎⱘ⢊ᗕϟ䞡䞣Ѣ J 㗠ϡ㛑㞾ࡼᥦߎⱘ᭭Ⲭҹঞপ఼ϡ㛑
পⱘ᭭ⲬDŽথ⫳প䫭䇃ᯊⱘ㸹ӊࡼϢϞ䗄ⱘ 1R0DWUL['XPS
ৠḋDŽ
ˋ

ᴎ఼⫳ѻᑣ 6<6;36
;3((㋏㒳ݠ
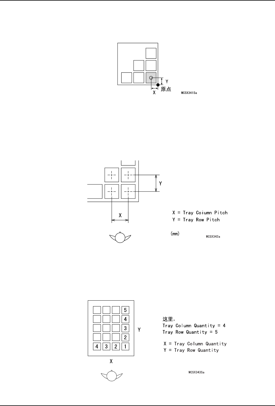
7UD\)LUVW3LFNXS3RVLWLRQ;
䇋䕧ܹҢ᭭Ⲭॳ⚍ Ꮖ㺙䕑ⱘ⢊ᗕϟҢ 6LGH 㾚㾦㾖ᆳ᭭Ⲭⱘেϟ㾦 প Ͼܗӊⱘ
തᷛ ; ᮍⱘ䭓ᑺDŽPP ̚ PP
7UD\)LUVW3LFNXS3RVLWLRQ<
䇋䕧ܹҢ᭭Ⲭॳ⚍ Ꮖ㺙䕑ⱘ⢊ᗕϟҢ 6LGH 㾚㾦㾖ᆳ᭭Ⲭⱘেϟ㾦 প Ͼܗӊⱘ
തᷛ < ᮍⱘ䭓ᑺDŽPP ̚
7UD\&ROXPQ3LWFK
䇋䕧ܹᏆ㺙䕑ⱘ⢊ᗕϟҢ 6LGH 㾚㾦㾖ᆳࠄⱘ᭭Ⲭ ; ᮍⱘᄨП䯈ⱘ䯈䎱DŽ ̚
7UD\5RZ3LWFK
䇋䕧ܹᏆ㺙䕑ⱘ⢊ᗕϟҢ 6LGH 㾚㾦㾖ᆳࠄⱘ᭭Ⲭ < ᮍⱘᄨП䯈ⱘ䯈䎱DŽ ̚
7UD\&
ROXPQ4XDQWLW\
䇋䕧ܹᏆ㺙䕑⢊ᗕϟҢ 6LGH 㾚㾦㾖ᆳࠄⱘ᭭Ⲭ ; ᮍⱘᄨ᭄DŽ ̚
ˋ