CUKYX-193-5100_G5S2.pdf - 第76页
193-5100 CUKYX 1.4 横梁 Y 轴的安装结构图 2-4 1.4 横梁 Y 轴的安装结构图 Symbol Name Symbol Name M22 Y1-Axis Motor M23 Y2-Axis Motor U22 Y1 Linear Scale Head U23 Y2 Linear Scale Head B2201 Y -Axis Limit (+) B2205 Y -Axis Limit (-) U22 U23 M…

193-5100
CUKYX
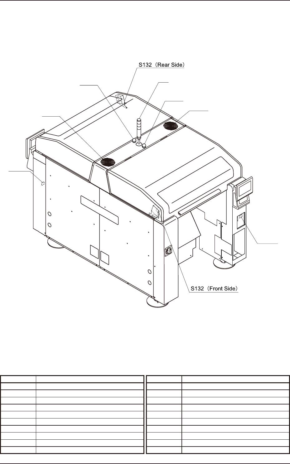
1.3 机盖的安装结构图
2-3
1.3 机盖的安装结构图
Symbol Name Symbol Name
H1 Light Tower
H11F Material Indicator (Front) H11B Material Indicator (Rear)
S132 COVER LOCK (Front Side) S132 COVER LOCK (Rear Side)
M101 Ceiling Cooling Fan (Left) M102 Ceiling Cooling Fan (Right)
S111F READY (Front) [Feeder Ready] S111B READY (Rear) [Feeder Ready]
M102
H11F
H1
H11B
M101
S111B
S111F
2-3S

193-5100
CUKYX
1.4 横梁 Y 轴的安装结构图
2-4
1.4 横梁 Y 轴的安装结构图
Symbol Name Symbol Name
M22 Y1-Axis Motor
M23 Y2-Axis Motor
U22 Y1 Linear Scale Head
U23 Y2 Linear Scale Head
B2201 Y-Axis Limit (+)
B2205 Y-Axis Limit (-)
U22
U23
M23
M22
U22
U23
M23
B2203
B2201
M22
2-4SA

193-5100
CUKYX
1.5 横梁 X 轴的安装结构图
2-5
1.5 横梁 X 轴的安装结构图
Symbol Name Symbol Name
M21 X1-Axis Motor
U21 Linear Scale Head (Converter)
B36 PEC Recognition Camera
E39 PEC Recognition Lighting
U21
B36
M21
E39
2-5S