NXTIII安装手册.pdf - 第47页
SET-NXT3-006S0 3. 机器的安装 NXT III 安装手册 35 3.1.4 方法 1. 将铲车插入机器时,需使铲车的左右铲与 机器中心的距离相等。请将左右铲 的间隔尽量 调大。 注意 ) 1.关于铲车的使用,请参照制造商的说明书。 2.对于 4M-3 基座,请将叉子从机器后面插入 1100mm 以上。对于 2M-3 基座,请将叉子 从机器横侧面插入整个宽度。 2. 请用铲车将机器举起 30cm 左右。 3. 请移动铲车至…

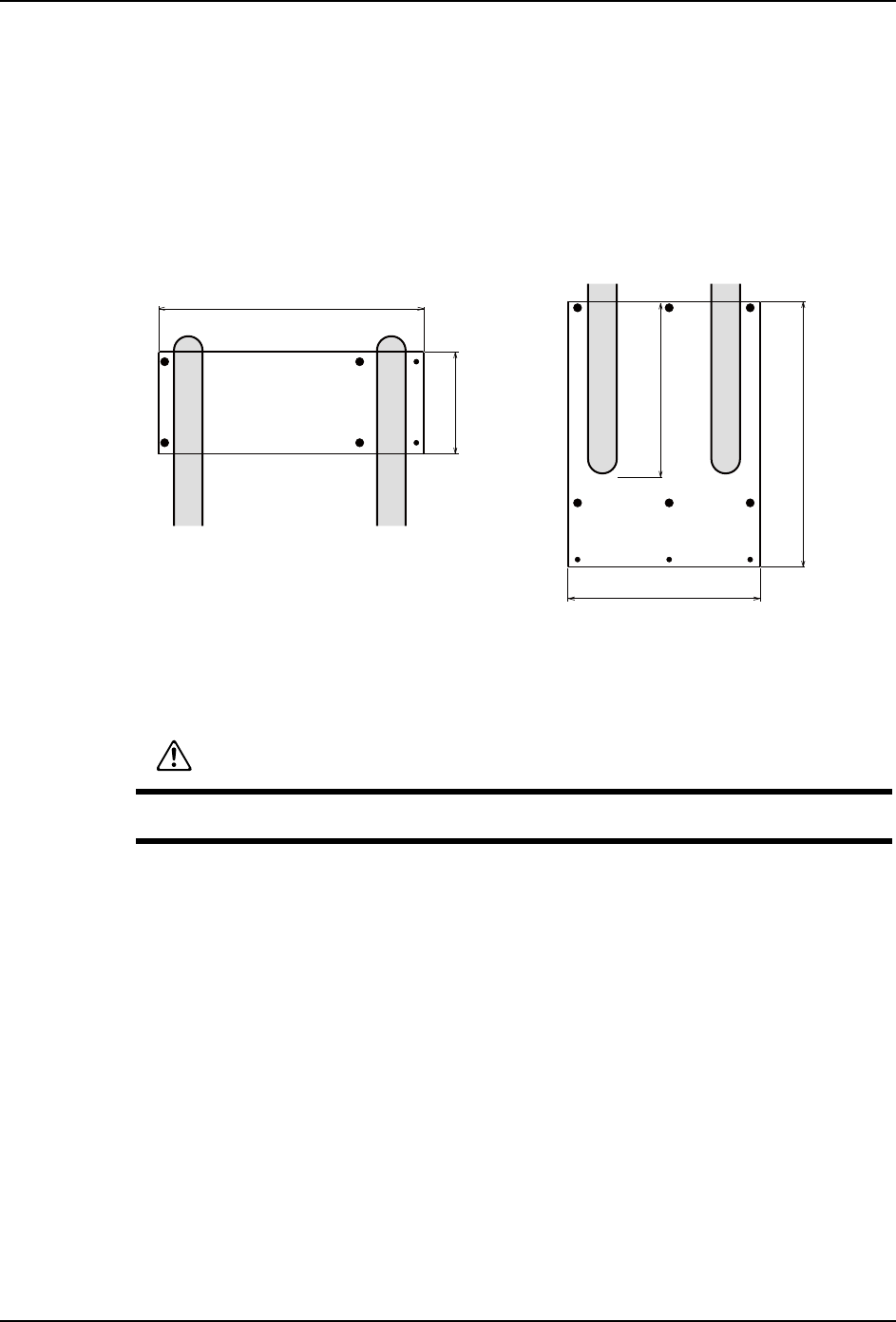
3. 机器的安装 SET-NXT3-006S0
34 NXT III 安装手册
注意 )请先配置有 * 的水平调整垫脚,在以后将不能配置在机器下面。
4. 移动已经设置好的机器时,从机器上取下供料器、气源配管、电源线等外部连接。
5. 移动已经设置好的机器时,使用固定支架 (红色)对主要部位进行固定。
请参照 " 3.2.1 拆除固定支架 " 的插图。
注意 )没有固定支架时,请用绳子等固定,并小心避免使机器各部分变形。
6. 移动模组的时候,在确认线性马达的轴处于室温后安装保护盖罩。
1384 43.5
1404 33.5
472.5
1384 43.5472.5
1900
1290
65 65
580
580
70 70
575
575
01SET-0153Sb
*
*
ঋփPP
ᵰಞࢃם
0ะᓝ!
01SET-0148Sa
㒓ᗻᷛሎ
㒓ᗻ偀䖒䕈
㒓ᗻ偀䖒㒓䚼ߚ
ֱᡸⲪ㔽

SET-NXT3-006S0 3. 机器的安装
NXT III 安装手册 35
3.1.4 方法
1. 将铲车插入机器时,需使铲车的左右铲与机器中心的距离相等。请将左右铲的间隔尽量
调大。
注意 )
1.关于铲车的使用,请参照制造商的说明书。
2.对于 4M-3 基座,请将叉子从机器后面插入 1100mm 以上。对于 2M-3 基座,请将叉子
从机器横侧面插入整个宽度。
2. 请用铲车将机器举起 30cm 左右。
3. 请移动铲车至所定位置,并将机器轻放在水平调整垫脚上。
危险
严禁进入机器下部进行操作。
1900 mm
1290 mm
㧨/ᑻ㧪
01SET-0154Sb
1900 mm
640 mm
㧨/ᑻ㧪
ᴎ఼ࠡջ
ᴎ఼῾ջ
PPҹϞ

3. 机器的安装 SET-NXT3-006S0
36 NXT III 安装手册
3.2 拆除固定支架和保护材料
3.2.1 拆除固定支架
下一步,拆卸安装在机器上的固定支架(红色)。向机器供电前,必须拆下所有的固定支架。
方法
1. 请卸下固定模组正面和基座的固定支架 (红色)。每 2 台 M3-3 模组装有 1 个固定支架、
M6-3(SP) 模组上各装有 1 个固定支架。模组正面的螺栓是用于固定模组 / 基座盖罩的,
请勿将其取下。
2. 将 X 轴 /Y 轴导轨固定支架从各模组上卸下。这些固定支架在各模组的 Y 轴左侧导轨附
近分别装有 1 个。请不要挤压工作头的侧面或握着手柄移动工作头。
3. 请从各个 M3-3 模组卸下 XS 轴固定支架。这些固定支架安装在工作头的右侧。
注意 )拆卸固定支架时,请同时取下机器内外侧的保护材料。进行操作前,必须确认出厂时
的保护材料没有残留在模组内部。
4. 请卸下固定模组背面和基座的固定支架 (红色)。使用的固定支架比模组台数多 1 个。
(例:在 4M-3 基座上连接有 2 台的 M3-3 模组和 1 台的 M6-3(SP) 模组 (共 3 台模组)
时,使用 4 个固定支架)
5. 请卸下供料托架固定支架。各模组安装有 1 个固定支架。固定支架安装在右侧。
6. 请从各模组上卸下切刀固定支架 (红色)和螺栓 (红色)。
7. 搬运轨道支撑板为免工具类型时,请将 2 根固定螺栓 (红色)从各模组上卸下。(不是
免工具类型时不需要卸下固定螺栓)。
8. 请保管好取下的固定支架和螺栓,以便移动时再次使用。
警告
模组的线性马达有强力的磁性。使用心藏起搏器的用户,请不要接近线性马达的轴或
者线圈部分 (请离开 400mm 以上进行操作)。有可能因为磁力造成心藏起搏器的误动。
注意
将 XY 机械手用手进行移动时,请抓住框架部分。抓住贴装工作头主体或者手柄时,请
不要对工作头施加压力。
请不要压 X 轴齿轮盖罩,齿轮盖罩有可能变形。
在模组的线性马达附近请不要将工具等靠近。有时会因磁力吸引而产生以外的受伤。
在模组的线性马达附近,请不要将磁卡、手表、精密仪器等靠近。有可能因磁力而产
生故障。
在进行更换工作头和维修保养作业时,请注意不要将物体碰到线性马达或者使其受
伤。线性马达有伤痕的时候,有可能不能进行生产。那时,有必要更换线性马达。