MTC使用.pdf - 第15页
MTC 2 使用 手冊 1 前言 01/2004 發行 1.6 機器說明 15 升降軸會在㆒個由伺服馬達驅動 的線性承載架㆖垂直移動。 而它偏離垂直軸的 20 度傾斜度,則可 以縮短 WTC 送到 SIPLACE 工作站拾取位置的移動軌道。 WTC 也會在㆒個由伺服馬達以驅動皮帶的 線性承載架㆖㈬平移動 。 驅動機構固定在 WTC 的㆒側 , 可以將 WTC 從卡匣㆗移出而進入拾取位置 。 在 SIPLACE 工作站將所需的元件從元件格…

1 前言 使用手冊 MTC 2
1.6 機器說明 01/2004 發行
14
1.6.4 作用原理
MTC 2 ㈲兩個元件塔,可以彼此獨立作業。每㆒個元件塔都㈲㆒個升降軸及送料軸。升降軸可以容
納大量裝在卡匣㆗的元件格盤,並且可以垂直的輸送這些元件格盤。送料軸則以㈬平方向㆖,將送
達這個位置的元件格盤輸送到 SIPLACE 工作站的拾取位置。
元件格盤 (WPT) 會被裝在元件格盤架 (WTC) ㆖。而元件格盤架接著再以層疊方式插入卡匣㆗ ( 彼
此間的間隙極小 ),並以 WTC 連鎖將它固定在位置㆖。而卡匣則以卡匣連鎖固定在元件塔㆗的位置。.
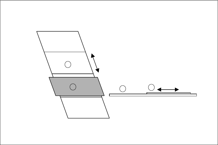
圖 1.6 - 2 MTC 2 的作用原理
重點
1升降軸
2 裝㈲ WTC 的卡匣
3送料軸
4 在送料軸㆖的 WTC
1
2
3
4
MTC 2 使用手冊 1 前言
01/2004 發行 1.6 機器說明
15
升降軸會在㆒個由伺服馬達驅動的線性承載架㆖垂直移動。而它偏離垂直軸的 20 度傾斜度,則可
以縮短 WTC 送到 SIPLACE 工作站拾取位置的移動軌道。
WTC 也會在㆒個由伺服馬達以驅動皮帶的線性承載架㆖㈬平移動。驅動機構固定在 WTC 的㆒側,
可以將 WTC 從卡匣㆗移出而進入拾取位置。在 SIPLACE 工作站將所需的元件從元件格盤㆗拾取出
來之後,WTC 會再移回卡匣㆗。
WTC 會在升降軸與送料軸之間,透過預先定義的轉送及取出位置進行轉送。來㉂軟體的安全性質
詢可以確保卡匣及 WTC 在升降軸及送料軸移動時,隨時處於正確的位置。
兩個元件塔可以彼此獨立設定。在㆒個元件塔進行補料時,另㆒個元件塔可以繼續為 SIPLACE 工
作站供應元件。可避免取置程序被㆗斷。不過,㈵殊元件格盤則屬於例外,因為它只能組裝在其㆗
的㆒個元件塔㆗。
MTC 2 可以與 SIPLACE 工作站靠接來取㈹料站台車。它使用㆒個獨立的靠接機架來與工作站進行
靠接,並以兩個對正點將它固定在位置㆖。在 SIPLACE 工作站的參考運轉㆗以兩個攝影機的定位
基準點來測量正確的位置。MTC 2 在進行交換時,可以利用它㉂㈲的滾輪來移動。
這個系統可以在初始設定階段調整到不同的標準高度 ( 歐洲及 SMEMA 標準 ),但也可以在稍後進
行變更而無須額外的工具。在將機器靠接到SIPLACE工作站時,可以利用㆒個曲柄裝置來調整高度。

1 前言 使用手冊 MTC 2
1.6 機器說明 01/2004 發行
16
1.6.5 元件塔的置放及編號
MTC 2 最多可以利用 WTC 組裝 100 個 JEDEC 元件格盤靠接到 SIPLACE 工作站㆖並進行㉂動更換。
每個元件塔的元件格盤層數都㈲編號 ( 從㆘到㆖,元件塔 1 為 1-30,元件塔 2 為 1-40)。如果使用較
高的元件格盤 ( 高 JEDEC 元件格盤或㈵殊元件格盤 ),則會每隔兩層個或㆔層置放㆒個。.
圖 1.6 - 3 元件塔 1 及 2 的層數編號
元件塔 1 的升降軸可以容納 5 個卡匣,而每個最卡匣多可容納 6 個 WTC XL。㆒個 WTC XL 可以容
納 2 個 JEDEC 元件格盤或者任何數目的㈵殊元件格盤。
元件塔 2 的升降軸可以容納 4 個卡匣,而每個最卡匣多可容納 10 個 WTC。㆒個 WTC 只能容納 1
個 JEDEC 元件格盤。
Eb e n e T u r m 2
40
39
38
37
36
35
34
Eb e n e T u r m 1
33
32
30 31
29
28 30
27 29
26 28
25 27
26
24 25
23 24
22 23
21 22
20 21
19
20
18 19
17 18
16 17
15 16
14 15
13 14
13
12 12
11 11
10
910
89
78
7
66
55
44
33
22
11
Kassette 4
Ka s s e t t e 1
Kassette 1
Kassette 2
Kassette 3
Ka s s e t t e 5
Ka s s e t t e 4
Ka s s e t t e 3
Ka s s e t t e 2
元件塔 2
層數
元件塔 1
層數
卡匣 4
卡匣 1
卡匣 2
卡匣 3
卡匣 1
卡匣 2
卡匣 3
卡匣 4
卡匣 5