QEJM1A-E-MPA-34.pdf - 第289页
Ref No. Remarks R 1 Q't y 44-B 基 板 ストッパ(Dual) Board Stopper(Dual) イラスト No. Part No. 品 名 品番 数量 R 2 パーツリスト Kit No . キット品 番 Kit Name キット名称 N610002282AA Part N ame 備 考 セクションNo. PARTS LIST Section No. R 3 STOPPER 1 1 KXF…

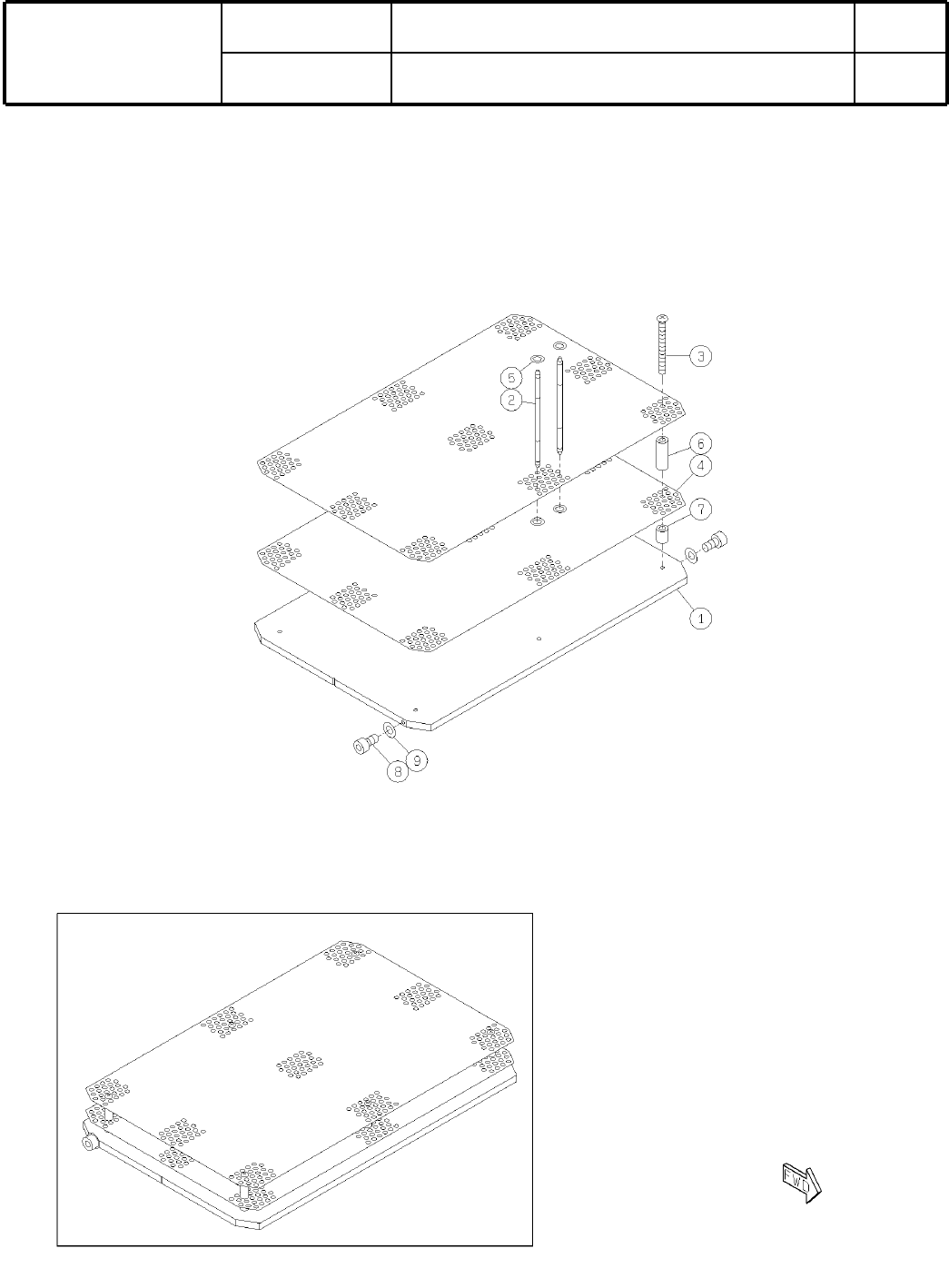
44-B
基
板
ストッパ(Dual)
Board Stopper(Dual)
パーツレイアウト
Kit No.
キット品
番
Kit Name
キット名称
N610002282AA
セクションNo.
PARTS LAYOUT
Section No.
S163

Ref
No.
Remarks
R
1
Q't
y
44-B
基
板
ストッパ(Dual)
Board Stopper(Dual)
イラスト
No.
Part No.
品 名品番 数量
R
2
パーツリスト
Kit No.
キット品
番
Kit Name
キット名称
N610002282AA
Part Name
備 考
セクションNo.
PARTS LIST
Section No.
R
3
STOPPER
1
1 KXFB04XXA01
BLOCK
1
2 KXFB04XYA00
BRACKET
1
3 N210004615AA
BRACKET
1
4 N210009231AA
BRACKET
1
5 KXFB04Y7A00
SPEED-CONTROLLER
1
6 KXF00Z1AA00 AS1311F-M5-04
SPRING
1
7 N510002515AA BWY6-35
BOLT
4
8 KXF0DY7VA00 NACB4-10
CYLINDER
1
9 KXF0DY8SA00 CJ2B16-DCG0805G-20(DDA)
PIN
1
10 KXF0DM5AA00 STEHN5.5A
PIN
1
11 N610002284AA
PIN
1
12 N610002286AA
SENSOR(150mm 220mm)
1
13 N610002290AA
SENSOR(300mm)
1
14 N610002291AA
RING
1
15 KXF08ZYAA00 R2.5X0.5
S164

45
基
板
下
受
ブロック(Dual)
Board Support Block for Dual Conveyor
パーツレイアウト
Kit No.
キット品
番
Kit Name
キット名称
N610003688AA
セクションNo.
PARTS LAYOUT
Section No.
S165