KE-3010_KE-3020V_KE-3020VR-Rev07.pdf - 第127页
- 118 - NOTE( 注記 ) #01....FOR MARKET EXCHANGING 市場交換用 #02....TYPE M M 仕様 #03....TYPE L L 仕様 #04....TYPE M(EN) M 仕様(EN) #05....TYPE L(EN) L 仕様(EN) #06....TYPE M(UNT IL M/C REV.D) M 仕様(マシン REV.D まで) #07....TYPE L(UNT IL M/…

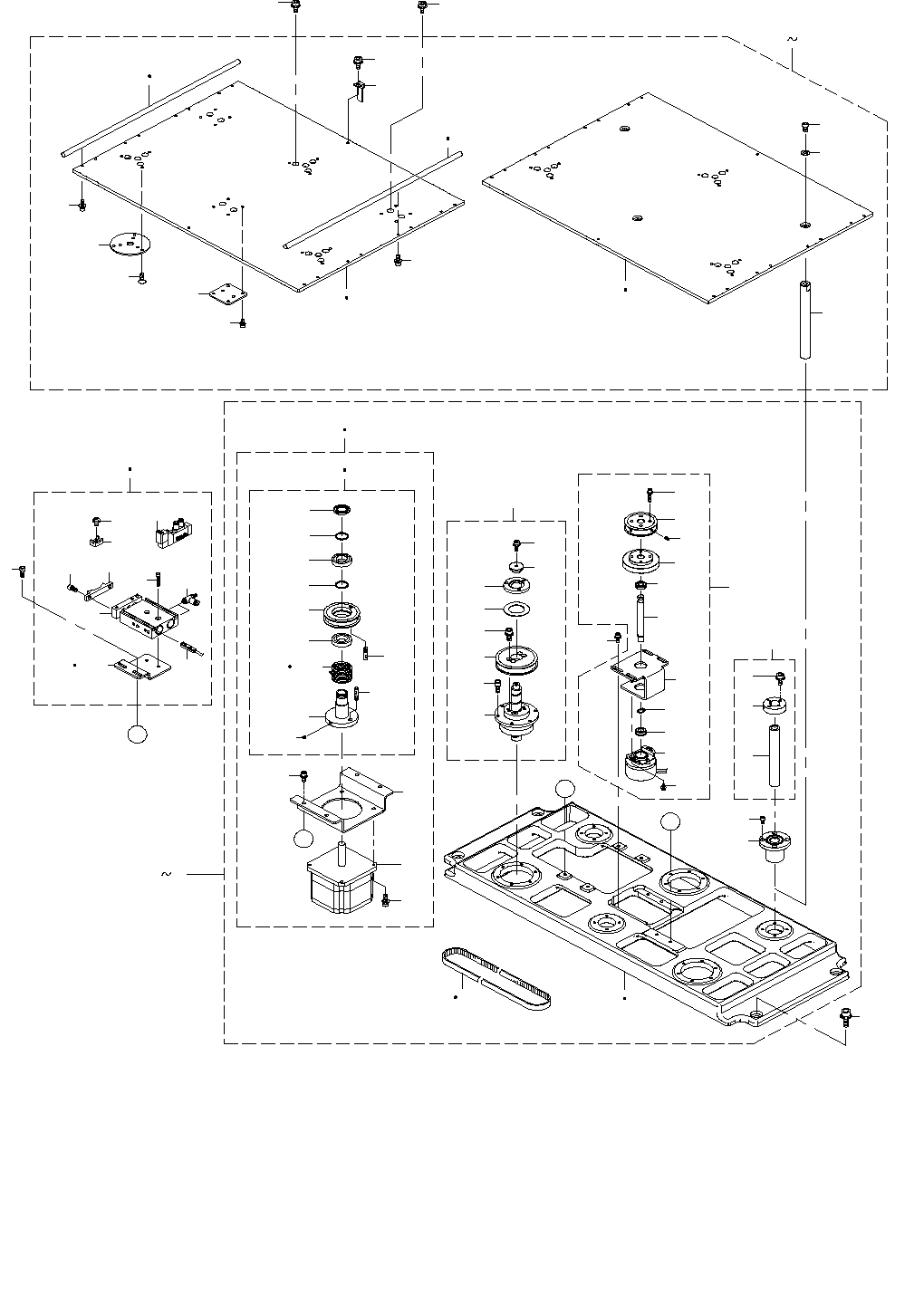
- 117 -
59.PWB CONVEYOR COMPONENTS(11)
基板搬送関係(11)
88
B
74
75
84
83
85
81
79
80
78
77
53
56
66
67
82
76
86
73
73
41
49
48
47
46
45
42
43
60
58
59
65
62
61
64
63
57
60
58
59
44
21
20
11
38
16
13
19
13
18
A
A
8
7
6
5
40
39
29
28
27
31
37
26
27
34
30
34
31
35
36
24
25
32
33
17
15
14
12
9
10
52
8
7
50 51
70
71
72
68 69
22 23
B
1 4

- 118 -
NOTE( 注記 ) #01....FOR MARKET EXCHANGING 市場交換用
#02....TYPE M M 仕様
#03....TYPE L L 仕様
#04....TYPE M(EN) M 仕様(EN)
#05....TYPE L(EN) L 仕様(EN)
#06....TYPE M(UNTIL M/C REV.D) M 仕様(マシン REV.D まで)
#07....TYPE L(UNTIL M/C REV.D) L 仕様(マシン REV.D まで)
#08....TYPE M(AFTER M/C REV.E) M 仕様(マシン REV.E 以降)
#09....TYPE L(AFTER M/C REV.E) L 仕様(マシン REV.E 以降)
#10....UNTIL M/C REV.D マシン REV.D まで
#11....AFTER M/C REV.E マシン REV.E 以降
*INSTALLATION POSITION AND DIRECTION VARY IF THE PWB TRANSFER
REFERENCE IS DIFFERENT.
基板搬送基準が異なると取付位置、方向が変わります。
REF.NO NOTE PART NO D E S C R I P T I O N
品 名
Qty
1
#06
401-10125 BU UNIT M
BUユニットM
1
2
#07
401-10205 BU UNIT L
BUユニットL
1
3
#08
401-34642 BU_UNIT_M
BUユニットM
1
4
#09
401-34644 BU_UNIT_L
BUユニットL
1
5
#10
400-80446 GUIDE SHAFT UNIT
ガイドシャフトユニット
(3)
6
#10
400-76103 BU GUIDE SHAFT
BUガイドシャフト
(1)
7
#10
L177E-521-000 GUIDE SHAFT HOLDER
ガイドシャフトホルダー
(1)
8
#10
SL-6041042-TN BOLT
座金付き六角穴ボルト
(2)
9
#02
401-06047 BU TIMING BELT M
BUタイミングベルトM
(1)
10
#04
400-71334 BU_TIMING_BELT
BU タイミングベルト
(1)
11 400-93903 ENCORDER UNIT
エンコーダユニット
(1)
12 SM-8040602-TP SCREW M4X0.7 L=6
止めねじ
(2)
13 SB-1100005-00 BEARING
ころがり軸受
(2)
14 E9433-729-0A0 BU ENC ASM.
BU ENC組
(1)
15 SL-6030692-TN SCREW M3 L=6
座金付き六角穴ボルト M3 L=6
(2)
16 400-93904 ENCORDER BR
エンコーダブラケット
(1)
17 400-93612 ENCORDER PULLEY
エンコーダプーリ
(1)
18 400-93905 ENCORDER SHAFT
エンコーダシャフト
(1)
19 RC-0100001-KP SNAP RING M10
C形止め輪 9.3
(1)
20 400-93906 STOPPER DISC
ストッパディスク
(1)
21 SL-6042092-TN SCREW M4 L=20
座金付き六角穴ボルト
(4)
22
#02
401-12719 BU MOTOR UNIT M
BUモータユニットM
(1)
23
#03
400-93901 BU MOTOR UNIT
バックアップモータユニット
(1)
24
#02
401-12720 TORQUE SUPPORT UNIT
トルクサポートユニット
(1)
25
#03
L177E-621-0A0 TORQUE SUPPORT UNIT
トルクサポートユニット
(1)
26 E4156-729-000 NUT (M17X1)
ナット(M17X1)
(1)
27 E4144-729-000 THRUST COLLAR
スラストカラー
(2)
28 L177E-621-000 TORQUE SUPPORT
トルクサポート
(1)
29 SM-8050402-TP SCREW
止めねじ
(2)
30 L177E-721-000 SPT TBL MOTOR PULLEY
SPT テーブルモータープーリー
(1)
31 E4142-729-000 STOPPER PIN
ストッパーピン
(2)
32
#02
E4141-729-000 TORSION SPRING
トーションスプリング
(1)
33
#03
L177E-821-000 TORTION SPRING
トーションスプリング
(1)
34 SB-1170001-00 BEARING
ころがり軸受
(2)
35 SL-6051292-TN BOLT
座金付き六角穴ボルト
(4)
36 400-48076 BACK UP MOTOR ASM
バックアップモータ組
(1)
37 SL-6051692-TN BOLT
座金付き六角穴ボルト
(4)
38 400-93902 BU MOTOR BR
バックアップモータブラケット
(1)
39 SB-8160001-00 BEARING
ころがり軸受
(3)
40 SM-6040802-TN SCREW M4X0.7 L=8
六角穴ボルト M4X0.7 L=8
(12)
41
#01
400-82786 STBL BALL SCREW UNIT
STBLボールねじユニット
(3)
42 L177E-221-000 SPT TBL PULLEY
SPT テーブルプーリー
(1)
43 L176E-821-000 SPT TBL BALL SCREW
SPT テーブルボールスクリュー
(1)
44 SM-6041002-TN BOLT
六角穴ボルト
(18)
45 SL-6041642-TN SCREW
座金付き六角穴ボルト
(4)
46 L176E-921-000 CLAMP HOLDER
クランプホルダー
(1)
47 L177E-021-000 HOLDER CUSHION
ホルダークッション
(1)
48 E4124-729-000 SHAFT HOLDER
シャフトホルダー
(1)
49 SL-6041092-TN SCREW
座金付き六角穴ボルト
(1)
50
#02
401-06043 BU BASE M
BUベースM
(1)
51
#03
401-06045 BU BASE L
BUベースL
(1)
52 SL-6041092-TN SCREW
座金付き六角穴ボルト
(4)
53
#06
401-10126 SUPPORT TABLE M ASM
サポートテーブルM組
1
54
#07
401-10206 SUPPORT TABLE L ASM
サポートテーブルL組
1
55
#08
401-34643 SUPPORT_TABLE_M_ASM
サポートテーブルM組
1
56
#09
401-34645 SUPPORT_TABLE_L_ASM
サポートテーブルL組
1
57
#10
L177E-421-000 GUIDE SHAFT PLATE
ガイドシャフトプレート
(3)
58
#03
L176E-121-000 SIDE BEAM
サイドビーム
(2)
59
#02
401-10097 SIDE BEAM M
サイドビームM
(2)
60 SL-6031092-TN SCREW
座金付き六角穴ボルト
(8)
61 400-93909 BU SENSOR DOG
BUセンサドグ
(1)
62 SM-1040801-SC SCREW M4X0.7 L=8
皿小ねじ M4X0.7 L=8
(9)
63
#10
SL-6041092-TN SCREW
座金付き六角穴ボルト
(12)
64 SL-6040892-TN BOLT
座金付き六角穴ボルト
(1)
65 L177E-121-000 BALL SCREW SUPPORT PLATE
ボールスクリューサポートプレート
(3)
66
#06
401-10096 SUPPORT TABLE M
サポートテーブルM
(1)
67
#07
401-10111 SUPPORT TABLE L
サポートテーブルL
(1)
68
#08
401-34595 SUPPORT_TABLE_M
サポートテーブルM
(1)
69
#09
401-34596 SUPPORT_TABLE_L
サポートテーブルL
(1)
70
#11
401-22963 BU_GUIDE_SHAFT
BUガイドシャフト
(3)
71
#11
SM-3061252-TN SCREW M6 L=12
丸ねじ M6 L=12
(3)
72
#11
WP-0651001-SC WASHER
平座金
(3)
73 SL-6040892-TN BOLT
座金付き六角穴ボルト
15
74
#05
401-14270 BU STOPER ASSY L
BUストッパ組L
1
75
#04
401-14269 BU STOPER ASSY M
BUストッパ組M
1
76 SM-6051002-TN SCREW
六角穴ボルト
(2)
77 PA-1501011-00 DUAL ROD CYLINDER
デュアルロッドシリンダ
(1)
78 SM-6042002-TN SCREW
六角穴ボルト
(2)
79
#04
401-10099 BU STOPPER BR M
BUストッパBR M
(1)
80
#05
400-94746 BU STOPPER BR
バックアップストッパBR
(1)
81 PC-0105080-00 SPEED CONTROLLER
スピードコントローラ
(2)
82 400-92574 BU LOCK SENS ASM
BU ロックセンサ組
(1)
83 HX-0029400-00 FIXED BASE
固定ベース
(1)
84 SM-4040801-SC SCREW M4X0.7 L=8
なべ小ねじ M4X0.7 L=8
(1)
85 PV-1502090-00 5-PORT SOLENOID VALVE
5ポート電磁弁
(1)
86 400-00970 BU STOPER
BUストッパ
(1)
87 SL-6082092-TN BOLT
座金付き六角穴ボルト
4
88 SM-6051402-TN SCREW M5 L=14
六角穴ボルト M5 L=14
2

- 119 -
60.PWB CONVEYOR COMPONENTS(12)(TYPE XL)
基板搬送関係(12)(XL 仕様)
1
7
11
9
13
14
31
31
23
19
26
28
29
18
32
A
A
C
D
B
25
21
21
23
19
26
3
3
22
27
33
35
34
25
24
27
24
36
38
30
12
C
5
6
5
6
6
6
10
8
8
8
8
10
10
10
2
4
7
4
D
30
B
24
25
16
25
25
17
17
25
37
36
38
37
20
25
16
15
E
E