Q4Z4C-E-MPA-69.pdf - 第407页
Ref No. Remarks R 1 Q'ty 40 基板下受 ブロ ック ( Dual ) Board Support Block for Dual Conveyor イラスト No. Part No. 品 名 品番 数量 R 2 パー ツ リ スト Kit No. キ ット 品番 Kit Name キ ット 名称 N610003688AA Part Name 備 考 セクション No . PARTS LIST Secti…

40
基板下受
ブロック
(
Dual
)
Board Support Block for Dual Conveyor
パーツレイアウト
Kit No.
キット
品番
Kit Name
キット
名称
N610003688AA
セクション
No
.
PARTS LAYOUT
Section No.
-
-
S181
( KN610003688AA-02 )

Ref
No.
Remarks
R
1
Q'ty
40
基板下受
ブロック
(
Dual
)
Board Support Block for Dual Conveyor
イラスト
No.
Part No.
品 名品番 数量
R
2
パーツリスト
Kit No.
キット
品番
Kit Name
キット名称
N610003688AA
Part Name
備 考
セクション
No
.
PARTS LIST
Section No.
R
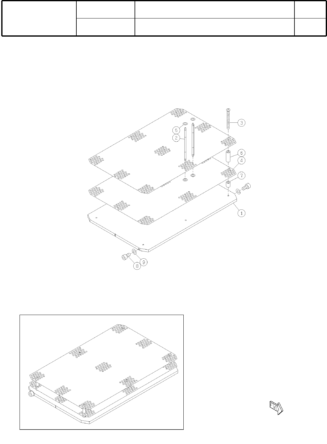
3
PLATE
1
1 N210004322AA
PIN
20
2 KXFB00VCA01
SCREW
6
3 KXFB00UPA00
PLATE
2
4 KXFB04Z7A00
O-RING
40
5 KXF0DHMAA00 ID2XW0.5 gray NBR60deg
SPACER
6
6 N510017088AA CB-2614E
SPACER
6
7 N510017087AA CB-2606E
BOLT
2
8 XVE26B5FTC
Hexagon socket head cap screw M2.6X5-12.9 SOB
WASHER
2
9 N510018476AA
Small round-plain washer 2.6 10H A2J (Trivalent)
S182
-
-
( KN610003688AA-02 )

41
ノズルケース
:
大
ノズル
用
Nozzle Case:Large Nozzle Type
パーツレイアウト
Kit No.
キット
品番
Kit Name
キット
名称
N610008707AA
セクション
No
.
PARTS LAYOUT
Section No.
-
-
S183
( KN610008707AA-00 )