机械零件 Patrs List.pdf - 第242页
9 ノズルチェンジャ( 多機能 ヘッド) Nozzle Changer (Multi-Functional heads) パーツレイアウト Kit No. キット品 番 Kit Name キット名称 KXFX036XA00 セクションNo. PARTS LAYOUT Section No. S39

Ref
No.
Remarks
R
1
Q't
y
8
ノズルチェンジャ(8ノズルヘッド):CM602-L
Nozzle Changer (8 Nozzle Head): CM602-L
イラスト
No.
Part No.
品 名品番 数量
R
2
パーツリスト
Kit No.
キット品
番
Kit Name
キット名称
N610073644AA
Part Name
備 考
セクションNo.
PARTS LIST
Section No.
R
3
SHUTTER
1
1 N210099355AA
HOLDER
1
2 N210091102AB
HOLDER
1
3 N210091023AC
BRACKET
1
4 KXFB02KJA00
COVER
1
5 N210095370AA
GUIDE
2
6 KXFB02KKA00
COLLAR
6
7 KXFB02KLA00
SHEET
1
8 N210061547AB
POST
3
9 N510041614AA LSBGT19-161.2
COLLAR
2
10 N210096662AA
BRACKET
1
11 N210090969AB
SPEED-CONTROLLER
2
12 KXF00YMAA00 AS1201F-M5-04
FLOATING-JOINT
1
13 N510031110AA 87FJT4-0.7-3
VALVE
1
14 KXF0A3RAA00 VQZ1220-5MO-C4
SILENCER
2
15 KXF00WCAA00 AN120-M5
JOINT
1
16 KXF02C3AA00 KQL06-M5
PIN
2
17 N510026246AA 87MS3-15
BEARING
8
18 KXF0AB1AA00 634ZZ1MC3
PIN
4
19 N510019524AA 87MS4-15
WASHER
8
20 N510025611AA MMSRB4.5-1.0
BOLT
7
21 N510017613AA
Hexagon socket Flat head bolt M3X8-10.9 A2J (Trivalent)
WASHER
7
22 N510025610AA MMSRB4-0.5
PIN
1
24 N510025080AA 87STMH6
STOPPER-BOLT
2
25 KXF0CVEAA00 UNAH3-15(DA KXF0CVEAA00)
CYLINDER
1
26 N610029483AB
BOLT
4
27 N510017313AA
Hexagon socket head cap screw M3X16-10.9 A2J (Trivalent)
BOLT
2
28 N986YYYY-F96 LH0408
BOLT
2
29 N510017344AA
Hexagon socket head cap screw M4X10-10.9 A2J (Trivalent)
BOLT
4
30 N510017346AA
Hexagon socket head cap screw M4X12-10.9 A2J (Trivalent)
BOLT
6
31 N510036448AA LH0425 Trivalent chromate
BOLT
3
32 N510017395AA
Hexagon socket head cap screw M5X16-10.9 A2J (Trivalent)
WASHER
2
33 N510018478AA
Small round-plain washer 3 10H A2J (Trivalent)
WASHER
1
34 N510018497AA
Round finish plain washer 4 10H A2J (Trivalent)
WASHER
2
36 N510018479AA
Small round-plain washer 4 10H A2J (Trivalent)
S38

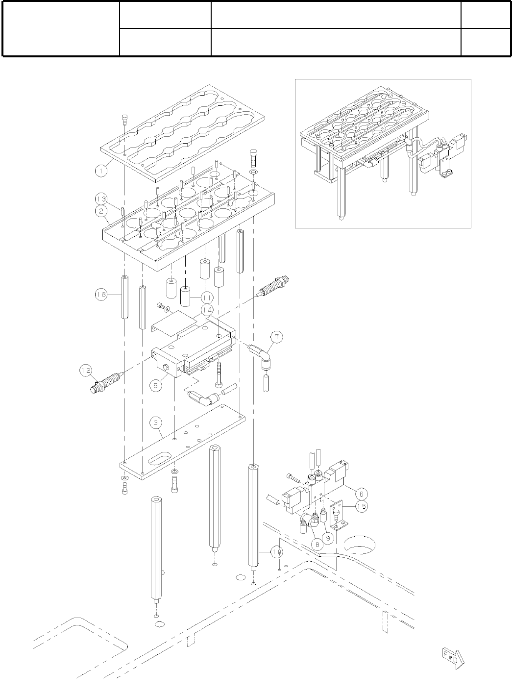
9
ノズルチェンジャ(
多機能
ヘッド)
Nozzle Changer (Multi-Functional heads)
パーツレイアウト
Kit No.
キット品
番
Kit Name
キット名称
KXFX036XA00
セクションNo.
PARTS LAYOUT
Section No.
S39

Ref
No.
Remarks
R
1
Q't
y
9
ノズルチェンジャ(
多機能
ヘッド)
Nozzle Changer (Multi-Functional heads)
イラスト
No.
Part No.
品 名品番 数量
R
2
パーツリスト
Kit No.
キット品
番
Kit Name
キット名称
KXFX036XA00
Part Name
備 考
セクションNo.
PARTS LIST
Section No.
R
3
SHUTTER
1
1 KXFB02K9A00
HOLDER
1
2 N210002106AA
PLATE
1
3 KXFB02KBA00
CYLINDER
1
5 N610034897AA
VALVE
1
6 KXF0A3RAA00 VQZ1220-5MO-C4
JOINT
2
7 KXF02E8AA00 KQW04-M5
JOINT
1
8 KXF02C3AA00 KQL06-M5
SILENCER
2
9 KXF00WCAA00 AN120-M5
POST
3
10 KXF0DWQ3A01 LSBWRKT-12-150-1(DA KXF0DWQ3A01)
COLLAR
4
11 KXF0CY3AA00 ABSC4-12-23.0
SHOCK-ABSORBER
2
12 KXF0D32AA00
A
RB0805
PIN
20
13 KXF02XVAA00 MS3-10
COVER
1
14 KXFB02KXA00
BRACKET
1
15 KXFB02SWA00
POST
4
16 KXF0DWQ2A00 LSBFT-7-62.4(DDA)
S40