NPM-D3.pdf - 第233页
Ref No. Remark s R 1 Q'ty 6-B 付属品(PC デュアルコンベア):NPM-D2 Attachment(PC Dual Convey or ):NPM -D2 イラスト No. Part No. 品 名 品 番 数量 R 2 パーツリスト Kit No. キット品番 Kit Name キット名称 N610152384AA Part Nam e 備 考 セク ション No . PARTS LIST Se…

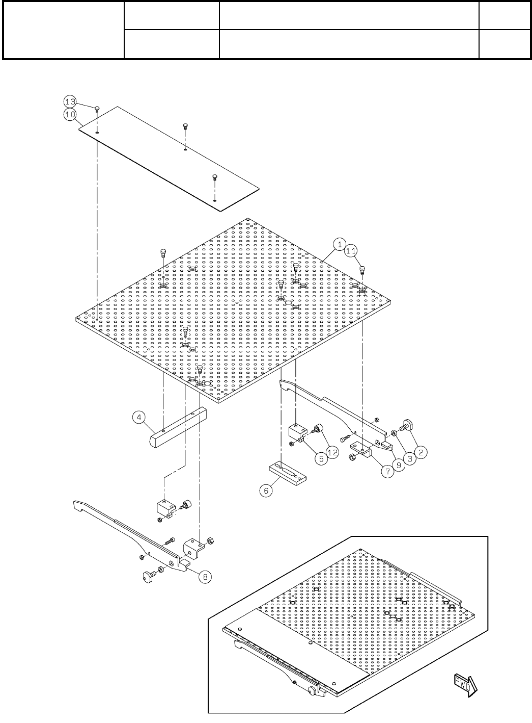
6-B
付属品(PC デュアルコンベア):NPM-D2
Attachment(PC Dual Conveyor ):NPM-D2
パーツレイアウト
Kit No.
キット品番
Kit Name
キット名称
N610152384AA
セクションNo.
PARTS LAYOUT
Section No.
--
O39
( KN610152384AA-04-2 )

Ref
No.
Remarks R
1
Q'ty
6-B
付属品(PC デュアルコンベア):NPM-D2
Attachment(PC Dual Conveyor ):NPM-D2
イラスト
No.
Part No.
品 名品 番 数量
R
2
パーツリスト
Kit No.
キット品番
Kit Name
キット名称
N610152384AA
Part Name
備 考
セクションNo.
PARTS LIST
Section No.
R
3
BELT
1
1 N510060977AA
A
TA-4UEB M/D 4.5WX990.0L
BELT
1
2 N510065133AA
A
TA-4UEB M/D 4.5WX1566.0L
O40
--
( KN610152384AA-04-2 )

7
基板下受けブロック一括交換式(Front側):NPM-D2
Batch Exchange Unit For Board Support Block(Front Side):N
パーツレイアウト
Kit No.
キット品番
Kit Name
キット名称
N610150726AC
セクションNo.
PARTS LAYOUT
Section No.
--
O41
( KN610150726AC-03 )