NPM-D3.pdf - 第286页
22 交換台車支持部(後側):NPM Feeder cart support(rear side):NPM パーツレイアウト Kit No. キット 品番 Kit Name キット名称 N610073133AA セクションNo. PARTS LAYOUT Section No. - - O93 ( KN610073133AA-08 )

Ref
No.
Remarks R
1
Q'ty
21
交換台車ガイド部(後側):NPM
Feeder cart guide(rear side):NPM
イラスト
No.
Part No.
品 名品 番 数量
R
2
パーツリスト
Kit No.
キット品番
Kit Name
キット名称
N610073132AA
Part Name
備 考
セクションNo.
PARTS LIST
Section No.
R
3
GUIDE
1
1 N210105908AC
BRACKET
1
2 N210105763AF
BRACKET
1
3 N210097144AC
SPACER
5
4 N510016347AA 3382330-40030
NUT-PLATE
1
5 N210143038AA
O92
--
( KN610073132AA-07 )

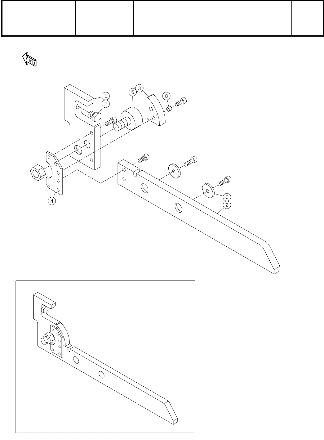
22
交換台車支持部(後側):NPM
Feeder cart support(rear side):NPM
パーツレイアウト
Kit No.
キット品番
Kit Name
キット名称
N610073133AA
セクションNo.
PARTS LAYOUT
Section No.
--
O93
( KN610073133AA-08 )

Ref
No.
Remarks R
1
Q'ty
22
交換台車支持部(後側):NPM
Feeder cart support(rear side):NPM
イラスト
No.
Part No.
品 名品 番 数量
R
2
パーツリスト
Kit No.
キット品番
Kit Name
キット名称
N610073133AA
Part Name
備 考
セクションNo.
PARTS LIST
Section No.
R
3
PLATE
1
1 N210109741AA
PLATE
1
2 N210091018AB
GUIDE
1
3 N210091019AC
PLATE
1
4 N210091013AA
CAM-FOLLOWER
1
5 N510032929AA CF12VBUUR
WASHER
3
6 N210117333AA
STOPPER
1
7 N510029795AA SPM-M8
SPACER
2
8 N510020062AA 3382330-50050
O94
--
( KN610073133AA-08 )