NXTII机械手册.pdf - 第107页
QD145-15 4. 传感器配置图 NXT II 机械手册 83 4.16.3 往复臂 No. 地址 信号名 1 OUT20 往复臂开关夹紧 2 IN10 往复 臂后退端 3 IN12 往复 臂打开确认 4 IN11 往复 臂夹紧确认 5 IN14 往复 臂料盘高度监视 (中) 6 IN13 往复 臂料盘高度监视 (下) 01M E C - 0503a 1 2 3 4 T ray un i t -L T C 6 5

4. 传感器配置图 QD145-15
82 NXT II 机械手册
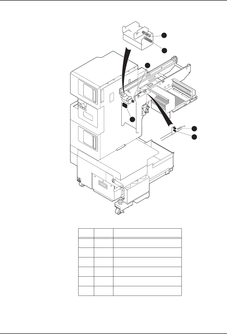
4.16.2 料盘塔
No. 地址 信号名
1 IN1F 下部料盘箱锁定确认
2 IN1E 上部料盘箱锁定确认
3 IN1C 上部料盘箱锁定确认
4 IN1D 下部料盘箱锁定确认
5 IN22 上部料盘箱料盘高度确认
6 IN24 下部料盘箱料盘高度确认
7 IN21 托架收存确认
8 IN20 料盘箱干涉确认
9 - 往复臂料盘高度监视 (中)
10 - 往复臂料盘高度监视 (下)
01MEC-0502a
1
2
9
10
Tray unit-LTC
5
6
7
7
3
4
8

QD145-15 4. 传感器配置图
NXT II 机械手册 83
4.16.3 往复臂
No. 地址 信号名
1 OUT20 往复臂开关夹紧
2 IN10 往复臂后退端
3 IN12 往复臂打开确认
4 IN11 往复臂夹紧确认
5 IN14 往复臂料盘高度监视 (中)
6 IN13 往复臂料盘高度监视 (下)
01MEC-0503a
1
2
3
4
Tray unit-LTC
6
5

4. 传感器配置图 QD145-15
84 NXT II 机械手册
4.16.4 元件搬运轨道
No. 地址 信号名
1 IN02 JOG 模式
2 IN04 不良元件排出许可确认 (旁侧)
3 IN03 不良元件排出许可确认 (中央)
4 IN05 不良元件 C/V 送料记数
Tray unit-LTC
4
1
3
2
01MEC-0504