N7202A058B.pdf - 第216页
7 下受ピンセット治具: NPM-T T2 Support Pin Settin g Jig:NPM -TT2 パーツレイアウト Kit No. キット品番 Kit Name キット名称 MTKA008691A A セクシ ョンNo. PARTS LAYO UT Section No. - - O33 ( KMTKA008691AA-01 )

Ref
No.
Remarks R
1
Q'ty
6
基板下受けブロックシングル対応:NPM-TT
Board Support Block For Single:NPM-TT
イラスト
No.
Part No.
品 名品 番 数量
R
2
パーツリスト
Kit No.
キット品番
Kit Name
キット名称
N610136589AA
Part Name
備 考
セクションNo.
PARTS LIST
Section No.
R
3
PLATE
1
1 N210161349AB
PIN
2
2 N210161075AA
COLLAR
2
3 N210156596AA
BRACKET
1
4 N210168109AB
BRACKET
2
5 N210161077AB
BRACKET
2
6 N210156599AB
LEVER
1
7 N210161078AC
LEVER
1
8 N210161079AC
BOLT
12
9 N510067773AA Low Head Cap Screw M4X8-8.8 A2J(Trivalent)
CAM-FOLLOWER
2
10 KXF00BFAA00 CF3UU-A
BLOCK
1
11 N210166704AA
O32
--
( KN610136589AA-08 )

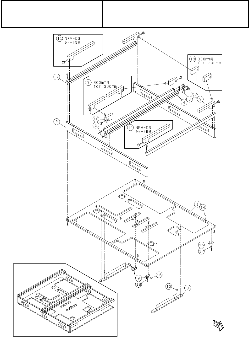
7
下受ピンセット治具:NPM-TT2
Support Pin Setting Jig:NPM-TT2
パーツレイアウト
Kit No.
キット品番
Kit Name
キット名称
MTKA008691AA
セクションNo.
PARTS LAYOUT
Section No.
--
O33
( KMTKA008691AA-01 )

Ref
No.
Remarks R
1
Q'ty
7
下受ピンセット治具:NPM-TT2
Support Pin Setting Jig:NPM-TT2
イラスト
No.
Part No.
品 名品 番 数量
R
2
パーツリスト
Kit No.
キット品番
Kit Name
キット名称
MTKA008691AA
Part Name
備 考
セクションNo.
PARTS LIST
Section No.
R
3
PLATE
1
1 N210199856AB
PLATE
2
2 MTPA014056AA
PLATE
2
3 N210164848AB
GUIDE
2
4 N210174116AA
PLATE
2
5 N210164849AB
GUIDE
2
6 N210174117AA
GUIDE
2
7 N210199857AA
STOPPER
2
8 N210161448AB
BLOCK
2
9 N210161449AB
GUIDE
2
10 N210161447AB
GUIDE
2
11 MTPA011693AA
KNOB
8
12 N986KNMS-834 KNMS-16-M4X10
PIN
6
13 N510020617AA MMS6-10
PIN
4
14 N510020618AA MMS6-15
RUBBER-LEG
5
15 N982TK5183 TK-26
PLUNGER
2
16 N510060262AA MPS-5
SPACER
5
17 N510014226AA CF-304.5ZE
SPACER
2
18 N510020954AA SM-401E
O34
--
( KMTKA008691AA-01 )