N7202A058B.pdf - 第261页
Ref No. Remark s R 1 Q'ty 20-B トレイフィ ーダ引 出部:NPM Tray F eeder Draw ing-out Section:NP M イラスト No. Part No. 品 名 品 番 数量 R 2 パーツリスト Kit No. キット品番 Kit Nam e キット名称 N610069934AA Part Nam e 備 考 セクションN o. PARTS LIST Section N…

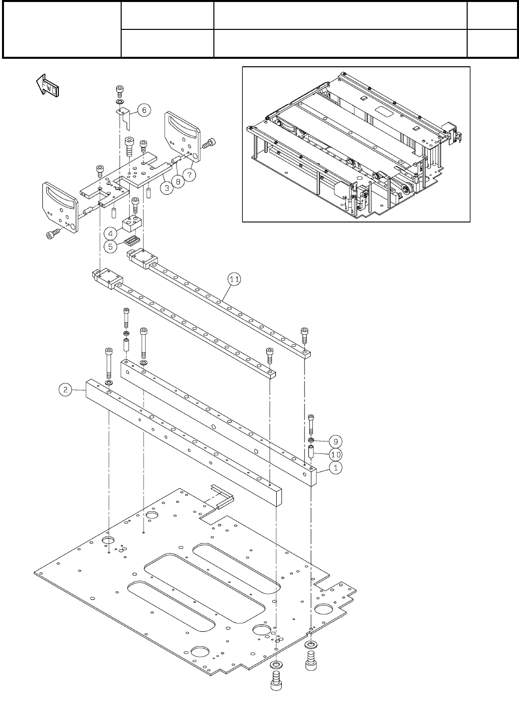
20-B
トレイフィーダ引出部:NPM
Tray Feeder Drawing-out Section:NPM
パーツレイアウト
Kit No.
キット品番
Kit Name
キット名称
N610069934AA
セクションNo.
PARTS LAYOUT
Section No.
--
O77
( KN610069934AA-21-2 )

Ref
No.
Remarks R
1
Q'ty
20-B
トレイフィーダ引出部:NPM
Tray Feeder Drawing-out Section:NPM
イラスト
No.
Part No.
品 名品 番 数量
R
2
パーツリスト
Kit No.
キット品番
Kit Name
キット名称
N610069934AA
Part Name
備 考
セクションNo.
PARTS LIST
Section No.
R
3
BLOCK
1
1 N210086821AB
BLOCK
1
2 N210086822AB
BLOCK
1
3 N210086824AB
BRACKET
1
4 N210039996AA
PLATE
1
5 KXFB0188A00
DOG
1
6 N210094152AA
CAM-PLATE
2
7 N210040003AC
PIN
12
8 KXF0CXSAA00 1017003-30008
COLLAR
2
9 N510035834AA 87JC6-20
SPACER
2
10 N510020332AA CB-520E
LINEAR-WAY
2
11 MTNB001355AA SRS12NUU+415LM(H0326284G000)
O78
--
( KN610069934AA-21-2 )

20-C
トレイフィーダ引出部:NPM
Tray Feeder Drawing-out Section:NPM
パーツレイアウト
Kit No.
キット品番
Kit Name
キット名称
N610069934AA
セクションNo.
PARTS LAYOUT
Section No.
--
O79
( KN610069934AA-21-3 )