00195044-16_UM_VisionTeachStation_DE_EN.pdf - 第36页
5 Kameras installieren Bedienungsanleitung Vision Teach Station 5.1 Stationäre Kameras des Typs 25, 33 und 36 installieren Ausgabe 05/2016 36 (4) Innensechskantschraube M6 x 12, 2 Stück (5) Grundplatte (6) Bohrung für Zy…

Bedienungsanleitung Vision Teach Station 5 Kameras installieren
Ausgabe 05/2016 5.1 Stationäre Kameras des Typs 25, 33 und 36 installieren
35
5.1.2 Kamera am Grundmodul installieren
5.1.2.1 Benötigtes Werkzeug
Sechskantstiftschlüssel, Satz
5.1.2.2 Halterung für den Kameratyp 33, 36 und 25 montieren
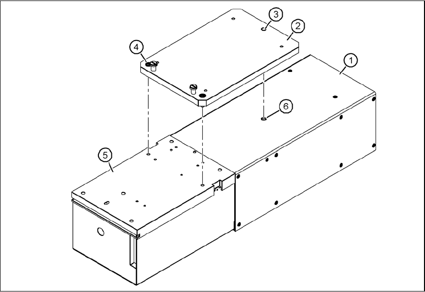
Drehen Sie die Kamera um die Längsachse 180°, sodass die Grundplatte (Pos. 5) nach oben
zeigt.
Setzen Sie die Halterung (Pos. 2) so auf die Kamera, dass der Zylinderstift (Pos. 3) in die
Bohrung (Pos. 6) des Beleuchtungskopfes (Pos. 1) gleitet.
Befestigen Sie die Halterung (Pos. 2) mit den beiden Innensechskantschrauben M6 x 16
(Pos. 4) auf der Grundplatte (Pos. 5).
Der Beleuchtungskopf kann sich nun nicht mehr vom Grundmodul lösen.
5
Abb. 5.1 - 6 Halterung für Kameratyp 33 montieren
(1) Beleuchtungskopf
(2) Halterung Typ 33/36, Artikel-Nr. 03039467-xx; Halterung Typ 25, Artikel-Nr. 03039471-xx
(3) Zylinderstift

5 Kameras installieren Bedienungsanleitung Vision Teach Station
5.1 Stationäre Kameras des Typs 25, 33 und 36 installieren Ausgabe 05/2016
36
(4) Innensechskantschraube M6 x 12, 2 Stück
(5) Grundplatte
(6) Bohrung für Zylinderstift
5.1.2.3 Kameratypen 33, 36 und 25 an der Säule befestigen
Hängen Sie die Kamera (Pos. 1 in Abb. 5.1 - 7, Seite 37) mit den beiden Spezialschrauben in
die Aussparungen der Trägerplatte (Pos. 3 in Abb. 5.1 - 7, Seite 37) ein.
Befestigen Sie die Halterung (Pos. 2 in Abb. 5.1 - 7, Seite 37) an der Trägerplatte (Pos. 3 in
Abb. 5.1 - 7, Seite 37) mit den 4 Innensechskantschrauben M6 x 20 (Pos. 5 in Abb. 5.1 - 7,
Seite 37).
WARNUNG 5
Die Kamera darf nicht lose an der Trägerplatte (Pos. 3 in Abb. 5.1 - 7, Seite 37) eingehängt sein.
Sie muss aus Sicherheitsgründen mit den 4 Innensechskantschrauben M6 x 20 an der Träger-
platte angeschraubt sein.
Lösen Sie die Arretierung der Positioniereinheit (Pos. 13 in Abb. 5.1 - 7, Seite 37), indem Sie
den Drehknopf (Pos. 12 in Abb. 5.1 - 7, Seite 37) des Magnetschalters in Richtung Säule
drehen.
Schieben Sie die Positioniereinheit (Pos. 13 in Abb. 5.1 - 7, Seite 37) aus dem Bereich der
Kamera.
Befestigen Sie die BE-Auflage (Pos. 9 in Abb. 5.1 - 7, Seite 37) auf der Aufnahme (Pos. 10 in
Abb. 5.1 - 7, Seite 37) mit den beiden Innensechskantschrauben M3 x 8 (Pos. 8 in Abb.
5.1 - 7, Seite 37).
Arretieren Sie nach der Montage der BE-Auflage wieder die Positioniereinheit.

Bedienungsanleitung Vision Teach Station 5 Kameras installieren
Ausgabe 05/2016 5.1 Stationäre Kameras des Typs 25, 33 und 36 installieren
37
5
Abb. 5.1 - 7 Kameratyp 33 an der Säule befestigen