N7202A057B.pdf - 第320页
22-C 部品排出コンベア:NPM Component Eject Convey or:NPM パーツレイアウト Kit No. キット 品番 Kit Name キット名称 N610090811AA セクションNo. PARTS LAYOUT Section No. - - O93 ( KN610090811AA-05-3 )

Ref
No.
Remarks R
1
Q'ty
22-B
部品排出コンベア:NPM
Component Eject Conveyor:NPM
イラスト
No.
Part No.
品 名品 番 数量
R
2
パーツリスト
Kit No.
キット品番
Kit Name
キット名称
N610090811AA
Part Name
備 考
セクションNo.
PARTS LIST
Section No.
R
3
PULLEY
1
1 N210084071AB
NUT
1
2 N210093730AA
SHAFT
1
3 N210092814AA
PLATE
2
4 N210092815AA
PLATE
1
5 N210092816AA
PLATE
1
6 N210092817AA
STOPPER
1
7 N210111351AA
FRAME
1
8 N210111352AA
COVER
1
9 N210111935AA
COVER
1
10 N210111353AA
COVER
1
11 N210111354AA
BLOCK
2
12 KXFB02TLA00
BRACKET
2
13 N210092826AA
GEAR
1
14 N610067429AB
GEAR
1
15 N210046646AB
GEAR
1
16 N610067430AB
SCREW
6
17 N510034975AA
Cross recessed Countersunk head machine screw M1.7X5-4.8 E2U
BEARING
2
18 KXF03FVAA00 SFB30-7
BEARING
2
19 N510034980AA SFB30-5
SPACER
4
20 N510030912AA CB-314E
GEAR
1
21 N610074958AA
BOLT
4
22 N510018816AA
Hexagon socket head cap screw M5X22-10.9 A2J (Trivalent)
O92
--
( KN610090811AA-05-2 )

22-C
部品排出コンベア:NPM
Component Eject Conveyor:NPM
パーツレイアウト
Kit No.
キット品番
Kit Name
キット名称
N610090811AA
セクションNo.
PARTS LAYOUT
Section No.
--
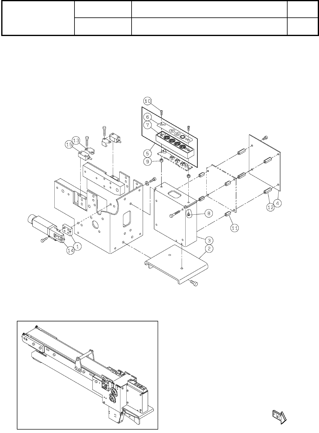
O93
( KN610090811AA-05-3 )

Ref
No.
Remarks R
1
Q'ty
22-C
部品排出コンベア:NPM
Component Eject Conveyor:NPM
イラスト
No.
Part No.
品 名品 番 数量
R
2
パーツリスト
Kit No.
キット品番
Kit Name
キット名称
N610090811AA
Part Name
備 考
セクションNo.
PARTS LIST
Section No.
R
3
SPACER
1
1 N210084073AB
KNOB
1
2 N210111349AB
COVER
1
3 N210111355AA
COVER
1
4 N210111356AA
SWITCH-BOX
1
5KXFW1KXFA01
SEAL
1
6 KXF0DWTLA00 NP(DA KXF0DWTLA00)
BOX
1
7 KXFA1L1BA02
SCREW
2
8 XSN25+4VW
Cross recessed Pan head machine screw M2.5X4-A2-70
SPACER
2
9 N510017039AA ASB-2504E
SCREW
2
10 XSN25+8VW
Cross recessed Pan head machine screw M2.5X8-A2-70
SPACER
4
11 N510017046AA ASB-310E
SPACER
4
12 N510020883AA ASB-315E
SLIT
2
13 KXF0DG6AA00 OS-EX20E-05
MOTOR
1
14 N610095153AC
SENSOR
1
15 N610091983AB
O94
--
( KN610090811AA-05-3 )