高速FLEX贴片机KE-2050&KE-2060操作手册.pdf.pdf - 第153页
第4章 生产程序制作 Rev01 4-1 1 2) 定位孔位置 输入从基板位置基准来看的基准销的位置。 (在基本设置中将定位方式作为外形基准时,不必设置该项目。) 使用CAD数据时,如果需要将决定的原点(CAD原 点或自己公司特有的原点)作为基板位置基准, 请输入由CAD等决定的从基板位置基准到基准位置的尺寸。 ※ 基板位置基准与基准位置一致时,在定位孔位置的 X、Y 坐标中输入(0,0)。 当传送为前面基准, 基板的传送方向 为左→右…

第4章 生产程序制作 Rev01
4-10
4-3-3-2-2 单电路板
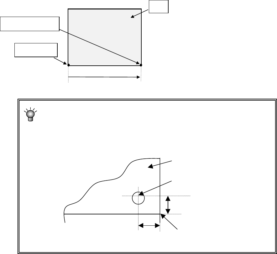
图 4-3- 3基板数据 尺寸设置画面(单电路板)
1) 基板外形尺寸
输入基板外形尺寸。
带有摸型基板时,请输入包括模型基板在内
的尺寸。
与传送方向相同的方向为X,与传送方向成直
角的方向为Y。
外形尺寸 X
外形尺寸 Y

第4章 生产程序制作 Rev01
4-11
2) 定位孔位置
输入从基板位置基准来看的基准销的位置。
(在基本设置中将定位方式作为外形基准时,不必设置该项目。)
使用CAD数据时,如果需要将决定的原点(CAD原点或自己公司特有的原点)作为基板位置基准,
请输入由CAD等决定的从基板位置基准到基准位置的尺寸。
※ 基板位置基准与基准位置一致时,在定位孔位置的 X、Y 坐标中输入(0,0)。
当传送为前面基准,基板的传送方向
为左→右时,以左图的定位孔为基
准。当左下角有基板位置基准时,分
别在定位孔位置的 X、Y 坐标中输入
Xa、Ya(X、Y 均为正值)的值。
基板位置基准
基准位置
基板
Xa
Ya

第4章 生产程序制作 Rev01
4-12
3) 基板设计偏移量
以基板基准位置为起点,输入所设计的基板各端点的数值。
使用CAD数据时,需要将决定的原点(CAD原点或自己公司特有的原点)作为基板位置基准时,
输入由CAD等决定的从基板位置基准到基准位置(基板设计端点)的尺寸。
通常,基准孔的中心在离基板角 X、Y 均为±5mm 的位置。因此,当“定位孔位
置”与基板位置基准相同时,基板位置基准与“基板设计端点”的尺寸值 X、Y
均为±5mm。
前面基准、L→R 时:
基板
定位孔位置(=基板位置基准)
5mm
基板设计端点
传送为前面基准,基板流向为左→
右时,如果基板左下角有基板位置
基准,在基板设计偏移量的 X、Y 坐
标中分别输入(Xb,0)的值。
Xb 取正值。
5mm
基板位置基准
基板设计端点
基板
Yb=0
Xb