BM123 Mechanical 20160307.pdf - 第262页
一括交換カート部(高さ 対応部) BATCH EXCHA NGE CART SECT.(HEI GHT TYPE SECT .) 31 F10862-17-900-AA M237

PART NAME
REMARKS
Q'TY
30
搬送高さ(H=940)
DRIVE AMOUNT(H=940)
イラスト
No.
REF
No.
PART No.
部 品 名 品 番 個数 備 考
R
1
R
2
1 1045268250
SMEMA UNIT SMEMA ユニット
1
251 N210044882AA
SPACER スペーサ
1
252 N210032390AA
BRACKET ブラケット
M236
F10452-68-250-AB_01

一括交換カート部(高さ対応部)
BATCH EXCHANGE CART SECT.(HEIGHT TYPE SECT.)
31
F10862-17-900-AA
M237

PART NAME
REMARKS
Q'TY
31
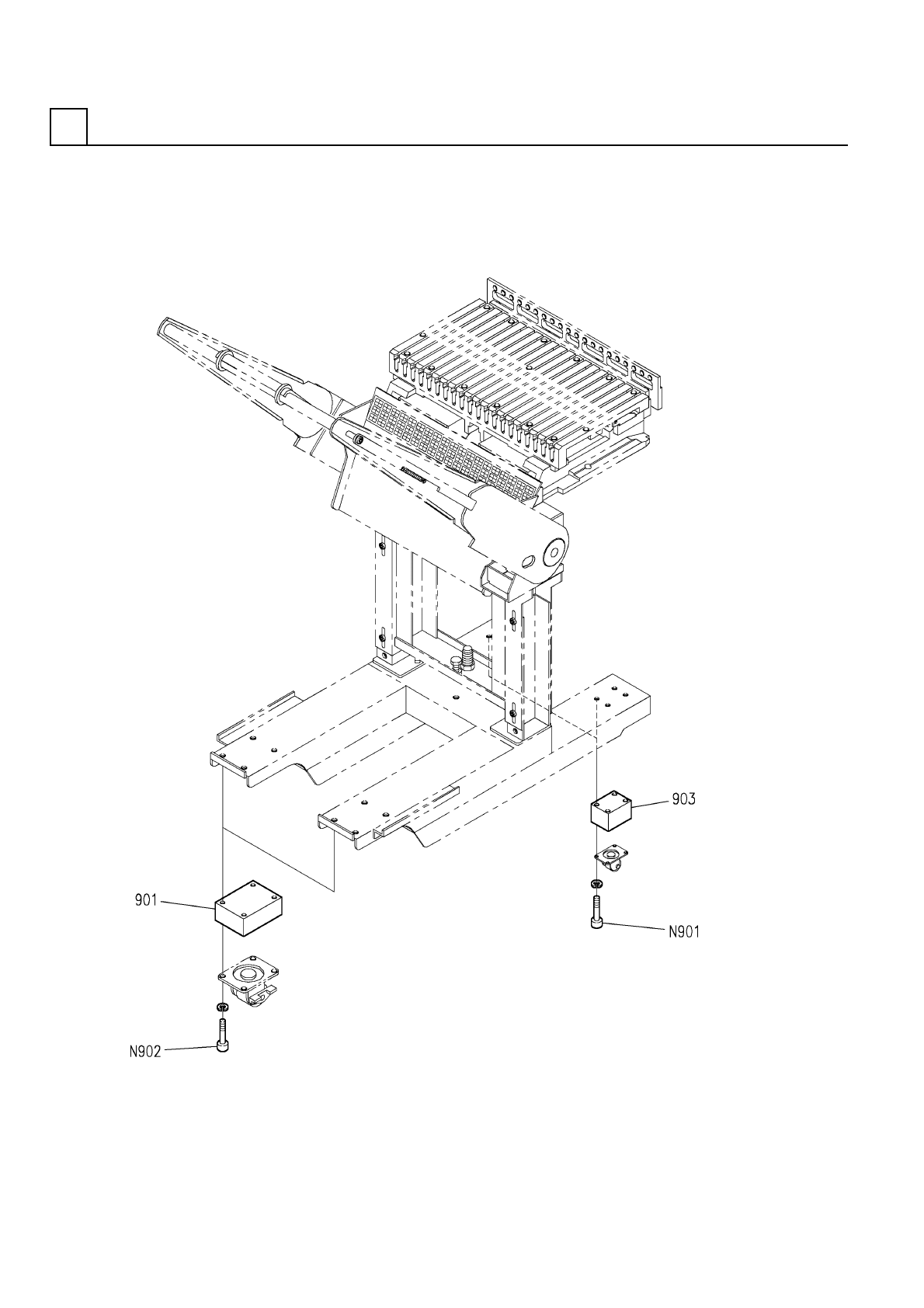
一括交換カート部(高さ対応部)
BATCH EXCHANGE CART SECT.(HEIGHT TYPE SECT.)
イラスト
No.
REF
No.
PART No.
部 品 名 品 番 個数 備 考
R
1
R
2
1 1086217900
HEIGHT TYPE UNIT タカサタイオウユニット
2
901 1086217901
BLOCK ブロック
2
903 1086217903
BLOCK ブロック
M5X50-10.9 A2J (Trival
8
N901
N510017409AA
HEX. SOCKET HEAD CAP BOLT ロッカクアナツキボルト
M6X50-10.9 A2J (Trival
8
N902
N510017446AA
HEX. SOCKET HEAD CAP BOLT ロッカクアナツキボルト
M238
F10862-17-900-AA