BM123 Mechanical 20160307.pdf - 第37页
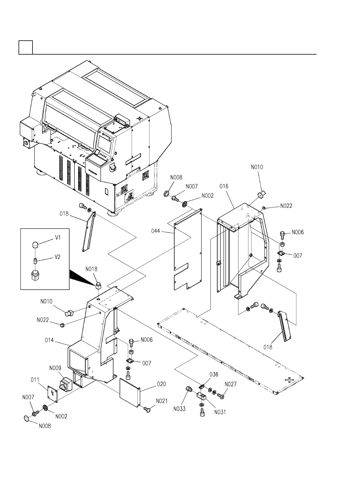
PART NAME REMARKS Q'TY 2 カバー部(2) COVER SECT. (2) イラスト No. REF No. PART No. 部 品 名 品 番 個数 備 考 R 1 R 2 2 007 1086212520 PLATE プレート 1 011 108620223602 BRACKET(SWIT CH) ブラケット(スイッチ) 1 014 N210048042AA FRONT COVER( LEFT…

カバー部(2)
COVER SECT.(2)
2
FN610031683AA_03-2
M11

PART NAME
REMARKS
Q'TY
2
カバー部(2)
COVER SECT.(2)
イラスト
No.
REF
No.
PART No.
部 品 名 品 番 個数 備 考
R
1
R
2
2007 1086212520
PLATE プレート
1
011 108620223602
BRACKET(SWITCH) ブラケット(スイッチ)
1
014 N210048042AA
FRONT COVER(LEFT) フロントカバー(LEFT)
1016 N210048044AA
REAR COVER(LEFT) リアカバー(LEFT)
2018 1086202519
GUIDE ガイド
1
020 108620252301
COVER カバー
1
036 1086202665
BRACKET ブラケット
1044 1086202279
SIDE COVER(LEFT) サイドカバー(LEFT)
5 External toothed Ste
14
N002
N510018765AA
TOOTHED LOCK WASHER ハツキザガネ
UST5-25
2
N006
N986UST525
BOLT ボルト
JB-AM5X8
14
N007
N986JBAM58
BOLT ボルト
M5X12
14
N008
N986YYYY-814
CAP キャップ
P1-32/EA/SVB-SW S
1
N009
N302P132-553
SWITCH スイッチ
M22-PV/K02 S
2
N010
N306M22PVK02
SWITCH スイッチ
APN122DNS-TK2310
1
N018
N222APN1-049
LAMP ランプ
M4X8-4.8 A2J (Trivalen
2
N021
N510018282AA
TRUSS HEAD SCREW トラスコネジ
C-30-SG-16A,WHITE
2
N022
N980C30S-034
GROMMET グロメット
EH0512 (Trivalent)
2
N027
N510024897AA
BOLT ボルト
D4NS-1BF S
1
N031
N510015338AA
SWITCH スイッチ
ST13.5
1
N033
KXF06F4AA00
JOINT ジョイント
APN106L-S PN05
1
V 1 N222APN1-050
LENS レンズ
LSTD-2S
1
V 2 N223LSTD2S
LED LED
M12
FN610031683AA_03-2

カバー部(3)
COVER SECT.(3)
2
FN610031683AA_03-3
M13