BM123 Mechanical 20160307.pdf - 第61页
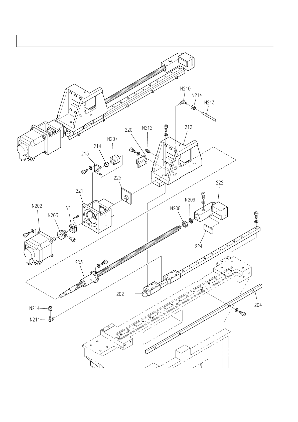
PART NAME REMARKS Q'TY 4 Y軸部( 本体部2) Y-AXIS SECT .(MAIN BO DY SECT.- 2) イラスト No. REF No. PART No. 部 品 名 品 番 個数 備 考 R 1 R 2 1 202 1086204202 LINEAR MOTIO N UNIT リニアモーションユニット 1 203 108620420304 BALL SCREW ボールネジ 1 204…

Y軸部(本体部2)
Y-AXIS SECT.(MAIN BODY SECT.-2)
4
F10862-04-200-AL_02-2
M35

PART NAME
REMARKS
Q'TY
4
Y軸部(本体部2)
Y-AXIS SECT.(MAIN BODY SECT.-2)
イラスト
No.
REF
No.
PART No.
部 品 名 品 番 個数 備 考
R
1
R
2
1202 1086204202
LINEAR MOTION UNIT リニアモーションユニット
1
203 108620420304
BALL SCREW ボールネジ
1
204 108620420401
PLATE プレート
1212 N210074032AA
JOINT(RIGHT) ジョイント(RIGHT)
1213 1080704481
BEARING WEIGHT ベアリングウエイト
1
214 1086204214
COLLAR カラー
1
220 108621422001
BRACKET ブラケット
1221 N210023694AA
BRACKET(MOTOR) ブラケット(モータ)
1222 N210023696AA
BLOCK ブロック
1
224 N210023790AA
STOPPER ストッパ
1225 1086204209
STOPPER ストッパ
HC-SFS102 S
1
N202
N606HCSFS102
MOTOR モータ
SFC-050SA2-17B-24B
1
N203
N510024077AA
COUPLING カップリング
7204ADFCP10
1
N207
N510003514AA
BEARING ベアリング
6003ZZ
1
N208
N510003167AA
BEARING ベアリング
FU03SS
1
N209
KXF0236AA00
LOCK-NUT ロックナット
106915
1
N210
N431106915
FITTING ツギテ
106916
1
N211
N431106916
FITTING ツギテ
A-MT6X1
1
N212
N560AMT6-130
GREASE NIPPLE グリースニップル
NYLON4
1
N213
N434SH0W-048
TUBE チューブ
PZ4
2
N214
N434PZ4
BAND バンド
RN20
1
V 1 N986RN20
LOCK-NUT ロックナット
M36
F10862-04-200-AL_02-2

Y軸部(配線配管部)
Y-AXIS SECT.(WIRING & PIPING SECT.)
4
F10862-04-400-AE_A
M37