00191828-01.pdf - 第291页
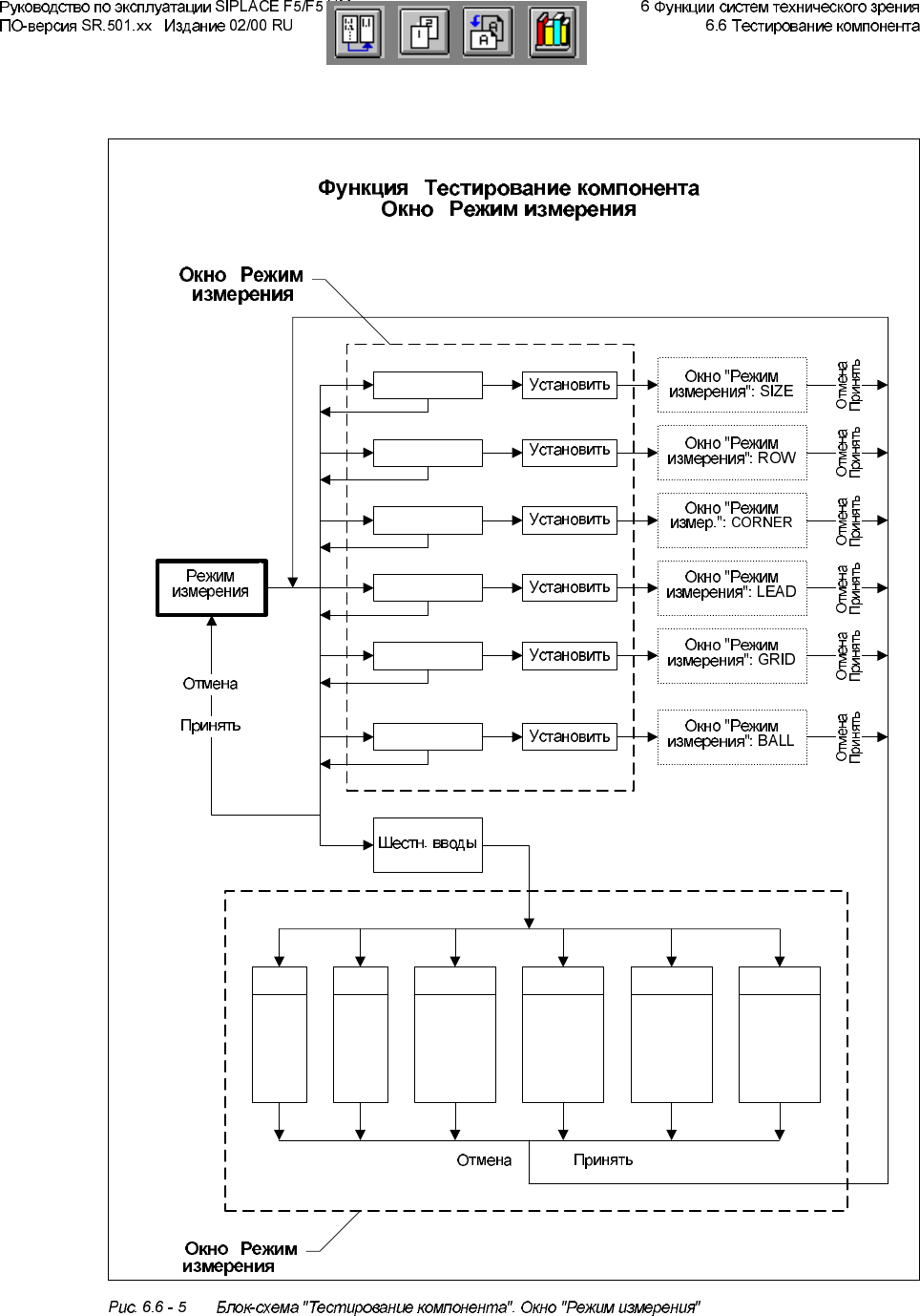
W , , W Menüoptionen 'Bauelement testen' Menü 'Meßmodus' SIZE ROW Meßmodus Einstellen Menü Meßmodus ROW Einstellen CORNER Menü Meßmodus CORNER Einstellen LEAD Menü Meßmodus LEAD Einstellen GRID…

W ,,W
Menü 'Bauelement testen'
Menü 'Gehäuseformdaten ändern'
Bauelement testen
GF geladen?
Ja
Abbruch
Gehäuseformdaten ändern
Beleuchtung
Nein
Menü
Gehäuseformauswahl
A
Gehäuse-
dimension
Bein-
dimension
Tabelle Ballabbildung Meßmodus
ESC
Verändern
von
GF-Daten
Videobild
ESC
Verändern
von
GF-Daten
Videobild
ESC
Verändern
von
GF-Daten
Videobild
ESC
Verändern
von
GF-Daten
Videobild
ESC
Siehe Menü-
optionen
BE testen,
Abb. 6.6-5
bis 6.6-8
Abbruch Übernehmen
Eingabebox
'Kontrastempfindlichkeit einstellen':
LUT-Programmierung
Daten übernehmen
Menü 'Bauelement testen'
Menü 'Gehäuseformdaten ändern'
Bauelement testen
GF geladen?
Ja
Abbruch
Gehäuseformdaten ändern
Beleuchtung
Nein
Menü
Gehäuseformauswahl
A
Gehäuse-
dimension
Bein-
dimension
Tabelle Ballabbildung Meßmodus
ESC
Verändern
von
GF-Daten
Videobild
ESC
Verändern
von
GF-Daten
Videobild
ESC
Verändern
von
GF-Daten
Videobild
ESC
Verändern
von
GF-Daten
Videobild
ESC
Siehe Menü-
optionen
BE testen,
Abb. 6.6-5
bis 6.6-8
Abbruch Übernehmen
Eingabebox
'Kontrastempfindlichkeit einstellen':
LUT-Programmierung
Daten übernehmen

W ,,W
Menüoptionen 'Bauelement testen'
Menü 'Meßmodus'
SIZE
ROW
Meßmodus
Einstellen
Menü
Meßmodus ROW
Einstellen
CORNER
Menü
Meßmodus CORNER
Einstellen
LEAD
Menü
Meßmodus LEAD
Einstellen
GRID
Menü
Meßmodus GRID
Einstellen
BALL
Menü
Meßmodus BALL
Einstellen
Hexeingabe
Menü
Meßmodus SIZE
Abbruch
Übernehmen
Abbruch
Übernehmen
Abbruch
Übernehmen
Abbruch
Übernehmen
Abbruch
Übernehmen
ROWSIZE
CORNER
LEAD GRID BALL
P1
P1a
P1
P2
P2a
P3
P1
P2
P3
P4
P5
P1
P1a
P2
P2a
P1
P2
P3
P3a
P1
P1a
P2
P3_5
Menü 'Meßmodus 2'
Abbruch
Übernehmen
Abbruch Übernehmen
Menü Meßmodus
Abbruch
Übernehmen

W ,,W
Menüoptionen 'Bauelement testen'
Menü 'Meßmodus SIZE'
Abbruch Übernehmen
Auflösung
in Integrationsrichtung
Niedrig
Mittel
Hoch
Sehr hoch
Auflösung
in Meßrichtung
Niedrig
Mittel
Hoch
Sehr hoch
Integrations-
richtung
Entlang der Breite
Entlang der Höhe
Auflösung
bei der Winkelberechnung
Niedrig
Mittel
Hoch
Sehr hoch
Methode für die
Rotationsberechnung
Automatische
Auswahl
SWIN-Methode
TWIN-Methode
Menü Meßmodus SIZE
'Integrationseinstellungen'
6,=(
6,=(