CM602 Mechanical parts20161226.pdf - 第245页
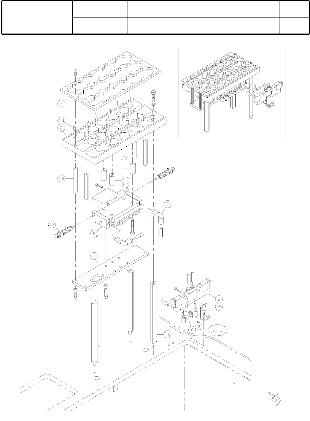
Ref No. Remark s R 1 Q'ty 9 ノズルチェン ジャ(多機能 ヘ ッ ド ) Nozzle Changer (Multi-Functional heads) イラスト No. Part No. 品 名 品番 数量 R 2 パーツリスト Kit N o . キット 品 番 Kit Name キット名称 KXFX036X A00 Part Nam e 備 考 セクションN o. PARTS LIST Sect…

9
ノズルチェン
ジャ(多機能
ヘ
ッ
ド
)
Nozzle Changer (Multi-Functional heads)
パーツレイアウト
Kit No.
キット品
番
Kit Name
キット名称
KXFX036XA00
セクションNo.
PARTS LAYOUT
Section No.
--
S39
( KKXFX036XA00-04 )

Ref
No.
Remarks
R
1
Q'ty
9
ノズルチェン
ジャ(多機能
ヘ
ッ
ド
)
Nozzle Changer (Multi-Functional heads)
イラスト
No.
Part No.
品 名品番 数量
R
2
パーツリスト
Kit N
o
.
キット品
番
Kit Name
キット名称
KXFX036XA00
Part Name
備 考
セクションNo.
PARTS LIST
Section No.
R
3
SHUTTER
1
1 KXFB02K9A00
HOLDER
1
2 N210002106AA
PLATE
1
3 KXFB02KBA00
CYLINDER
1
5 N610034897AA
VALVE
1
6 KXF0A3RAA00 VQZ1220-5MO-C4
JOINT
2
7 KXF02E8AA00 KQW04-M5
JOINT
1
8 KXF02C3AA00 KQL06-M5
SILENCER
2
9 KXF00WCAA00 AN120-M5
POST
3
10 KXF0DWQ3A01 LSBWRKT-12-150-1(DA KXF0DWQ3A01)
COLLAR
4
11 KXF0CY3AA00 ABSC4-12-23.0
SHOCK-ABSORBER
2
12 KXF0D32AA00
A
RB0805
PIN
20
13 KXF02XVAA00 MS3-10
COVER
1
14 KXFB02KXA00
BRACKET
1
15 KXFB02SWA00
POST
4
16 KXF0DWQ2A00 LSBFT-7-62.4(DDA)
S40
--
( KKXFX036XA00-04 )

10
CE
対
応コンベア
開
口
部
PHユニ
ッ
ト
Conveyer opening PH unit for CE
パーツレイアウト
Kit No.
キット品
番
Kit Name
キット名称
N610013518AA
セクションNo.
PARTS LAYOUT
Section No.
--
S41
( KN610013518AA-03 )