RS-1_RS-1-XL_RS-1R-Rev20.pdf - 第149页
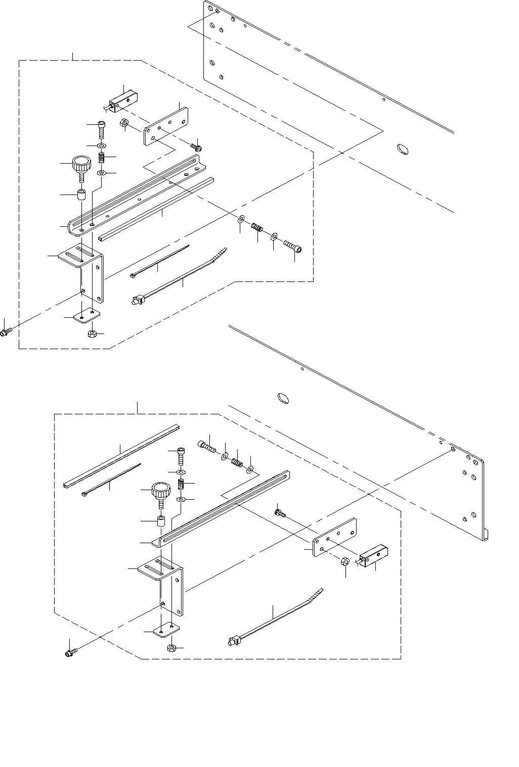
- 142 - REF.NO NOTE PART NO D E S C R I P T I O N 品 名 Qty 1 401-8858 8 LEFT SENSOR UNIT_R S-1 レフトセンサユニット_RS−1 1 2 401-4699 0 SENSOR_BR_A センサブラケット_A (1) 3 HX-004400 0-00 CABLE BAND 束線バンド (1) 4 401-4699 1 SENSOR_BR_B センサブラ…

- 141 -
71.PWB CONVEYOR COMPONENTS (15) (TYPE XL)
基板搬送関係(15)(XL 仕様)
32
3
17
1
33
33
31
16
15
30
25
26
11
11
7
19
26
26
25
24
23
22
20
21
26
11
11
10
10
22
9
7
8
4
2
27
12
6
28
27
18
13
12
29
14
5

- 142 -
REF.NO NOTE PART NO D E S C R I P T I O N
品 名
Qty
1 401-88588 LEFT SENSOR UNIT_RS-1
レフトセンサユニット_RS−1
1
2 401-46990 SENSOR_BR_A
センサブラケット_A
(1)
3 HX-0044000-00 CABLE BAND
束線バンド
(1)
4 401-46991 SENSOR_BR_B
センサブラケット_B
(1)
5 400-01079 SENSOR BRAKET C
センサブラケット C
(1)
6 400-01076 SENSOR SLIDE PLATE
センサスライドプレート
(1)
7 400-00912 SENSOR ADJUST SPRING
センサアジャストスプリング
(3)
8 G6518-880-000 SET PICK-UP
セットつまみ
(1)
9 400-58815 SPACER
スペーサ
(1)
10 SM-6041602-TN SCREW M4X16
六角穴ボルト M4X16
(3)
11 WP-0430801-SC WASHER M4
平座金 M4
(6)
12 NM-6040002-SE NUT M4X0.7
六角ナット M4X0.7 2種
(3)
13 401-29046 SIDE SENSOR CABLE ASM
サイドセンサケーブル組
(1)
14 SL-4031091-SC SCREW M3 L=10
座金付きなべ小ねじ M3 L=10
(2)
15 HX-0036700-0A GROMMET
エッジングブッシュ
(0.16)
16 EA-9500B00-00 CABLE BAND
結束バンド 60
(5)
17 401-88589 RIGHT SENSOR UNIT_RS-1
ライトセンサユニット_RS−1
1
18 400-01079 SENSOR BRAKET C
センサブラケット C
(1)
19 401-46991 SENSOR_BR_B
センサブラケット_B
(1)
20 401-46990 SENSOR_BR_A
センサブラケット_A
(1)
21 400-01076 SENSOR SLIDE PLATE
センサスライドプレート
(1)
22 400-00912 SENSOR ADJUST SPRING
センサアジャストスプリング
(3)
23 G6518-880-000 SET PICK-UP
セットつまみ
(1)
24 400-58815 SPACER
スペーサ
(1)
25 SM-6041602-TN SCREW M4X16
六角穴ボルト M4X16
(3)
26 WP-0430801-SC WASHER M4
平座金 M4
(6)
27 NM-6040002-SE NUT M4X0.7
六角ナット M4X0.7 2種
(3)
28 401-29046 SIDE SENSOR CABLE ASM
サイドセンサケーブル組
(1)
29 SL-4031091-SC SCREW M3 L=10
座金付きなべ小ねじ M3 L=10
(1)
30 HX-0036700-0A GROMMET
エッジングブッシュ
(0.16)
31 EA-9500B00-00 CABLE BAND
結束バンド 60
(5)
32 HX-0044000-00 CABLE BAND
束線バンド
(1)
33 SL-6031092-TN SCREW M3 L=10
座金付き六角穴ボルト M3 L=10
4

- 143 -
72.PWB CONVEYOR COMPONENTS (16) (TYPE XL)
基板搬送関係(16)(XL 仕様)
20
45
50
52
47
46
66
36
39
38
37
42
43
40
41
81
66
56
10
9
6
23
14
13
8
13
7
A
A
80
19
22
17
11
12
5
55
3
B
B
54
53
15
16
65
63
67
67
67
68
69
67
71
71
72
73
70
73
72
71
71
74
79
77
74
75
76
70
78
78
78
69
D
D
61
4
2
2
2
21
29
33
32
35
28
27
25
30
31
26
34
25
57
48
49
51
51
24
62
65
68
79
74
74
77
82
78
78
64
18
44
2
C
C
1
E
E
58
59
60