KE-3010A_KE-3020VA_KE-3020VRA-Rev14.pdf - 第105页
- - REF.NO NOTE PARTNO DESCRIPTION Qty 1 400-47171 LCDBRACKETR 1 2 SL-6041092-TN SCREWM4L=10 4 3 400-47170 LCDBRACKETF 1 4 SL-6041092-TN SCREWM4L=10 4 5 SD-0640246-SP HINGESCREWD=6.35H=2.4 2…

- -
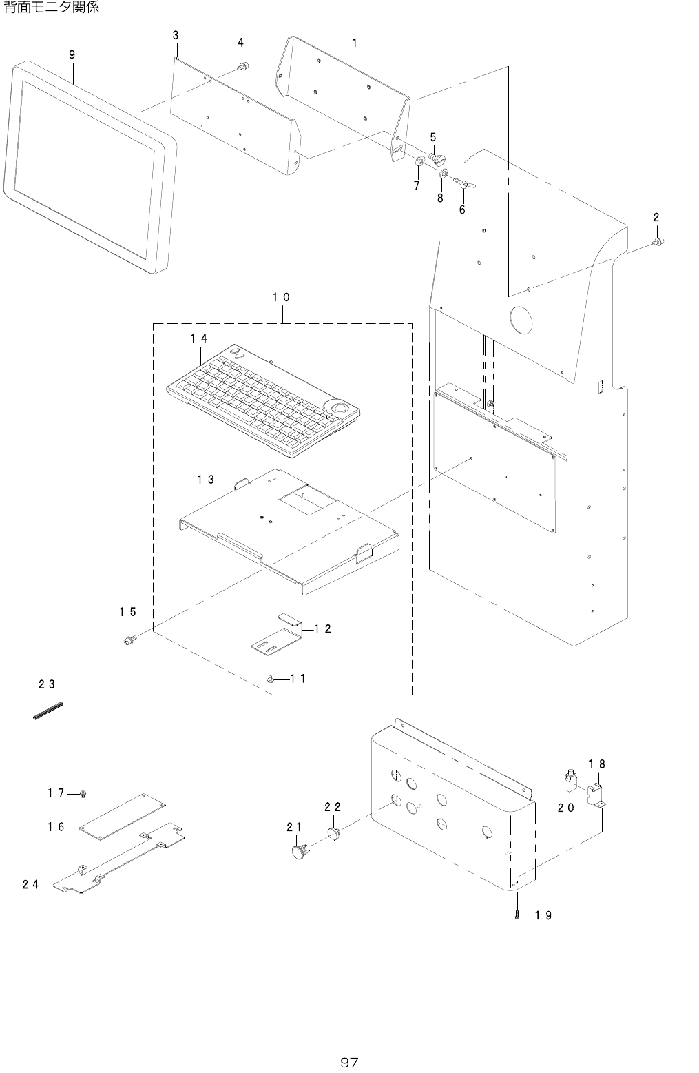
49.REARMONITORCOMPONENTS

- -
REF.NO NOTE PARTNO DESCRIPTION Qty
1 400-47171 LCDBRACKETR 1
2 SL-6041092-TN SCREWM4L=10 4
3 400-47170 LCDBRACKETF 1
4 SL-6041092-TN SCREWM4L=10 4
5 SD-0640246-SP HINGESCREWD=6.35H=2.4 2
6 161-87007 WINGBOLT 1
7 WP-0641601-SC WASHERM6 1
8 WS-0610002-KN SPRINGWASHERM6 1
9 401-58158 15INCHLCDMONITOR 1
10 401-47627 ASM_KEYBOARD_UNIT 1
11 SL-4030691-SC SCREWM3L=6 (2)
12 401-23713 KBCLAMP (1)
13 401-36976 KB_BRACKET (1)
14 401-23194 USBKEYBOARDSPASM (1)
15 SL-6041092-TN SCREWM4L=10 2
16 401-41515 USBSELECTPCBASM 1
17 SL-4030691-SC SCREWM3L=6 4
18 401-47142 SWITCH_PANEL_USB_CONN_BR 1
19 SL-4021091-SC SCREWM2L=10 2
20 401-48260 USBCABLE3M 1
21 HA-0055300-10 LENSGREEN 2
22 HA-0055300-2A BEZEL 2
23 E5348-033-100 CABLEPROTECTOR106MM 0.16
24 401-47576 USB_SELECTOR_BR 1

- -
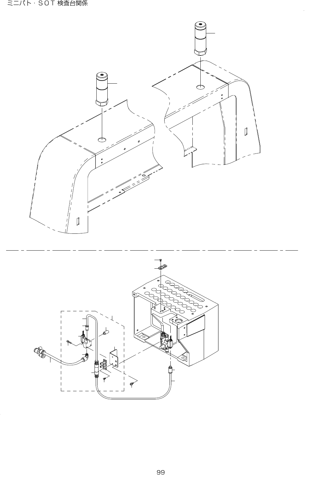
50.MINIPAT&SOTCHECKTABLECOMPONENTS
1
1
5
4
2
1 7
6
1 6
1 5
1 0
1 1
9
1 3
8
1 2
1 4
1 4
7
3