00195044-14_UM_VisionTeachStation_DE EN.pdf - 第22页
3 Bestellangaben und Lieferumfang Bedienungsanleitung Vision Teach Station 3.2 Kameras und Montagesätze Ausgabe 05/2015 22 (1) BE-Kamera, stationär , P&P , T yp 33, 55 x 45, digital, Artikel-Nr . 03016339-xx (2) Halt…

Bedienungsanleitung Vision Teach Station 3 Bestellangaben und Lieferumfang
Ausgabe 05/2015 3.2 Kameras und Montagesätze
21
HINWEIS 3
Die Abbildung 3.2 - 4 zeigt die Montageposition der BE-Kamera (Pos. 1) an der Vision Teach
Station. Am Bestückkopf ist die Kamera um die Horizontale und 180° gedreht.
3.2.3 Kamera-Typ 33 mit Montagesatz - Artikel-Nr. 03047372-xx
3
3
Abb. 3.2 - 5 Kamera-Typ 33 - Teile
3

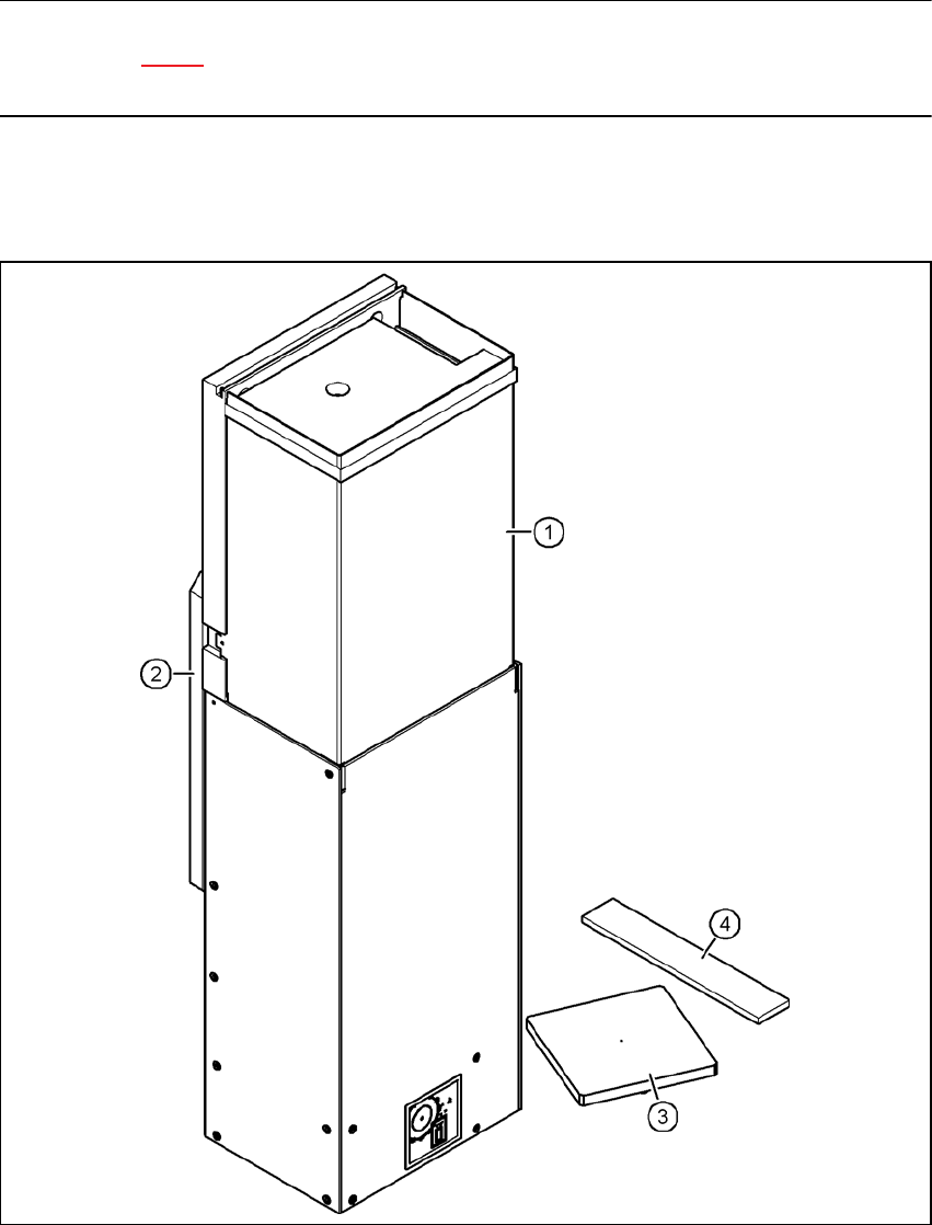
3 Bestellangaben und Lieferumfang Bedienungsanleitung Vision Teach Station
3.2 Kameras und Montagesätze Ausgabe 05/2015
22
(1) BE-Kamera, stationär, P&P, Typ 33, 55 x 45, digital, Artikel-Nr. 03016339-xx
(2) Halterung Kamera, Typ 33/36, Artikel-Nr. 03039467-xx
(3) BE-Auflage Kamera Typ 25/33/36 kpl., Artikel-Nr. 03039504-xx
(4) Einstellhilfe Fokuspunkt, Kamera Typ 33/36, Artikel-Nr. 03046391-xx
Kabelsatz Vision Teach Station stationär, Artikel-Nr. 03040355-xx
HINWEIS 3
Die Abbildung 3.2 - 5, Seite 21, zeigt die Montageposition der BE-Kamera (Pos. 1) an der Vision
Teach Station. Am Bestückautomaten ist die Kamera um die Horizontale um 180° gedreht. Es
können an der Vision Teach Station nur Bauelemente geteacht werden, die nicht größer als das
Gesichtsfeld der BE-Kamera sind (Einfachmessung). Mehrfachmessungen müssen am Automa-
ten durchgeführt werden. Die Orientierungserkennung asymmetrischer Gehäuseformen wird an
der Vision Teach Station nicht unterstützt.

Bedienungsanleitung Vision Teach Station 3 Bestellangaben und Lieferumfang
Ausgabe 05/2015 3.2 Kameras und Montagesätze
23
3.2.4 Kamera-Typ 28 mit Montagesatz - Artikel-Nr. 03047373-xx (Option)
3
3
Abb. 3.2 - 6 Kamera-Typ 28 - Teile
3
(1) BE-Kamera C&P12, Typ 28, 18 x 18, digital, Artikel-Nr. 03014449-xx
(2) Halterung Kamera, Typ 28/29, Artikel-Nr. 03039479-xx
(3) BE-Auflage, Kamera Typ 28/29 kpl., Artikel-Nr. 03039497-xx
(4) Einstellhilfe Fokuspunkt, Kamera Typ 28/29, Artikel-Nr. 03046390-xx
(5) Adapter Kopfkamera, Vision Teach Station, Artikel-Nr. 03044405-xx
HINWEIS 3
Die Abbildung 3.2 - 6 zeigt die Montageposition der BE-Kamera (Pos. 1) an der Vision Teach
Station. Am Bestückkopf ist die Montageposition der BE-Kamera um 180° um die vertikale
Achse gedreht.