STACK-STICK-FEEDER(MB)-Rev02PDFA.pdf - 第21页
- 18 - NOTE( 注記 ) #01....FOR 1SFS 1 SFS 用 #02....FOR 2SFS,2JFS 2 SFS,2 JFS 用 #03....FOR 3SFS,3LFS,3JFS 3 SFS,3 LFS,3 JFS 用 #04....FOR 4SFS,4LFS,4JFS 4 SFS,4 LFS,4 JFS 用 #05....FOR 5SFS 5 SFS 用 #06....FOR 6LFS 6 LFS 用 REF…

- 17 -
9. OPTION COMPONENTS
オプション関係
3
6
7
7
8
9
10
1
15
13
13
12
14
15
14
9
14
14
15
15
11
3
4
5
2
11
11
11
2
20
19
18
26
30
29
24
29
29
27
28
17
26
26
30
16
25
24
23
22
22
21
18
17
26
35
34
33
41
44
39
44
43
32
41
41
31
40
39
38
37
37
36
33
32
41
50
49
48
56
59
54
59
58
47
56
56
46
55
54
53
52
52
51
48
47
56
65
64
63
71
74
69
73
62
71
73
71
70
69
68
67
67
66
63
62
71
63
63
33
33
48
48
3
3
18
18
78
77
84
87
82
87
86
84
86
84
83
82
81
80
80
79
84
38
8
12
23
53
38
38
61 76
43
58
28
81
81
30
29
30
27
45
44
42
45
42
45
44
45
60
57
59
60
60
59
60
57
75
74
72
75
74
75
74
75
72
88
85
87
88
88
87
88
85

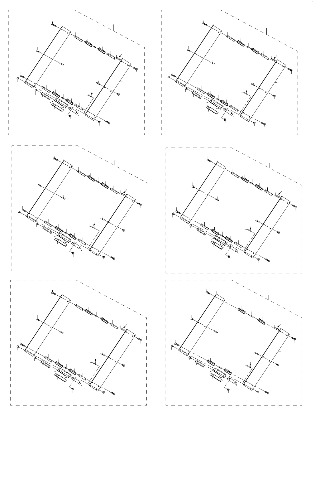
- 18 -
NOTE( 注記 ) #01....FOR 1SFS 1 SFS 用
#02....FOR 2SFS,2JFS 2 SFS,2 JFS 用
#03....FOR 3SFS,3LFS,3JFS 3 SFS,3 LFS,3 JFS 用
#04....FOR 4SFS,4LFS,4JFS 4 SFS,4 LFS,4 JFS 用
#05....FOR 5SFS 5 SFS 用
#06....FOR 6LFS 6 LFS 用
REF.NO NOTE PART NO D E S C R I P T I O N
品 名
Qty
1
#01
400-57303 MAGAZINE ASM
マガジン組
1
2 400-58036 MAGAZINE SUPPORT 1
マガジン サポート 1
(4)
3 400-58038 BOARD SPRING PLATE 1
ボード スプリング プレート 1
(4)
4 400-55080 SHUTTER GUIDE
シャッターガイド
(1)
5 400-55081 MAGAZINE FRAME(L)
マガジンフレーム(L)
(1)
6 400-55085 MAGAZINE FRAME(R)
マガジンフレーム(R)
(1)
7 400-55115 SHUTTER SUPPORT
シャッターサポート
(2)
8 400-55116 MAGAZINE SUPPORT
マガジンサポート
(2)
9 400-55117 CLAMP SHAFT
クランプシャフト
(2)
10 400-55118 SHUTTER
シャッター
(1)
11 400-55120 BOARD SPRING
ボードスプリング
(4)
12 SM-1030601-SC SCREW M3 L=6
皿ねじ M 3 X 0.5 L =6
(4)
13 RE-0200000-K0 E-RING
E 形止め輪 2
(4)
14 SM-1030401-SE SCREW M3 L=4
皿ねじ M 3 X 0.5 L =4
(8)
15 SM-1031201-SC SCREW M3X0.5 L=12
皿小ねじ M 3 X 0.5 L =12
(8)
16
#02
400-60680 MAGAZINE ASM 2
マガジン組 2
1
17 400-60310 MAGAZINE SUPPORT 2
マガジンサポート2
(4)
18 400-60338 BOARD SPRING PLATE 2
ボードスプリングプレート2
(4)
19 400-55080 SHUTTER GUIDE
シャッターガイド
(1)
20 400-55081 MAGAZINE FRAME(L)
マガジンフレーム(L)
(1)
21 400-55085 MAGAZINE FRAME(R)
マガジンフレーム(R)
(1)
22 400-55115 SHUTTER SUPPORT
シャッターサポート
(2)
23 400-55116 MAGAZINE SUPPORT
マガジンサポート
(2)
24 400-55117 CLAMP SHAFT
クランプシャフト
(2)
25 400-55118 SHUTTER
シャッター
(1)
26 400-55120 BOARD SPRING
ボードスプリング
(4)
27 SM-1030601-SC SCREW M3 L=6
皿ねじ M 3 X 0.5 L =6
(4)
28 RE-0200000-K0 E-RING
E 形止め輪 2
(4)
29 SM-1030401-SE SCREW M3 L=4
皿ねじ M 3 X 0.5 L =4
(8)
30 SM-1031201-SC SCREW M3X0.5 L=12
皿小ねじ M 3 X 0.5 L =12
(8)
31
#03
400-60681 MAGAZINE ASM 3
マガジン組 3
1
32 400-60320 MAGAZINE PLATE 3
マガジンプレート3
(4)
33 400-60339 BOARD SPRING PLATE 3
ボードスプリングプレート3
(4)
34 400-55080 SHUTTER GUIDE
シャッターガイド
(1)
35 400-55081 MAGAZINE FRAME(L)
マガジンフレーム(L)
(1)
36 400-55085 MAGAZINE FRAME(R)
マガジンフレーム(R)
(1)
37 400-55115 SHUTTER SUPPORT
シャッターサポート
(2)
38 400-55116 MAGAZINE SUPPORT
マガジンサポート
(2)
39 400-55117 CLAMP SHAFT
クランプシャフト
(2)
40 400-55118 SHUTTER
シャッター
(1)
41 400-55120 BOARD SPRING
ボードスプリング
(4)
42 SM-1030601-SC SCREW M3 L=6
皿ねじ M 3 X 0.5 L =6
(4)
43 RE-0200000-K0 E-RING
E 形止め輪 2
(4)
44 SM-1030401-SE SCREW M3 L=4
皿ねじ M 3 X 0.5 L =4
(8)
45 SM-1031201-SC SCREW M3X0.5 L=12
皿小ねじ M 3 X 0.5 L =12
(8)
46
#04
400-60682 MAGAZINE ASM 4
マガジン組 4
1
47 400-58037 MAGAZINE SUPPORT 4
マガジン サポート 4
(4)
48 400-58039 BOARD SPRING PLATE 4
ボード スプリング プレート 4
(4)
49 400-55080 SHUTTER GUIDE
シャッターガイド
(1)
50 400-55081 MAGAZINE FRAME(L)
マガジンフレーム(L)
(1)
51 400-55085 MAGAZINE FRAME(R)
マガジンフレーム(R)
(1)
52 400-55115 SHUTTER SUPPORT
シャッターサポート
(2)
53 400-55116 MAGAZINE SUPPORT
マガジンサポート
(2)
54 400-55117 CLAMP SHAFT
クランプシャフト
(2)
55 400-55118 SHUTTER
シャッター
(1)
56 400-55120 BOARD SPRING
ボードスプリング
(4)
57 SM-1030601-SC SCREW M3 L=6
皿ねじ M 3 X 0.5 L =6
(4)
58 RE-0200000-K0 E-RING
E 形止め輪 2
(4)
59 SM-1030401-SE SCREW M3 L=4
皿ねじ M 3 X 0.5 L =4
(8)
60 SM-1031201-SC SCREW M3X0.5 L=12
皿小ねじ M 3 X 0.5 L =12
(8)
61
#05
400-60683 MAGAZINE ASM 5
マガジン組 5
1
62 400-60336 MAGAZINE SUPPORT 5
マガジンサポート5
(4)
63 400-60337 BOARD SPRING PLATE 5
ボードスプリングプレート5
(4)
64 400-55080 SHUTTER GUIDE
シャッターガイド
(1)
65 400-55081 MAGAZINE FRAME(L)
マガジンフレーム(L)
(1)
66 400-55085 MAGAZINE FRAME(R)
マガジンフレーム(R)
(1)
67 400-55115 SHUTTER SUPPORT
シャッターサポート
(2)
68 400-55116 MAGAZINE SUPPORT
マガジンサポート
(2)
69 400-55117 CLAMP SHAFT
クランプシャフト
(2)
70 400-55118 SHUTTER
シャッター
(1)
71 400-55120 BOARD SPRING
ボードスプリング
(4)
72 SM-1030601-SC SCREW M3 L=6
皿ねじ M 3 X 0.5 L =6
(4)
73 RE-0200000-K0 E-RING
E 形止め輪 2
(4)
74 SM-1030401-SE SCREW M3 L=4
皿ねじ M 3 X 0.5 L =4
(8)
75 SM-1031201-SC SCREW M3X0.5 L=12
皿小ねじ M 3 X 0.5 L =12
(8)
76
#06
400-60684 MAGAZINE ASM 6L
マガジン組 6 L
1
77 400-55080 SHUTTER GUIDE
シャッターガイド
(1)
78 400-55081 MAGAZINE FRAME(L)
マガジンフレーム(L)
(1)
79 400-55085 MAGAZINE FRAME(R)
マガジンフレーム(R)
(1)
80 400-55115 SHUTTER SUPPORT
シャッターサポート
(2)
81 400-55116 MAGAZINE SUPPORT
マガジンサポート
(4)
82 400-55117 CLAMP SHAFT
クランプシャフト
(2)
83 400-55118 SHUTTER
シャッター
(1)
84 400-55120 BOARD SPRING
ボードスプリング
(4)
85 SM-1030601-SC SCREW M3 L=6
皿ねじ M 3 X 0.5 L =6
(4)
86 RE-0200000-K0 E-RING
E 形止め輪 2
(4)
87 SM-1030401-SE SCREW M3 L=4
皿ねじ M 3 X 0.5 L =4
(8)
88 SM-1031201-SC SCREW M3X0.5 L=12
皿小ねじ M 3 X 0.5 L =12
(8)

䢢
Notes