KE-3010A_KE-3010AC_KE-3020VA_KE-3020VRA-Rev07PDFA.pdf - 第135页
- 128 - NOTE( 注記 ) #01....TYPE E LIFTER 電動リフタ仕様 #02....ME BANK COMMON USE SPECIFICATIO N メカ電動バンク共用仕様 REF.NO NOTE PART NO D E S C R I P T I O N 品 名 Qty 1 401-474 49 B_LIF _FRAME_R バンクリフタフレームR 1 2 #02 401-10119 B_LIF_FRAME…

- 127 -
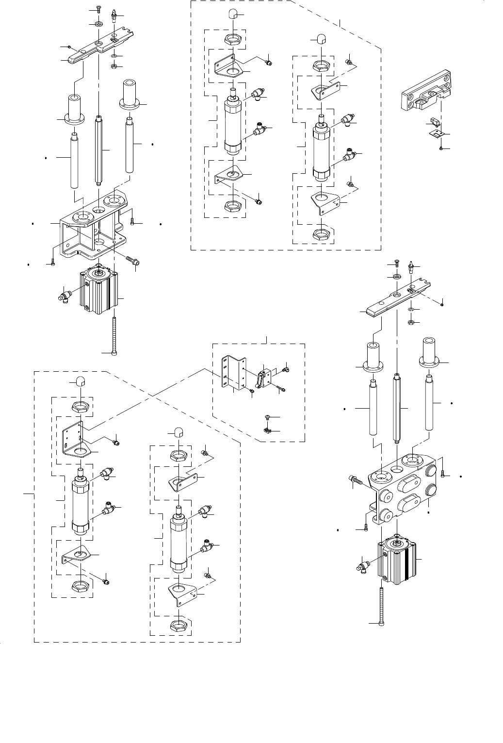
64.BANK LIFTER UNIT COMPONENTS
バンクリフタユニット関係
5
5
12
9
28
43
20
19
42
8
23
8 23
41
41
21
21
22
23
22
23
33
32
31
6
7
6
7
6
7
6
7
17
18
16
15
14
13
30
29
11
10
4
24
25
27
3
40
35
36
36
37
37
38
39
39
1 2
26
38
37
37
36
36
35
39
39
50
50
45
46
46
47
47
49
44
50
50
49
47
48
46
46
45
51
52
53
54
55
56
57
58
34

- 128 -
NOTE( 注記 ) #01....TYPE E LIFTER 電動リフタ仕様
#02....ME BANK COMMON USE SPECIFICATION メカ電動バンク共用仕様
REF.NO NOTE PART NO D E S C R I P T I O N
品 名
Qty
1 401-47449 B_LIF_FRAME_R
バンクリフタフレームR
1
2
#02
401-10119 B_LIF_FRAME_R
バンクリフタフレームR
1
3 PC-0152030-00 SPEED CONTROLLER
スピードコントローラ
2
4 400-93854 CYLINDER SCREW M8 L=125
シリンダねじ M8 L=125
4
5 SL-6083092-TN SCREW M8 L=30
座金付き六角穴ボルト M8 L=30
8
6 401-47453 LIFTER_SHAFT
リフタシャフト
4
7
#02
400-93838 LIFTER_SHAFT
リフタシャフト
4
8 SM-6051602-TN SCREW
六角穴ボルト
8
9 401-10295 LIF CYL SHAFT
リフタシリンダシャフト
1
10 E2622-729-000 LIFTER THRUST COLLAR
リフタスラストカラー
1
11 SM-1062052-TP SCREW M6 L=20
六角穴ボルト M6 L=20
1
12 401-47452 BANK_LIFTER_R
バンクリフタR
1
13 400-93840 BANK LOCATE PIN C2
バンクロケートピンC2
1
14 NM-6080003-SC NUT M8
六角ナット M8 3種
1
15 WS-0820002-KN SPRING WASHER M8
ばね座金 M8
1
16 SM-8060552-TP SCREW M6 L=5
止めねじ
2
17 401-47448 B_LIF_FRAME_L
バンクリフタフレームL
1
18
#02
401-10117 B_LIF_FRAME_L
バンクリフタフレームL
1
19 PC-0152030-00 SPEED CONTROLLER
スピードコントローラ
2
20 400-93854 CYLINDER SCREW M8 L=125
シリンダねじ M8 L=125
4
21 SB-8200003-00 BEARING
転がり軸受
2
22 SM-6051602-TN SCREW
六角穴ボルト
8
23
#02
SM-6051002-TN BOLT
六角穴ボルト
16
24 E2622-729-000 LIFTER THRUST COLLAR
リフタスラストカラー
1
25 SM-1062052-TP SCREW M6 L=20
六角穴ボルト M6 L=20
1
26 401-47451 BANK_LIFTER_L
バンクリフタL
1
27 SM-8060552-TP SCREW M6 L=5
止めねじ
2
28 400-93839 BANK LOCATE PIN B2
バンクロケートピンB2
1
29 NM-6080003-SC NUT M8
六角ナット M8 3種
1
30 WS-0820002-KN SPRING WASHER M8
ばね座金 M8
1
31 400-93849 SENSOR PLATE
センサプレート
1
32 SM-3040652-TN SCREW M4 L=6
丸ねじ M4 L=6
2
33 400-92511 SWITCH D3DC-3
スイッチD3DC−3
1
34
#01
401-47455 E_BANK_SUPPORT_UNIT
Eバンクサポート組
1
35 400-94347 CYLINDER CM2B40-75
シリンダ CM2B40−75
(2)
36 PC-0152030-00 SPEED CONTROLLER
スピードコントローラ
(4)
37 401-47479 CYLINDER_BR
シリンダブラケット
(4)
38 400-93842 LIFTER_SHAFT_HEAD
リフタシャフトヘッド
(2)
39 SL-6061292-TN SCREW
座金付き六角穴ボルト
(8)
40 PA-6307503-00 AIR CYLINDER
エアシリンダ
1
41 SB-8200003-00 BEARING
転がり軸受
2
42 PA-6307503-00 AIR CYLINDER
エアシリンダ
1
43 401-10295 LIF CYL SHAFT
リフタシリンダシャフト
1
44
#02
401-60005 E BANK SUPPORT UNIT
E バンクサポートユニット
1
45 400-94347 CYLINDER CM2B40-75
シリンダ CM2B40−75
(2)
46 PC-0152030-00 SPEED CONTROLLER
スピードコントローラ
(4)
47 401-47479 CYLINDER_BR
シリンダブラケット
(3)
48 401-11180 CYLINDER_BR_U
シリンダブラケット_U
(1)
49 400-93842 LIFTER_SHAFT_HEAD
リフタシャフトヘッド
(2)
50 SL-6061292-TN SCREW
座金付き六角穴ボルト
(8)
51
#02
401-14146 BANK_VALVE_ME_ASM
バンクバルブME組
1
52 401-11181 BANK_VALVE_BR_B
バンクバルブブラケットB
(1)
53 SL-6040892-TN BOLT
座金付き六角穴ボルト
(2)
54 PV-0105051-00 MECHANICAL VALVE
メカニカル バルブ
(1)
55 PJ-3040405-05 ELBOW
エルボユニオン
(2)
56 SL-6042592-TN SCREW
座金付き六角穴ボルト
(2)
57 HX-0029400-00 FIXED BASE
固定ベース
(1)
58 SM-4040801-SC SCREW M4X0.7 L=8
なべ小ねじ M4X0.7 L=8
(1)

- 129 -
65.M CHANGER TRUCK UNIT COMPONENTS
メカ交換台車ユニット関係
25
10
17
21
21
22
22
18
19
20
1
14
12
13
11
23
24
1
92
91
91
93
94
93
94
95
95
96
97
79
79
97
A
78
96
92
98
99
100
102
103
104
106
114
105
108
108
113
109
110
112
80
81
82
82
82
82
83
83
84
84
85
88
A
86
86
85
86
86
83
83
87
90
89
87
88
90
89
60
59
61
2
4
6
5
7
3
120
15
64
66
63
70
62
69
68
65
67
66
8
9
75
73
72
74
71
77
7
6
5
4
3
120
2
76
16
8 9
118
117
119
116
115
41
45
44
43
42
35
39
38
36
37
39
38
35
36
37
40
45
41
42
43
44
34
33
37
42
43
39
45
44
41
35
31
28 30
32
39
35
36
38
38
36
37
42
43
44
45
32
29 30
26 27
31
56
55
54
53
49
48
50
50
48
47
53
56
57
51
55
54
49
49
48
50
47
54
55
56
57
53
51
50
48
49
57
54
55
56
47
53
47
51
50
48
49
56
55
54
49
48
50
53
54
55
56
53
47
47
50
48
49
54
55
53
56
47
50
49
48
108
111
107
53
57
56
55
54
101
124
121
123
122
124
121
122
32
32
40
40
40
46
46
46
46
41
58
52
58
52
58
52
58
52
51
52
47
58
52
58
57
51
57
52
58
52
58
51
57
51
57
125
126
123
125
126
51