KE-3010A_KE-3010AC_KE-3020VA_KE-3020VRA-Rev07PDFA.pdf - 第97页
- 90 - NOTE( 注記 ) #01....FOR 3010A,3020VA 3010 A,3020 VA 用 REF.NO NOTE PART NO D E S C R I P T I O N 品 名 Qty 1 400-9742 2 COPLANARITY SENS OR コプラナリティセンサー 1 2 400-97624 COPLANARITY UNIT CPU ASM コプラナリティユニットCPU組 1 3 400-972…

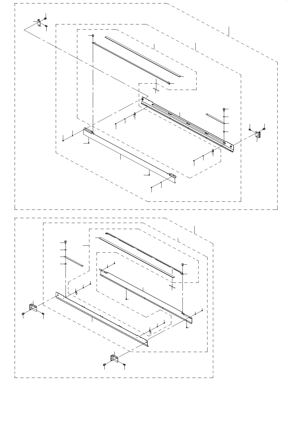
- 89 -
45.COPLANARITY UNIT
コプラナリティユニット
8
11
14
14
32
45
2
5
4
3
27
26
16
20
19
29
21
38
42
39
37
37
36
35
34
34
34
33
32
31
28
25
24
23
22
15
9
17
10
12
13
1
41
43
44
6
7
47
18
46
18
40
30

- 90 -
NOTE( 注記 ) #01....FOR 3010A,3020VA 3010 A,3020 VA 用
REF.NO NOTE PART NO D E S C R I P T I O N
品 名
Qty
1 400-97422 COPLANARITY SENSOR
コプラナリティセンサー
1
2 400-97624 COPLANARITY UNIT CPU ASM
コプラナリティユニットCPU組
1
3 400-97209 CPU BOARD
CPUボード
(1)
4 400-97878 DIMM 1GB
DIMM 1GB
(1)
5 401-09407 COPLA SSD BR
コプラSSDブラケット
(1)
6 400-97423 CPCI BACK BOARD
CPCIバックボード
1
7 SL-4851091-SC SCREW
座金付きねじ
4
8 400-99486 COPLANARITY SENSOR BASE ASM
コプラナリティセンサベース組
1
9 400-94694 COPLA HOLD BLOCK
コプラホールドブロック
(1)
10 400-94690 COPLA HOLD BASE
コプラホールドベース
(1)
11 SM-6051202-TN SCREW M5X0.8 L=12
六角穴ボルト M5X0.8 L=12
(3)
12 400-94691 COPLA BR R
コプラブラケット R
1
13 400-94692 COPLA BR L
コプラブラケット L
1
14 SL-6041092-TN SCREW
座金付き六角穴ボルト
4
15 SL-6061292-TN SCREW
座金付き六角穴ボルト
2
16 SM-4041001-SC SCREW M4X0.7 L=10
なべ小ねじ M4X0.7 L=10
2
17 SM-6062002-TN SCREW M6 L=20
六角穴ボルト M6 L=20
2
18 SL-4040891-SC SCREW M4 L=8
座金付きなべ小ねじ M4 L=8
4
19 E1038-871-000 PLATEN LOCK CAM SCREW
プラテン ロックカム スクリュウ
2
20 401-13994 COPLANARITY SENSOR PSU UNIT
コプラナリティセンサ電源ユニット
1
21 401-11658 COPLA POWER BOX BR
コプラ電源ボックスBR
(1)
22 E1038-871-000 PLATEN LOCK CAM SCREW
プラテン ロックカム スクリュウ
(2)
23 SL-4040891-SC SCREW M4 L=8
座金付きなべ小ねじ M4 L=8
(2)
24 HX-0029400-00 FIXED BASE
固定ベース
(4)
25 SM-4040601-SC SCREW M4X0.7 L=6
なべ小ねじ M4X0.7 L=6
(4)
26 HX-0057700-00 POWER SUPPLY
電源
(1)
27 HA-0052700-00 CIRCUIT PROTECTOR
サーキットプロテクタ
(1)
28 E5348-033-100 CABLE PROTECTOR 106MM
ブッシュ
(0.12)
29 400-98182 COPLA POWER BOX COVER
コプラ電源ボックスカバー
(1)
30 400-97434 COPLA MONITOR SWITCH BOARD
コプラモニタ切り替えボード
1
31 400-99488 APERTURE LABEL
開口部ラベル
1
32 401-14258 COPLA OPTIN PLATE
コプラオプションプレート
2
33 PH-0600282-U0 PARALLEL PIN
平行ピン
2
34 HX-0034400-00 HARNESS PARTS
束線パーツ
4
35 SL-6041292-TN SCREW
座金付き六角穴ボルト
1
36 NM-6040001-SC NUT M4X0.7 TYPE1
六角ナット M4X0.7 1種
1
37 400-99903 PILOT LAMP
パイロットランプ
2
38 EA-9500B02-00 CABLE BAND 150
結束バンド 150
20
39 E4595-855-000 VAC SPONGE
VACスポンジ
1
40 401-47570 COPLA_SELECT_PCB_BR
コプラセレクトPCBブラケット
1
41 SM-9082003-SC SCREW M8 L=20
六角ボルト
4
42 SL-4030691-SC SCREW M3 L=6
座金付きなべ小ねじ M3 L=6
4
43 WP-0841601-SC WASHER 8.4X17.4X1.6
平座金みがき丸 M8
4
44 WS-0820002-KN SPRING WASHER M8
ばね座金 M8
4
45 401-13714 KEY SWITCH CABLE ASM
キースイッチケーブル組
1
46
#01
401-47566 FMLA_BR
FMLAブラケット
1
47
#01
SL-6040892-TN SCREW M4 L=8
座金付き六角穴ボルト
2

- 91 -
46.FPI COMPONENTS(1)
FPI 関係(1)
22
41
40
40
42
42
41
23
28
38
35
37
36
32
33
34
32
33
34
31
29
30
39
26
27
26
26
26
27
25
24
1
7
3
20
19
21
11
13
12
12
13
11
18
2
8
9
10
6
5
5
5
6
5
4
17
16
15
14
19
21
20