KE-3010A_KE-3010AC_KE-3020VA_KE-3020VRA-Rev07PDFA.pdf - 第93页
- 86 - NOTE( 注記 ) #01....TYPE M M 仕様 #02....TYPE L L 仕様 REF.NO NOTE PART NO D E S C R I P T I O N 品 名 Qty 1 401-47024 AWC_MECHANIC_ASM_V 自動幅調メカニック組_ V 1 2 E1038-871-000 PLATEN LOCK CAM SCREW プラテン ロックカム スクリュウ (1) 3 400-00…

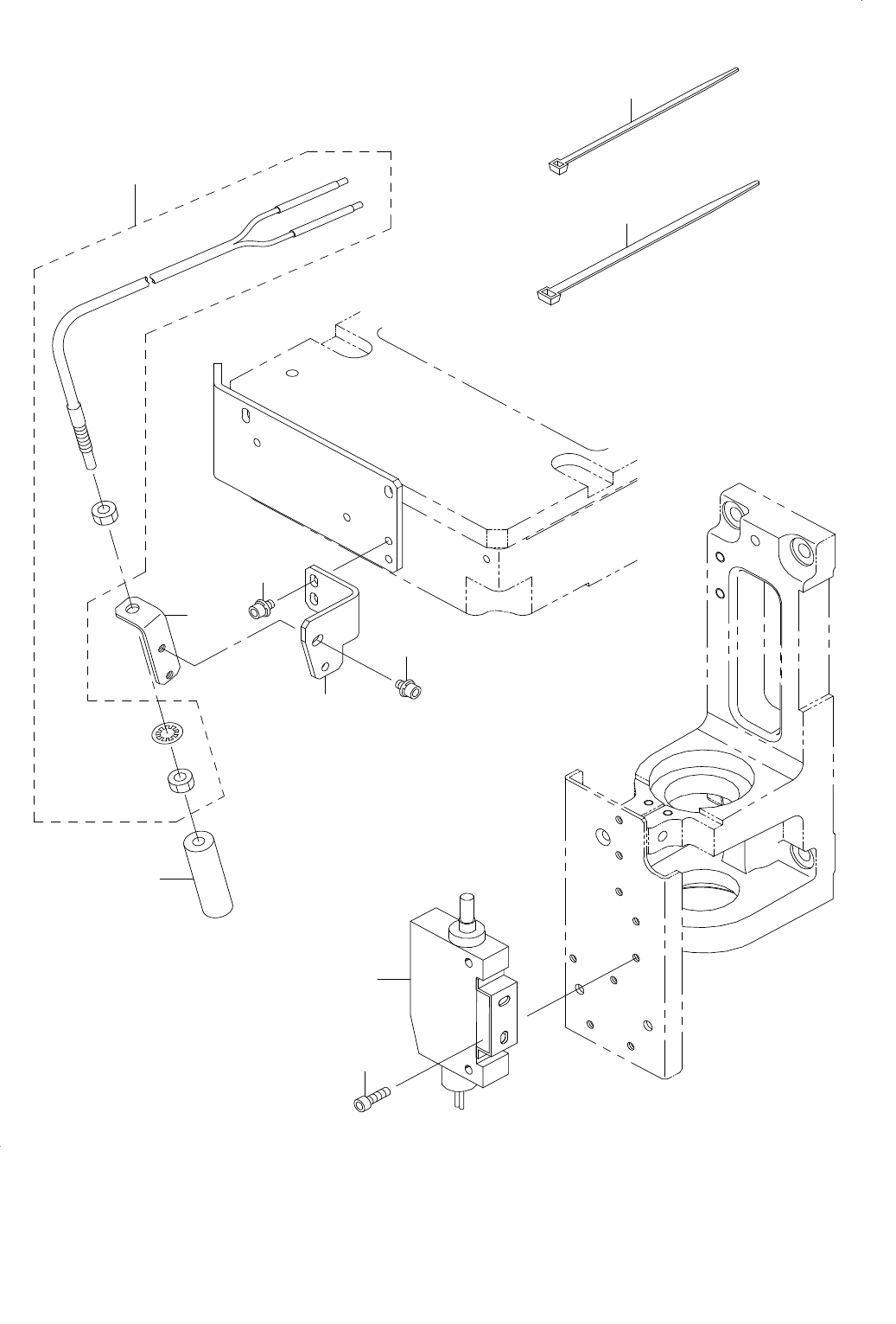
- 85 -
OPTION
オプション
43.AWC COMPONENTS
AWC 関係
37
36
35
34
34
33
32
32
31
29
18
27
17
6
3
10
28
22
1
30
23
16
9
8
5
7
20
4
19
26
2
25
11
12
15
14
13
12
15
38
24
21
11

- 86 -
NOTE( 注記 ) #01....TYPE M M 仕様
#02....TYPE L L 仕様
REF.NO NOTE PART NO D E S C R I P T I O N
品 名
Qty
1 401-47024 AWC_MECHANIC_ASM_V
自動幅調メカニック組_V
1
2 E1038-871-000 PLATEN LOCK CAM SCREW
プラテン ロックカム スクリュウ
(1)
3 400-00768 AWC PULLEY A ASM.
AWCプーリA組
(1)
4 E2153-725-000 AWC PULLEY A
AWCプーリA
(1)
5 SM-8040602-TP SCREW M4X0.7 L=6
止めねじ
(2)
6 400-00769 AWC PULLEY B ASM.
AWCプーリB組
(1)
7 E2154-725-000 AWC PULLEY B
AWCプーリB
(1)
8 SM-8040402-TP SCREW M4X0.7 L=4
止めねじ M4X0.7 L=4
(2)
9 SM-8040602-TP SCREW M4X0.7 L=6
止めねじ
(2)
10 LS-6030692-TN SCREW M3 L=6
座金付き六角穴ボルト M3 L=6
(2)
11 401-47054 SENSOR_BR_AWC
センサブラケット AWC
(2)
12 SL-6030892-TN SCREW M3 L=8
座金付き六角穴ボルトM3 L=8
(4)
13 401-29058 SEPARATE SENSOR EMISSION ASM
SEPARATE センサ投光組
(1)
14 401-29057 SEPARATE SENSOR RECEIVER ASM
SEPARATE センサ受光組
(1)
15 SL-4031291-SC SCREW M3X12
なべ小ねじセムス M3X0.5 L=12
(4)
16 400-48077 AWC MOTOR ASM
幅調モータ組
(1)
17 E2163-725-000 AWC BRACKET E
AWCブラケットE
(1)
18 E2160-725-000 AWC BELT (E)
AWCベルト(E)
(1)
19 E2161-725-000 AWC OP DOG (E)
AWC OP ドグ(E)
(1)
20 SL-6030692-TN BOLT
座金付き六角穴ボルト M3 L=6
(2)
21 401-47025 AWC_SENSOR_BR_B_E
AWCセンサブラケットB_E
(1)
22 SM-4030501-SN SCREW M3 L=5
なべ小ねじ M3X0.5 L=5
(1)
23 SL-6041292-TN SCREW
座金付き六角穴ボルト
(4)
24 SL-4031091-SC SCREW M3 X 10
なべ小ねじセムス
(2)
25 400-00534 BACK UP DRIV PLATE
バックアップDRIVプレート
(1)
26 SL-4041091-SC SCREW M4 L=10
なべ小ねじ セムス M4X0.7 L=10
(1)
27 EA-9500B01-00 CABLE BAND
束線バンド
(2)
28 HX-0052200-00 SPIRAL TUBE
スパイラルチューブ
(0.32)
29 400-65488 BU PIN SENSOR DOG
BUピンセンサドグ
(1)
30 SL-6051492-TN BOLT
座金付き六角穴ボルト
(2)
31
#01
401-47011 WAIT_SENSOR_BR_ML
ウェイトセンサBR_ML
(1)
32
#01
400-65488 BU PIN SENSOR DOG
BUピンセンサドグ
(2)
33
#01
401-47012 WAIT_SENSOR_BR_MR
ウェイトセンサBR_MR
(1)
34
#01
SM-4030501-SN SCREW M3 L=5
なべ小ねじ M3X0.5 L=5
(2)
35
#02
401-47013 WAIT_SENSOR_BR
ウェイトセンサBR
(2)
36
#02
400-65488 BU PIN SENSOR DOG
BUピンセンサドグ
(2)
37
#02
SM-4030501-SN SCREW M3 L=5
なべ小ねじ M3X0.5 L=5
(2)
38 401-29042 AWC/BU ORG SENSOR CABLE ASM
AWC/BU ORG センサワイヤー組
(1)

- 87 -
44.BAD MARK READER COMPONENTS
バッドマークリーダ関係
2
7
2
9
8
1
4
3
6
5