00195165-05_SM_D4_D4i_DE.pdf - 第160页
Servicearbeiten C&P12-Bestückkopf 4.5.9 Ventilst ellantrieb Abwurfkreis tauschen [00367768-xx] ( bis DLM3) 160 Serviceanle itung SIPLACE D4/D4i Ausbau Einbau 1. Ventilstellantrieb Bestückkreis [00368075-xx] 2. Ventil…

Servicearbeiten
4.5.9 Ventilstellantrieb Abwurfkreis tauschen [00367768-xx] (bis DLM3) C&P12-Bestückkopf
Serviceanleitung SIPLACE D4/D4i 159
4.5.9
4.5.9 Ventilstellantrieb Abwurfkreis tauschen [00367768-xx] (bis DLM3)
Ventilstellantrieb Abwurfkreis tauschen [00367768-xx] (bis DLM3)
Teile, Hilfsmittel und Werkzeug
▪ Gebräuchlich bis Version 2: Abstandslehre 0,2 mm [00325445-xx]
▪ Einstell-Ventilstößel Bestückkreis [03068816-xx]
Verfügbar ab Version 3, gültig für alle Versionen.
Vorbereitung
► Bauen Sie den Kopf aus der Maschine aus. Für den Aus- und Einbau des Bestückkopfes lesen Sie
die Serviceanleitung Ihrer Maschine.
► Anschließend schrauben Sie den Sicherungsgewin
-
destift mit einem Inbusschlüssel 0,89 mm fest. Halten
Sie dabei am Ventilstellantrieb dagegen. Durch
übermäßiges Anziehen könnten sie den Ventilstell
-
antrieb nach "Hinten" drücken.
► Entfernen Sie den Einstellstößel indem Sie den
Bestückstern zurück drehen und den Einstellstößel
drehend aus dem Ventilgehäuse entnehmen.
HINWEIS
Ventilstellantrieb Abwurfkreis nur bis DLM3
Ab Version DLM4 gibt es keinen Ventilstellantrieb Abwurfkreis mehr.
Einstell-Ventilstößel C&P6/12
1. Einstell-Ventilstößel Abwurfkreis C&P12 [03064290-
xx]
2. Einstell-Ventilstößel Bestückkreis C&P12
[03068816-xx]
3. Einstell-Ventilstößel Abwurfkreis C&P6 [03068854-
xx]
4. Einstell-Ventilstößel Bestückkreis C&P6 [03065628-
xx]
Die eingeprägten Beschriftungen auf den Stößeln haben
folgende Bedeutungen:
▪ 6 = C&P6
▪ 12 = C&P12
▪ P = Bestückkreis (Placement)
▪ R = Abwurfkreis (Reject)

Servicearbeiten
C&P12-Bestückkopf 4.5.9 Ventilstellantrieb Abwurfkreis tauschen [00367768-xx] (bis DLM3)
160 Serviceanleitung SIPLACE D4/D4i
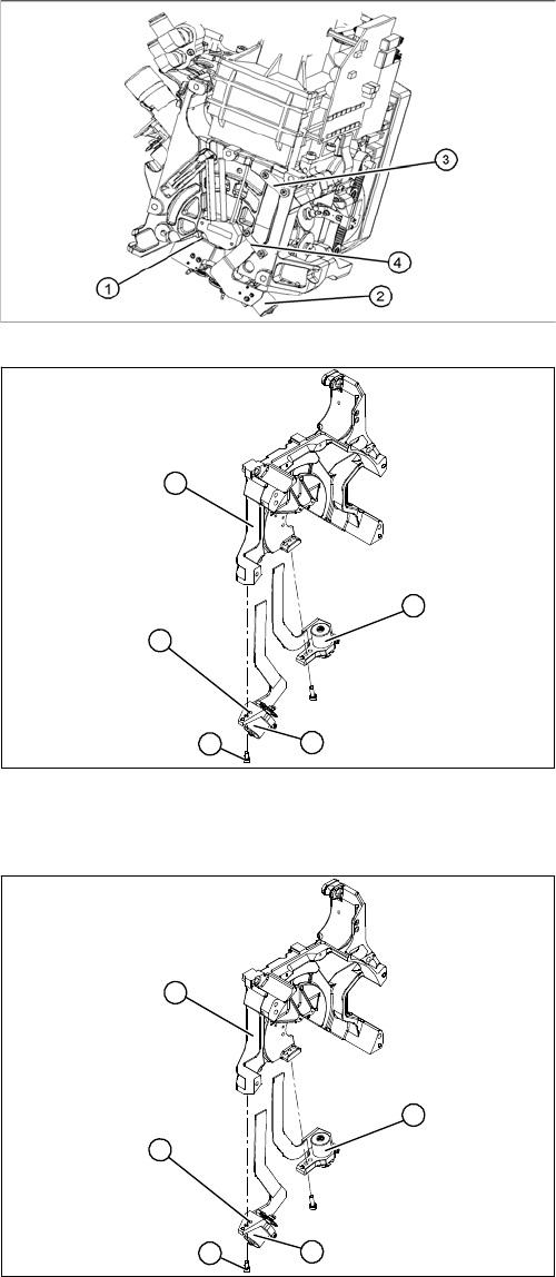
Ausbau
Einbau
1. Ventilstellantrieb Bestückkreis [00368075-xx]
2. Ventilstellantrieb Abwurfkreis [00367768-xx]
3. Flachbandkabelhalter
4. Flachbandkabelhalter
► Lösen Sie beide Kreuzschlitzschrauben der
Flachbandkabelhalter (3) und (4).
1. Ventilstellantrieb Bestückkreis [00368075-xx]
2. Ventilstellantrieb Abwurfkreis [00367768-xx]
► Lösen Sie die Befestigungsschraube (4).
► Ziehen Sie den Ventilstellantrieb (2) vorsichtig ab.
5
1
4
3
2
► Setzen Sie den Ventilstellantrieb ein. Achten Sie da
-
bei auf die Zylinderstifte (5).
► Ziehen Sie die Innensechskantschraube (4) nur lo
-
cker an.
► Fixieren Sie die Flachbandkabel mit den Kabelhal
-
tern. Achten Sie darauf, dass die Flachbandkabel
nicht gequetscht werden.
5
1
4
3
2

Servicearbeiten
4.5.9 Ventilstellantrieb Abwurfkreis tauschen [00367768-xx] (bis DLM3) C&P12-Bestückkopf
Serviceanleitung SIPLACE D4/D4i 161
► Der weitere Einbau erfolgt in umgekehrter Reihenfolge.
Sehen Sie dazu auch...
6.3.1 DLM-Kopf und -Kameras kalibrieren [ ➙ 208]
4.5.9.1
4.5.9.1 Neue Ventilstellantriebe (ab Version 03)
Neue Ventilstellantriebe (ab Version 03)
4.5.9.2
4.5.9.2 Mechanische Justage (bis Version 02)
Mechanische Justage (bis Version 02)
VORSICHT!
Kabelführung überprüfen!
Achten Sie auf die richtige Verlegung der
Flachbandkabel (1).
Das Flachbandkabel der beiden Ventilstelleinheiten
muss außerhalb der Bohrung (2) verlegt werden. An
-
dernfalls wird es bei der Montage des Kopfes beschädigt.
1
2
Neuer Ventilstellantriebhalter für die Abwurfposition
(DLM2/3) mit Positionssicherung
Diese Ventilstellantriebe ersetzen auch die bisherigen
Versionen am DLM2/3-Kopf.
Zur präziseren Ausrichtung und Einstellung der Antriebe
gibt es ein neues Hilfsmittel das die Distanzlehre 0,2 mm
[00325445-xx] ersetzt.
HINWEIS! Diese Halterung passt auch für den
Ventilstellantrieb an der Bestück- und der Abwurfposition
des DLM1-Kopfes. Daher ist ein zweites 1,4 mm-Gewin
-
de (1) auf der gegenüberliegenden Seite vorgesehen.
HINWEIS
Distanzlehre
Statt mit den Einstell-Ventilstößeln müssen DLM1- und können DLM2-Köpfe auch mit der Dis
-
tanzlehre eingestellt werden.