SP60P-L Mechanical.pdf - 第201页
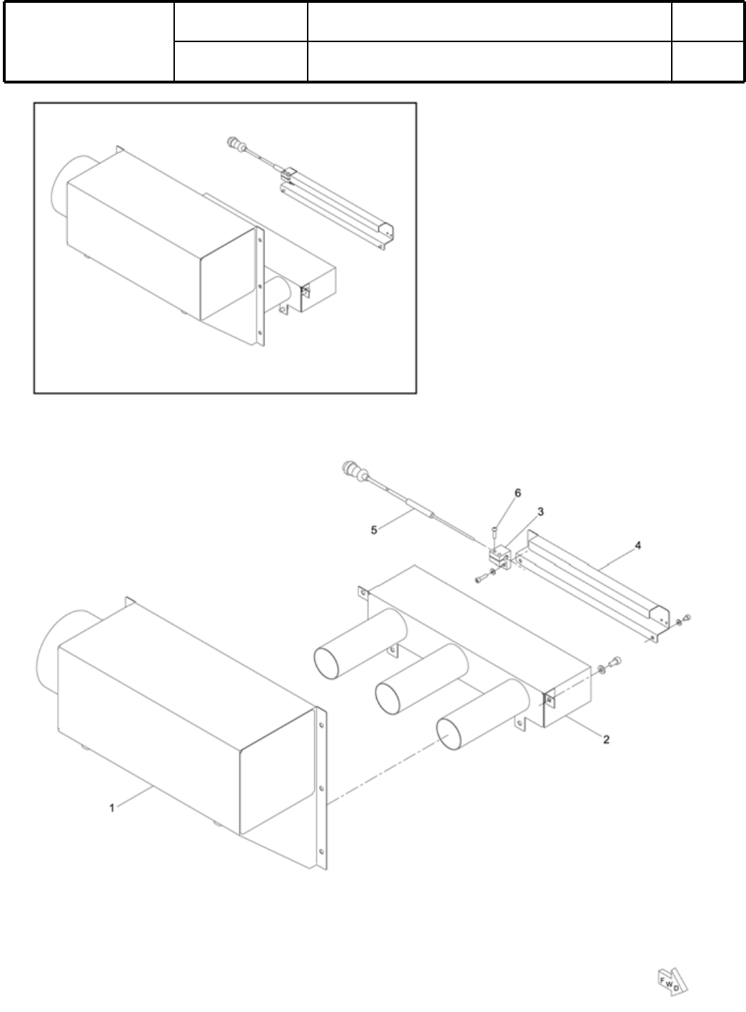
Ref No. Remark s R 1 Q'ty 13 雰 囲 気 温調ダクト(MPA-14A用) Atmospheri c T emperature Control Duct(MPA-14A) イラスト No. Part No. 品 名 品番 数量 R 2 パーツリスト Kit N o . キット品 番 Kit Name キット名称 N610043176AA Part Name 備 考 セクションNo. PARTS LIS…

13
雰
囲
気
温調ダクト(MPA-14A用)
Atmospheric Temperature Control Duct(MPA-14A)
パーツレイアウト
Kit N
o
.
キット品
番
Kit Name
キット名称
N610043176AA
セクションNo.
PARTS LAYOUT
Section No.
--
S33
( KN610043176AA-00 )

Ref
No.
Remarks
R
1
Q'ty
13
雰
囲
気
温調ダクト(MPA-14A用)
Atmospheric Temperature Control Duct(MPA-14A)
イラスト
No.
Part No.
品 名品番 数量
R
2
パーツリスト
Kit N
o
.
キット品
番
Kit Name
キット名称
N610043176AA
Part Name
備 考
セクションNo.
PARTS LIST
Section No.
R
3
CHAMBER
1
1 KXF0E0H2A00 HC40018B(DDA)
CHAMBER
1
2 N510023847AA HC40082
BRACKET
1
3 KXF0E0KRA00 HD10165(DDA)
COVER
1
4 KXF0E0H4A00 HD10101(DDA)
SENSOR
1
5 N510023848AA HC40076
BOLT
2
6 N510017519AA
Hexagon socket button head screw M4X15-10.9 A2J (Trivalent)
S34
--
( KN610043176AA-00 )

14
連結ブラケット(M)
Joint Bracket(M)
パーツレイアウト
Kit N
o
.
キット品
番
Kit Name
キット名称
KXFX03NRA00
セクションNo.
PARTS LAYOUT
Section No.
--
S35
( KKXFX03NRA00-00 )